151046 (621555)
Текст из файла
Тема проекта: "Усилитель постоянного тока "
Содержание
Введение
Анализ технического задания
Расчет усилителя постоянного тока
Моделирование работы усилителя
Выводы
Список использованных источников
Приложения
Введение
Несмотря на все более расширяющееся использование машинных методов схемотехнического проектирования современной электронной аппаратуры, в повседневной практике разработчикам электронных схем приходится вначале решать задачи приближенного расчета типовых узлов и устройств, а затем уточнять результаты расчета на ЭВМ или экспериментальным путем.
В данном курсовом проекте расчет усилителя постоянного тока также в начале будет производится без применения программного обеспечения, а затем схема моделируется на ЭВМ с целью проверки принятых решений и уточнения полученных результатов.
Таким образом, целью данного курсового проектирования является приобретение практических навыков конструирования электронных схем и опыта моделирования электронных схем на ЭВМ на примере разработки схемы усилителя постоянного тока с заданными в техническом задании параметрами.
Анализ технического задания
Напряжение на входе в режиме покоя Uвх=0 В; максимальное изменение напряжения входного сигнала ±ΔUвх=50 мВ; внутреннее сопротивление источника входного сигнала Ri=1000 Ом; выходная мощность Рвых=5 Вт; сопротивление нагрузки Rн=100 Ом; напряжение источника питания Uпит=±15 В.
Усилители постоянного тока предназначены для усиления сигналов, медленно меняющихся во времени, спектр которых содержит гармонические составляющие с частотой в плоть до ω = 0.
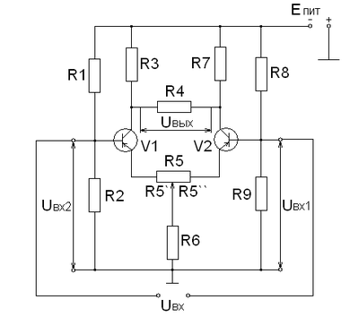
В данном курсовом проекте для уменьшения дрейфа в усилителе постоянного тока применил балансную (дифференциальную) схему. Наибольшее распространение получила схема параллельного баланса, представлена на рисунке приложения В, называемая также дифференциальным усилителем. Дифференциальный усилитель обеспечивает высокое усиление дифференциального входного сигнала Uвх. д, приложенного между входами каскада, и практически не усиливает синфазный сигнал, одинаковый на обоих входах.
Расчет усилителя постоянного тока
В результате расчета требуется определить режим работы каскада и данные элементов схемы.
Порядок расчета УПТ:
1. Выбираем тип транзистора. Критерием выбора для работы в схемах УПТ является минимальное значение обратного тока коллектора
, а также выполняется условие:
, (2.1)
где
- справочное данное транзистора;
- заданная величина, 15 В.
Из [4] был выбран транзистор типа МП-114, у которого
мкА и выполняется условие (2.1):
2. Находим коэффициент усиления каскада по напряжению:
, (2.2), где
(2.3)
,
,
- данные технического задания
(В)
3. В семействе выходных характеристик выбранного транзистора, представленные на рисунке 1.1 приложения А, выбираем рабочую точку Р. Для этого принимаем в режиме покоя:
;
, (2.4)
где
- справочное значение максимально допустимого максимального тока коллектора для выбранного транзистора.
(В)
(мА)
Теперь, когда мы имеем
и
, на семействе выходных ВАХ (приложение А), выбираем рабочую Р точку и находим графически величину тока базы
мА. После, зная ток базы, переходим на семейство входных ВАХ, при
, в данном случае
В, выбираем рабочую точку Р' и находим
В.
4. Проверяем правильность выбора рабочей точки. Мощность, рассеиваемая на коллекторе транзистора в режиме покоя
, не должна превышать максимально допустимой постоянной рассеиваемой мощности
выбранного транзистора:
, (2.5)
где
- данные технического задания.
5. Одним из возможных методов расчета транзисторных УПТ является расчет с помощью
- параметров транзистора
,
,
и
, каждый из которых имеет размерность проводимости. Так как в справочнике не были даны
- параметры транзистора, поэтому
- параметры будем рассчитывать графически, с помощью семейств входных и выходных ВАХ, при этом надо
учитывать соотношения:
при
;
при
; (2.6)
при
;
при
.
=0.0000075 [См],
=1.097225 [См],
=505 [См],
= 1.09723 [См].
6. После определения
- параметров транзистора, проверяем правильность выбора транзистора из условия:
; (2.7)
=
- в схеме, представлена в приложении В 448<564.2
Соотношение (2.7) выполняется, что говорит о том, что транзистор выбран правильно.
7. Находим величину сопротивлений резисторов, включенных в коллекторные цепи транзисторов (
на схеме в приложении В) по формуле:
; (2.8)
(Ом)
; (2.9),
(Вт)
Выбираем стандартное значение сопротивлений резисторов
и их тип из таблицы 1, которая представлена в приложении Б:
- МЛТ-0.25
8. Определяем ток, проходящий через резистор
:
; (2.10)
(А)
9. Находим величину сопротивления резистора
:
; (2.11)
(Ом)
Мощность, рассеиваемая на резисторе
, равна:
; (2.12)
(Вт)
Находим стандартный тип резистора
из таблицы 1 приложения Б: С2-15-0.5
10. Определяем сопротивление переменного резистора по формуле:
; (2.13)
(Ом)
11. Находим величины сопротивлений резисторов делителей напряжения
и
. Делитель напряжения, составленный из этих резисторов, обеспечивает устойчивость рабочих точек транзисторов по базовым цепям.
Поэтому токи делителей должны быть больше токов баз примерно в 5 раз.
Тогда
; (2.14)
(мА)
; (2.15)
(мА)
Величину сопротивления
находим по формуле:
; (2.16)
(кОм)
Мощность, рассеиваемая на резисторе
, равна:
; (2.17)
(Вт).
Находим
:
; (2.18).
(кОм)
Мощность:
; (2.19)
Теперь из таблицы 1 приложения Б выбираем стандартные резисторы
,
,
,
:
- МЛТ-0.125
- С2-23-0.125
12. Находим входное сопротивление каскада
без учета влияния сопротивлений делителя:
; (2.20)
(кОм)
13. Определим общее сопротивление
делителей между базами транзисторов:
; (2.21)
(кОм)
14. Находим результирующее входное сопротивление каскада
. Сопротивления
и
включены параллельно, поэтому:
; (2.22),
(кОм)
Полученное значение
должно быть больше или одного порядка с заданным внутренним сопротивлением
источника входного сигнала:
(2.23),
Данное соотношение выполняется, что свидетельствует о том, что в этом случае можно обойтись без дополнительного согласования источника входного сигнала с входным сопротивлением усилителя.
Моделирование работы усилителя
Программа Electronics Workbench предназначена для моделирования и проверки работы схем электрических принципиальных.
В программе Electronics Workbench собрал свой ранее рассчитанный каскад, представленный на рисунке 1.2 приложения В, и проверил его. Результат работы каскада представлен на рисунке 1.3 приложения Г.
Данный каскад успешно работает, так как происходит усиление сигнала, что видно по осциллограмме.
Выводы
Как показали расчеты и анализ работы схемы, спроектированный усилитель постоянного тока удовлетворяет требованиям технического задания. Но при практическом выполнении усилителя постоянного тока на транзисторах следует помнить, что на величину дрейфа коллекторного тока транзисторов сильно влияет технологический разброс параметров, доходящий в отдельных экземпляров транзисторов до ±100%, а также ползучесть - изменение параметров с истечением времени в результате старения транзисторов в процессе эксплуатации или хранения. Поэтому перед монтажом схемы транзисторы обязательно следует проверять на ползучесть и соответствие требуемым параметрам схемы. Транзисторы в балансных каскадах должны иметь параметры, различающиеся не более чем на 2 - 3%.
Во время работы над данным курсовым проектом были углублены знания по аналоговой электронике, в частности по усилителям постоянного тока. Были приобретены навыки работы с программой Workbench, моделирующей работу электрических цепей.
Список использованных источников
1. Титцев У., Шенк К. Полупроводниковая схемотехника: Справочное руководство. Пер. с нем. - : Мир, 2002 - 512с.
2. Гершунский Б.С. Справочник по расчету электронных схем. - Киев: Высшая школа, 2003 - 240с.
3. Расчет электронных схем. Примеры и задачи: учеб. пособие для вузов по спец. электрон. техн. / Г.И. Изъюров, Г.В. Королева, В.А. Тереков и др. - М.: Высш. Школа, 2007 - 335с.
4. Справочник по схемотехнике для радиолюбителя / В.П. Боровский, В.Н. Костенко, В.М. Михайленко, О.Н. Партола. - К.: Техника, 1987 - 432с.
5. Колонтаевский Ю.П., Сосков А.Г. Промышленная электроника и микросхемотехника: Теория и практикум. К. Киев, Каравелла. 2004 - 423с.
Приложения
Приложение А
Рисунок 1.1 - Входные и выходные ВАХ транзистор
Приложение Б
Таблица 1 - Основные параметры некоторых постоянных непроволочных резисторов
Приложение В
Рисунок 1.2 - Схема дифференциального каскада УПТ в режиме моделирования
Приложение Г
Рисунок 1.3 - Результат моделирования работы усилительного каскада
Рисунок 1.4 - Амплитудно-частотная характеристика проектируемого усилителя
Приложение Д
564>Характеристики
Тип файла документ
Документы такого типа открываются такими программами, как Microsoft Office Word на компьютерах Windows, Apple Pages на компьютерах Mac, Open Office - бесплатная альтернатива на различных платформах, в том числе Linux. Наиболее простым и современным решением будут Google документы, так как открываются онлайн без скачивания прямо в браузере на любой платформе. Существуют российские качественные аналоги, например от Яндекса.
Будьте внимательны на мобильных устройствах, так как там используются упрощённый функционал даже в официальном приложении от Microsoft, поэтому для просмотра скачивайте PDF-версию. А если нужно редактировать файл, то используйте оригинальный файл.
Файлы такого типа обычно разбиты на страницы, а текст может быть форматированным (жирный, курсив, выбор шрифта, таблицы и т.п.), а также в него можно добавлять изображения. Формат идеально подходит для рефератов, докладов и РПЗ курсовых проектов, которые необходимо распечатать. Кстати перед печатью также сохраняйте файл в PDF, так как принтер может начудить со шрифтами.
















