150579 (621294), страница 2
Текст из файла (страница 2)
Лазеры на квантовых ямах.
Квантовые структуры используются для создания лазеров. Уже сегодня эффективные лазерные устройства на квантовых ямах дошли до рынка и применяются в волоконно-оптических линиях связи. Для работы любого лазера необходимо создать инверсную населенность энергетических уровней. То есть, на более высоком уровне должно находиться больше электронов, чем на низком, в то время как в состоянии теплового равновесия ситуация обратная. Каждому лазеру необходим оптический резонатор или система зеркал, которая запирает электромагнитное излучение в рабочем объеме.
Для того чтобы квантовую яму превратить в лазер, нужно ее подсоединить к двум контактам, через которые электроны могут непрерывно поступать в рабочую область. Пусть через один контакт электроны поступают в зону проводимости. Далее, совершая скачки из зоны проводимости в валентную зону, они будут излучать кванты, то есть порции электромагнитного излучения (рис. 3). Затем через валентную зону носители тока должны уходить на другой контакт.
Рис. 3 - Энергетическая схема лазера на квантовой яме другой контакт
Частота излучения
определяется условием
(4),
где
и
– энергии первых энергетических уровней соответственно в зоне проводимости и валентной зоне, Eg – ширина запрещенной зоны.
Электромагнитное излучение, генерируемое лазером, нужно сконцентрировать в центральной, рабочей области прибора. Для этого показатель преломления внутренних слоев должен быть больше, чем внешних. Внутренняя область играет роль волновода. На границах этого волновода нанесены зеркала, которые образуют резонатор.
Лазеры на квантовых ямах обладают преимуществами по сравнению с обычными полупроводниковыми лазерами. Эти приборы можно перестраивать, управляя параметрами энергетического спектра. Так, при уменьшении размеров ямы минимальные энергии электронов
в зоне
проводимости и
в валентной зоне увеличиваются и, согласно формулам (3) и (4), частота, генерируемая лазером, возрастает. Подбирая толщину квантовой ямы, можно добиться, чтобы затухание волны в оптической линии связи, в которую поступает излучение, было минимальным. Лазеры на квантовых структурах очень экономны, они питаются меньшим током, чем другие полупроводниковые лазеры, и дают больше света на единицу потребляемой энергии – до 60% электрической мощности преобразуется в свет.
Глава 2. Квантовые проволоки, нити
2.1 Квантовые проволоки
Квантовыми проволоками называют структуры толщиной всего в один атом. Специалисты из исследовательского центра IBM Н.Д. Ланг и П. Авурис выполнили теоретический расчет проводимости квантовой проволоки, состоящей из атомов углерода. Согласно их вычислениям, проводимость квантовой проволоки при увеличении ее длины изменяется не монотонно, а колеблется. Она достигает максимумов для проволоки, состоящей из четного числа атомов, поскольку в этом случае больше число допустимых электронных состояний. В Японии. Х. Ониши и его коллеги из Токио создали квантовую проволоку из атомов золота между иглой сканирующего туннельного микроскопа и поверхностью золотого образца. При увеличении расстояния между иглой и поверхностью проволока становится длиннее и тоньше. Проводимость проволоки при ее растяжении изменялась скачками на квантовую единицу проводимости 2e2/h. Такое же скачкообразное изменение проводимости наблюдалось и в университете Лейдена (Нидерланды). Созданная там квантовая проволока представляла собой микроскопический мост между двумя концами надломленной золотой проволоки.
2.2 Особенности квантовых проволок
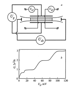
Одним из наиболее важных следствий получения одномерных баллистических каналов внутри гетероструктур GaAs-AGaAs и кремниевых сверхрешёток стало обнаружение квантования проводимости в зависимости от напряжения на затворе, управляющего шириной квантовой проволоки (рис. 4, а), которое проявляется в виде серии плато одномерной проводимости, разделенных ступенями величиной gsgve2/h; где gs и gv – спиновый и долинный факторы соответственно. Рост напряжения на затворе приводит к увеличению ширины квантовой проволоки, тем самым стимулируя заполнение большего числа подзон размерного квантования. При этом зависимость G(Vg) имеет ярко выраженный ступенчатый характер, так как кондактанс квантовой проволоки изменяется скачком каждый раз, когда уровень Ферми совпадает с одной из подзон размерного квантования:
,
где N-число заполненных подзон размерного квантования, которое соответствует номеру верхней заполненной одномерной подзоны квантовый проволоки.
Рис. 4 - Схема расщепленного затвора (при напряжении Ug), используемая для получения модулированных квантовых проволок внутри квантовых ям
Наблюдаемая величина ступенек квантованной проводимости, как правило, несколько меньше, чем
(рис.4,б), что может быть результатом влияния спиновой поляризации носителей в нулевом магнитном поле или нарушение когерентности по причине как электрон-электронного взаимодействия, так и рассеяния на примесных центрах. Остаточные примеси, распределенные вдоль границ квантовой проволоки, являются основой при создании внутренних барьеров, которые модулируют характеристики одномерного транспорта. Мощность подобных барьеров регулируется путем изменения напряжения на затворе, управляющего шириной квантовой проволоки, и особенно-с помощью дополнительных “пальчиковых” затворов (рис. 4, а), применяемых для применения квантовых точек между двумя соседними барьерами.
Напряжение Ug1 и Ug2 прикладываются к “пальчиковым” затворам, предназначенным для реализации квантовых точек; б-Квантованная проводимость G(Ug),обнаруженная при T=77 K для узкого одномерного канала
в самоупорядоченной кремниевой квантовой яме p-типа. Положение уровня Ферми соответствует заполнению одномерных подзон тяжелых дырок
2.3 Квантовые нити. Изготовление квантовых нитей
Технологи разработали несколько способов получения квантовых нитей. Эту структуру можно сформировать, например, на границе раздела двух полупроводников, где находится двумерный электронный газ. Это можно сделать, если нанести дополнительные барьеры, ограничивающие движение электронов еще в одном или двух направлениях. Квантовые нити формируются в нижней точке V-образной канавки, образованной на полупроводниковой подложке. Если в основание этой канавки осадить полупроводник с меньшей шириной запрещенной зоны, то электроны этого полупроводника будут заперты в двух направлениях.
Глава 3. Квантовые точки
3.1 Технология изготовления квантовых точек
Технологи разработали несколько способов получения квантовых точек. Эту структуру можно сформировать также как и квантовые нити, на границе раздела двух полупроводников, где находится двумерный электронный газ, или нанести дополнительные барьеры, ограничивающие движение электронов еще в одном или двух направлениях.
На рис. 5 показаны квантовые точки, созданные на границе раздела арсенида галлия и арсенида алюминия–галлия. В процессе роста в полупроводник AlGaAs были введены дополнительные примесные атомы. Электроны с этих атомов уходят в полупроводник GaAs, то есть в область с меньшей энергией. Но они не могут уйти слишком далеко, так как притягиваются к покинутым ими атомам примеси, получившим положительный заряд. Практически все электроны сосредоточиваются у самой гетерограницы со стороны GaAs и образуют двумерный газ. Процесс формирования квантовых точек начинается с нанесения на поверхность AlGaAs ряда масок, каждая из которых имеет форму круга. После этого производится глубокое травление, при котором удаляется весь слой AlGaAs и частично слой GaAs (это видно на рис. 5).
Рис. 5 - Квантовые точки, сформированные в двумерном электронном газе на границе двух полупроводников
В результате электроны оказываются запертыми в образовавшихся цилиндрах (на рис. 5 область, где находятся электроны, окрашена в красный цвет). Диаметры цилиндров имеют порядок 500 нм.
3.2 Особенность квантовых точек
В квантовой точке движение ограничено в трех направлениях и энергетический спектр полностью дискретный, как в атоме. Поэтому квантовые точки называют еще искусственными атомами, хотя каждая такая точка состоит из тысяч или даже сотен тысяч настоящих атомов. Размеры квантовых точек (можно говорить также о квантовых ящиках) порядка нескольких нанометров. Подобно настоящему атому, квантовая точка может содержать один или несколько свободных электронов. Если один электрон, то это как бы искусственный атом водорода, если два – атом гелия и т.д.
Кроме простого нанесения рисунка на поверхность полупроводника и травления для создания квантовых точек можно использовать естественное свойство материала образовывать маленькие островки в процессе роста. Такие островки могут, например, самопроизвольно образоваться на поверхности растущего кристаллического слоя.
В последнее время во многих лабораториях мира ведутся работы по созданию лазеров на квантовых точках.
Глава 4. Сверхрешётки
4.1 Сверхрешетки. Виды сверхрешеток
В последние годы возрастает интерес исследователей, инженеров, технологов к слоистым структурам, состоящим из различных полупроводниковых (полупроводниковые сверхрешетки) или магнитных (магнитные мультислои) материалов. Полупроводниковые сверхрешетки и магнитные мультислои имеют характерные размеры слоев 10 – 1000 Å и их принято называть наноструктурами. Кроме полупроводниковых сверхрешеток и магнитных мультислоев к наноструктурам можно отнести и ряд других материалов: фуллерены, пористые кремниевые трубки, некоторые биологические объекты. Различают полупроводниковые сверхрешетки, композиционные и легированные сверхрешетки.
Сверхрешеткой называется периодическая структура, состоящая из тонких чередующихся в одном направлении слоев полупроводников. Период сверхрешетки намного превышает постоянную кристаллической решетки, но меньше длины свободного пробега электронов. Такая структура обладает, помимо периодического потенциала кристаллической решетки, дополнительным потенциалом, обусловленным чередующимися слоями полупроводников, и который называют потенциалом сверхрешетки. Наличие потенциала сверхрешетки существенно меняет зонную энергетическую структуру исходных полупроводников.
4.2 Физические свойства сверхрешеток
Полупроводниковые сверхрешетки обладают особыми физическими свойствами, главные из которых следующие:
•существенное изменение в сравнении с исходными полупроводниками энергетического спектра;
•наличие большого числа энергетических зон;
•очень сильная анизотропия (двумерность);
•подавление электронно-дырочной рекомбинации;
•концентрация электронов и дырок в сверхрешетке является перестраиваемой величиной, а не определяется легированием;
•широкие возможности перестройки зонной структуры.
Все эти особенности полупроводниковых сверхрешеток позволяют считать эти искусственные структуры новым типом полупроводников.
4.3 Технология изготовления сверхрешеток
Композиционные сверхрешетки, представляют собой эпитакисально выращенные чередующиеся слои различных по составу полупроводников с близкими постоянными решетки. Исторически первые сверхрешетки были получены для системы полупроводников GаАs - АlxGa1-xАs[1] Успех в создании этой сверхрешетки был обусловлен тем, что Аl, имеющий такую же валентность и ионный радиус, что и Gа, не вызывает заметных искажений кристаллической структуры исходного материала. В то же время Аl способен создать достаточную амплитуду сверхрешеточного потенциала.
Рис. 6
По расположению энергетических зон полупроводников композиционные сверхрешетки разделяются на несколько типов. Полупроводниковая сверхрешетка GаАs - АlxGa1-xАs относится к сверхрешеткам I типа у которых минимум зоны проводимости Еc1и максимум валентной зоны Еv1 одного полупроводника по энергии расположены внутри энергетической щели другого (рис. 6, а). В сверхрешетках этого типа возникает периодическая система квантовых ям для носителей тока в первом полупроводнике, которые отделены друг от друга потенциальными барьерами, создаваемыми во втором полупроводнике. Глубина квантовых ям для электронов ΔЕС определяется разностью между минимумами зон проводимости двух полупроводников, а глубина квантовых ям для дырок - разностью между максимумами валентной зоны ΔЕv (рис. 6, а).















