150183 (621230), страница 3
Текст из файла (страница 3)
Зная полный ток нагрузки, находим ток кабеля.
Определим пропускной ток кабеля.
Выбираем наибольшее сечение кабеля, а по нему ближайшее стандартное и длительно допустимый ток по таблице.
S длит. доп. = 185 мм2, I длит. доп. = 310 А.
Найдем пропускной ток линии.
Рассчитаем активное сопротивление.
Находим коэффициент мощности.
Зная cos, находим при помощи калькулятора sin.
Рассчитаем потери напряжение.
Так как потери напряжения меньше пяти процентов значит кабель марки ААШВ-10-3(3185) выбран правильно и подходит по длительно допустимому току.
-
Выбираем марку и сечения второго кабеля.
Найдем полный ток нагрузки.
Определяем экономическое сечение кабеля.
Зная полный ток нагрузки, находим ток кабеля.
Определим пропускной ток кабеля.
Выбираем наибольшее сечение кабеля, а по нему ближайшее стандартное и длительно допустимый ток по таблице.
S длит. доп. = 240 мм2, I длит. доп. = 270 А.
Найдем пропускной ток линии.
Рассчитаем активное сопротивление.
Находим коэффициент мощности.
Зная cos, находим при помощи калькулятора sin.
Рассчитаем потери напряжение.
Так как потери напряжения меньше пяти процентов значит кабель марки ААШВ-10-2(3240) выбран правильно и подходит по длительно допустимому току.
-
Выбираем марку и сечения третьего кабеля.
Найдем полный ток нагрузки.
Определяем экономическое сечение кабеля.
Зная полный ток нагрузки, находим ток кабеля.
Выбираем наибольшее сечение кабеля, а по нему ближайшее стандартное и длительно допустимый ток по таблице.
S длит. доп. = 50 мм2, I длит. доп. = 105 А.
Найдем пропускной ток линии.
Рассчитаем активное сопротивление.
Находим коэффициент мощности.
Зная cos, находим при помощи калькулятора sin.
Рассчитаем потери напряжение.
Так как потери напряжения меньше пяти процентов значит кабель марки ААШВ-10-(350) выбран правильно и подходит по длительно допустимому току.
Выбираем марку и сечения четвертого кабеля.
Найдем полный ток нагрузки.
Определяем экономическое сечение кабеля.
Зная полный ток нагрузки, находим ток кабеля.
Выбираем наибольшее сечение кабеля, а по нему ближайшее стандартное и длительно допустимый ток по таблице.
S длит. доп. = 35 мм2, I длит. доп. = 85 А.
Найдем пропускной ток линии.
Рассчитаем активное сопротивление.
Находим коэффициент мощности.
Зная cos, находим при помощи калькулятора sin.
Рассчитаем потери напряжение.
Так как потери напряжения меньше пяти процентов значит кабель марки ААШВ-6-(335) выбран правильно и подходит по длительно допустимому току.
Выбираем марку и сечения пятого кабеля.
Найдем полный ток нагрузки.
Определяем экономическое сечение кабеля.
Зная полный ток нагрузки, находим ток кабеля.
Выбираем наибольшее сечение кабеля, а по нему ближайшее стандартное и длительно допустимый ток по таблице.
S длит. доп. = 16 мм2, I длит. доп. = 55 А.
Найдем пропускной ток линии.
Рассчитаем активное сопротивление.
Находим коэффициент мощности.
Зная cos, находим при помощи калькулятора sin.
Рассчитаем потери напряжение.
Так как потери напряжения меньше пяти процентов значит кабель марки АВВГ-1-(316+110) выбран правильно и подходит по длительно допустимому току.
-
Выбираем марку и сечения шестого кабеля.
Зная полный ток нагрузки, находим ток кабеля.
Определяем экономическое сечение кабеля.
Зная полный ток нагрузки, находим ток кабеля.
Выбираем наибольшее сечение кабеля, а по нему ближайшее стандартное и длительно допустимый ток по таблице.
S длит. доп. = 16 мм2, I длит. доп. = 55 А.
Найдем пропускной ток линии.
Рассчитаем активное сопротивление.
Находим коэффициент мощности.
Зная cos, находим при помощи калькулятора sin.
Рассчитаем потери напряжение.
Так как потери напряжения меньше пяти процентов значит кабель марки АВВГ-1-(316+110) выбран правильно и подходит по длительно допустимому току.
-
Выбираем марку и сечения седьмого кабеля.
Найдем полный ток нагрузки.
Определяем экономическое сечение кабеля.
Зная полный ток нагрузки, находим ток кабеля.
Выбираем наибольшее сечение кабеля, а по нему ближайшее стандартное и длительно допустимый ток по таблице.
S длит. доп. = 95 мм2, I длит. доп. = 155 А.
Найдем пропускной ток линии.
Рассчитаем активное сопротивление.
Находим коэффициент мощности.
Зная cos, находим при помощи калькулятора sin.
Рассчитаем потери напряжение.
Так как потери напряжения меньше пяти процентов значит кабель марки АВВГ-1-(395+135) выбран правильно и подходит по длительно допустимому току.
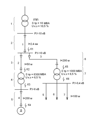
2.5 Расчет токов короткого замыкания.
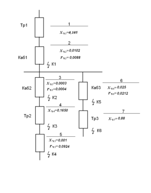
Построим схему замещения для расчета токов короткого замыкания.
За базисную мощность принимаем мощность трансформатора установленного на ГПП Sб = 16 МВА.
Здесь и далее по тексту формул использованы сокращения:
Sб - полная базисная мощность.
Iб - базисный ток.
U ном. - номинальное напряжение.
Xб - базисное индуктивное сопротивление.
rб - базисное реактивное сопротивление.
Определим базисные токи для всех точек короткого замыкания.
Для точек К1; К2; K5 базисные токи равны.
Для точек К3 и К4 базисные токи равны.
Для точки К6 базисные токи равны.
Определяем относительные базисные сопротивления для элементов расчетной схемы:
-
Для первого трансформатора учитывается только индуктивные сопротивления.
-
Для первой кабельной линии необходимо рассчитывать активные и индуктивные сопротивления.
-
Для второй кабельной линии необходимо рассчитывать активные и индуктивные сопротивления.
-
Для третей кабельной линии необходимо рассчитывать активные и индуктивные сопротивления.
-
Для второго трансформатора учитывается только индуктивные сопротивления.
-
Для четвертого кабельной линии необходимо рассчитывать активные и индуктивные сопротивления.
-
Для третьего трансформатора учитывается только индуктивные сопротивления.
Определяем суммарные относительные базисные сопротивления для точек К1, К2, К3, К4, К5, К6 и рассчитываем токи и мощности коротких замыканий в этих точках.
-
Точка К1.
Определяем индуктивное сопротивление.
Находим ток в точки К1.
Определяем мощность короткого замыкания.
Находим ударный ток.
-
Точка К2.
Определяем индуктивное сопротивление.
Рассчитаем активное сопротивление.
- значит, активное сопротивление необходимо учитывать.
Полное сопротивление будет находится так:
Находим ток в точке К2.
Определяем мощность короткого замыкания.
Находим ударный ток.
-
Точка К3.
Определяем индуктивное сопротивление.
Рассчитаем активное сопротивление.
- значит, активное сопротивление необходимо учитывать.
Полное сопротивление будет находится так.
Находим ток в точке К2.
Определяем мощность короткого замыкания.
Находим ударный ток.
-
Точка К4.
Определяем индуктивное сопротивление.
Рассчитаем активное сопротивление.
- значит, активное сопротивление не учитывается.
Находим ток в точке К2.
Определяем мощность короткого замыкания.
Находим ударный ток.
-
Точка К5.
Определяем индуктивное сопротивление.
Рассчитаем активное сопротивление.
- значит, активное сопротивление необходимо учитывать.
Полное сопротивление будет находиться так.
Находим ток в точке К2.
Определяем мощность короткого замыкания.
Находим ударный ток.
-
Точка К6.
Определяем индуктивное сопротивление.
Находим ток в точки К1.
Определяем мощность короткого замыкания.
Находим ударный ток.
2.6 Проверка выбранных кабелей на термическую устойчивость к токам короткого замыкания.
Минимальное сечение кабеля по термической устойчивости и токам короткого замыкания определяется по формуле.
- коэффициент термической устойчивости, для алюминия он равен двенадцати.
Iк - ток короткого замыкания в конце кабеля.
tn - приведенное время которое определяется по кривым.
tn = ( t, " ).
Так как точки короткого замыкания находятся на большом расстояние от источника питания то можно считать Iк = I = I" = In
" = 1
t - действительное время протекания тока короткого замыкания от момента возникновения до момента отключения короткого замыкания, это время состоит из времени срабатывания защиты и времени срабатывания выключателя.
t = tзащиты + tвык.
Защита должна быть выполнена по ступенчатому признаку, то есть каждая последующая защита, считая от потребителя к источнику питание должно быть больше по времени на ступень времени (t).
Примем t = 0,5 с.
Примем время срабатывания защиты первой ступени tзащ.1=0,5 с.
Ориентируясь на использование вакуумных высоковольтных выключателей примем собственное время срабатывания выключателя при отключение tвык. = 0,1 с, тогда действительное время первой ступени защиты будет t1 = tзащ. + tвык. = 0,5 + 0,1 = 0,6 с.
Время второй ступени защиты t2 = t1 + t + tвыкл.= 0,6+0,5+0,1=1,2с.
Действительное время третей защиты t3 = t2 + t + tвыкл. = 1.2+0.5+0.1=1.8 c.
Пользуясь кривыми для определения приведенного времени, находим его.
Для первой ступени tn1 = 0,68 с,
второй ступени tn2 = 0.92 с,















