150078 (621210), страница 3
Текст из файла (страница 3)
В отличие от компрессоров открытого типа поршневые кольца в мотор-компрессоре не применяют, а необходимое уплотнение поршня в цилиндре достигается благодаря малым (0,01...0,02 мм) зазорам между ними. Клапаны (всасывающий и нагнетательный) представляют собой упругие пластинки различной формы, изготовленные из тонкой (0,10...0,30 мм) высокоуглеродистой стали.
В связи с высокими требованиями, предъявляемыми к работе бытовых холодильников, в герметичных компрессорах на линиях всасывания и нагнетания возле головки цилиндра устанавливают глушители для снижения шума, создаваемого пульсирующими парами хладагента.
Отличительной особенностью герметичных компрессоров является также наличие упругой подвески компрессора и двигателя, значительно снижающей шум и вибрации при их работе. Вибрация мотор-компрессора передается на шкаф холодильника, поэтому находящаяся в камере посуда может дребезжать. Особенно усиливается вибрация в моменты остановок компрессора.
Наружная и внутренняя подвески
Для устранения вибраций шкафа мотор-компрессор подвешивают на пружинах.
Существуют два типа подвески:
-
наружная;
-
внутренняя.
При наружной подвеске компрессор и двигатель жестко закрепляют в кожухе, а кожух подвешивают на раме на пружинах или опирают на них. Количество пружин в подвеске бывает от двух до четырех. Для того, чтобы трубопроводы соединенные с кожухом не ломались при его колебаниях, и в то же время не препятствовали работе пружин, их делают с компенсационными витками. Во многих агрегатах с наружной подвеской мотор-компрессора имеются болты, при помощи которых можно на время транспортировки агрегата (холодильника) жестко закрепить мотор-компрессор на раме. При установке холодильника на месте его эксплуатации болты отвинчивают.
При внутренней подвеске компрессор с двигателем подвешивают на пружинах внутри кожуха, а кожух жестко закрепляют на раме. В этом случае мотор-компрессор более компактен и все его наружные части жестко соединены друг с другом.
Достоинства наружной подвески:
-
лучшие условия охлаждения обмоток статора благодаря хорошему тепловому контакту статора с кожухом. При внутренней подвеске условия охлаждения обмоток ухудшаются, так как статор не касается стенок кожуха и тепло от обмоток передается кожуху через пары хладагента, имеющие относительно плохую теплопроводность;
-
возможность устранения дефекта в случае нарушения крепления подвески и появления стука. При внутренней подвеске такая возможность исключается и холодильный агрегат приходится подвергать сложному ремонту.
Достоинства внутренней подвески:
-
меньший уровень шума работающего компрессора;
-
вибрации почти не передаются на кожух.
В последние годы внутренняя подвеска мотор-компрессора нашла широкое применение. Основной недостаток ее — ухудшение охлаждения обмоток — компенсируют устройством температуростойкой изоляции обмоток, допускающей повышенный нагрев.
Конструкция мотор-компрессора с наружной подвеской
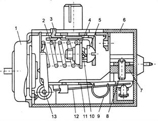
При наружной подвеске компрессор (рис. 5) и статор электродвигателя помещены в общий цилиндрический кожух и стянуты винтами. Кожух закрыт с двух сторон крышками, приваренными к металлическому цилиндру. В одну из крышек (со стороны статора) впаяны проходные контакты, через которые подается напряжение электросети двигателю, а также штуцер (или трубка заполнения), через который холодильный агрегат заполняют смазочным маслом и хладоном.
Кожух компрессора подвешен к раме на пружинах. Пружинная подвеска компрессора устраняет вибрации шкафа холодильника, потому что как бы ни был уравновешен мотор-компрессор, в периоды пуска и особенно останова двигателя возникают большие колебания.
В одних холодильных агрегатах кожух подвешен на трех или четырех пружинах, в других опирается на две пружины, расположенные по направлению продольной оси кожуха.
Наружную подвеску кожуха обычно делают регулируемой, что позволяет устранить дребезжание и снизить шум при работе холодильника. В зависимости от конструкции наружной подвески во многих холодильниках применяют устройства, позволяющие при транспортировке жестко прикреплять кожух компрессора к раме.
Проходные герметичные контакты
Электродвигатель мотор-компрессора холодильного агрегата питается через проходные герметичные контакты, установленные в крышке кожуха мотор-компрессора.
Рис. 6. Проходные контакты:
1 — корпус; 2 —токопроводящие стержни; 3 — стекло
Контакты представляют собой три токопроводящих стержня 2 (рис. 1), залитых специальным стеклом 3 в общий стальной корпус 1, приваренный к крышке кожуха. Стекло хорошо сцепляется с металлом и обеспечивает герметичность кожуха. Кроме того, стекло — хороший электроизолятор.
Расположение контактов бывает различным. Выходные концы обмоток электродвигателя присоединены к контактам внутри кожуха мотор-компрессора. Проходные контакты при изготовлении испытывают на электрическую прочность напряжением 1000 В, а также на прочность и плотность в воде давлением воздуха 1470 МПа в броневанне. Там же проверяют прочность кожуха мотор-компрессора после приварки крышек.
С внешней стороны кожуха на проходные контакты для соединения с электропроводкой агрегата надевают специальные съемные зажимы или колодки.
Датчик-реле температуры Т-130 (ТРХ)
Прибор смонтирован в пластмассовом корпусе 6 (рис. 3) и состоит из следующих основных частей: термочувствительной системы, узла настройки температуры замыкания контактов, механизма переключения контактов и колодки с контактной группой, выводными клеммами и винтом настройки дифференциала. Дифференциалом терморегулятора называют разность между температурой размыкания и замыкания контактов (при определенном натяжении основной пружины). Чем меньше дифференциал прибора, тем в более узких пределах будет поддерживаться заданная температура. В терморегуляторах бытовых холодильников этот узел используют только для заводской регулировки прибора. Во многих конструкциях терморегуляторов он отсутствует. Дифференциал изменяют при помощи винта, который, являясь ограничителем для перемещения силового рычага, приближает или удаляет момент перебрасывания перекидной пружиной рычага с подвижным контактом.
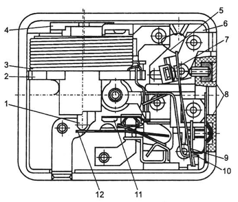
Рис. Датчик-реле температуры Т-130:
1 — термосистема, 2 — пружина, 3 — ползун, 4 — гайка, 5 — регулировочные винт, 6 — корпус, 7 — колодка, 8 — регулировочные винт, 9 — перебрасывающая пружина, 10 — контровочная пружина, 11 — рычаг, 12 — рычаг, 13 — ось
Упругим элементом термочувствительной системы является сильфон. Узел настройки температуры включения контактов состоит из пружины 2, ползуна 3, гайки 4, регулировочного винта 5 и контровочной пружины 10.
Зону нечувствительности настраивают регулировочным винтом 8, установленным в колодке 7. Механизм переключения контактов состоит из рычага 12, оси 13, рычага 11 и перебрасывающейся пружины 9.
Прибор работает следующим образом. Сильфон термочувствительной системы 1 воздействует на двуплечий рычаг, шарнирно закрепленный на оси 13. В режиме термостатирования рычаг, вращаясь под действием усилий термосистемы и пружины 2, через пружину 9 и рычаг 12 замыкает или размыкает контакты.
При повышении температуры контролируемой среды контакты замыкаются, при понижении температуры на величину зоны нечувствительности — размыкаются.
При наиболее холодном режиме ручка прибора повернута по часовой стрелке до упора, при среднем на 125°, а при наиболее теплом на 250° против часовой стрелки. Средний режим и режим "Тепло" устанавливают по рискам на корпусе прибора. При повороте ручки против часовой стрелки до упора на 320° от наиболее холодного режима происходит принудительное размыкание контактов.
Прибор можно устанавливать как в камере холодильника, так и снаружи в местах, исключающих попадание воды внутрь прибора при эксплуатации. Длина контакта капиллярной трубки со стенкой испарителя должна быть не менее 120 мм.
Датчик-реле температуры Т-130 предназначен для поддержания заданной температуры испарителя холодильной камеры двухкамерного холодильника путем замыкания и размыкания электрической цепи холодильного агрегата.
Пускозащитное реле
Для запуска электродвигателя и защиты его обмоток от перегрузок в бытовых холодильниках применяют комбинированные пускозащитные реле.
Пускозащитное реле типа ДХР устанавливают на специальной площадке, приваренной к раме мотор-компрессора, и закрепляют скобой. Контакты пускового реле находятся в разомкнутом состоянии под действием упругой пластинки, к которой прикреплен якорь с подвижным контактом. Резкое размыкание контактов защитного реле (чтобы предотвратить их подгорание) обеспечивается небольшим постоянным магнитом, закрепленным на корпусе реле под биметаллической пластинкой. Наличие магнита способствует также увеличению времени выдержки контактов в разомкнутом положении (для лучшего охлаждения обмоток выключенного двигателя).
Винтовые зажимы для присоединения проводов расположены на задней стенке реле и обозначены цифрами. К зажимам 1, 2 и 3 (рис. 8) присоединяют провод от проходных контактов кожуха мотор-компрессора (от обмоток электродвигателя), к зажимам 4 и 5-соединительный шнур с вилкой для включения холодильника в сеть, а также провода от электропатрона и выключателя лампы освещения холодильной камеры. К зажиму 4 присоединяют провод от терморегулятора.
Рис. 8. Схема пускозащитного реле типа ДХР:
1,2,3 — зажимы контактов проводов; 4, 5 — зажимы контактов соединительного шнура
Реле РТП-1 в зависимости от модификации устанавливают в нижней части рамы агрегата или непосредственно на проходных контактах на крышке кожуха компрессора и закрепляют специальной скобой. Электропровода надежно соединяют с зажимами реле и терморегулятора при помощи съемных наконечников.
Рис. Реле РТП-1
1 — сердечник, 2 — корпус катушки, 3 — катушка, 4 — фетровая прокладка,
5 — перекидная пружина, 6 — корпус, 7 — контакты теплового реле, 8 — регулировочные винты, 9 — биметаллическая пластина, 10 — нагревательная спираль,
11 — неподвижный контакт пускового реле, 12 — пластины неподвижного контакта пускового реле
Тепловое реле состоит из нагревательной стирали 10 (рис. 9), соединенной с биметаллической пластиной 9, контактов 7, последовательно включенных в цепь электродвигателя. Пусковое реле электромагнитного типа состоит из катушки 3 с сердечником 1, который своей массой, нажимая на пластину 12 неподвижного контакта, удерживает контакты в разомкнутом положении. Неподвижный контакт 11 закреплен на корпусе реле. Обмотка катушки 3 пускового реле включена последовательно в цепь рабочей обмотки электродвигателя. При правильно отрегулированном реле запуск электродвигателя происходит в течение 1-2 с.
Пусковое реле работает следующим образом. При включении электродвигателя, когда ротор неподвижен, по катушке реле проходит ток (большой силы) короткого замыкания. Образующийся при этом магнитный поток втягивает сердечник, в результате чего контакты реле замыкаются и включают пусковую обмотку. Обычно контакты пускового реле разомкнуты. По мере того как ротор электродвигателя увеличивает частоту вращения, пусковой ток падает и сердечник, возвращаясь в первоначальное положение, размыкает контакты, отключая пусковую обмотку.
Принцип работы пускозащитного реле заключается в следующем. Нагревательная спираль 10, последовательно соединенная с биметаллической пластиной 9 и с размыкающими контактами 7, включена в цепь рабочей обмотки электродвигателя. Реле включено с таким расчетом, чтобы при включении пусковой обмотки через нагревательную спираль проходил суммарный ток обеих обмоток. При рабочем токе контакты реле остаются замкнутыми. При повышении силы тока нагревательная спираль воздействует на биметаллическую пластину, заставляя ее изгибаться, при этом контакты размыкаются и электродвигатель останавливается. При остывании биметаллическая пластина приобретает нормальное положение, контакты реле замыкаются и включается электродвигатель агрегата.
Проводка















