146921 (621156), страница 2
Текст из файла (страница 2)
Розрахунок зведеного коефіцієнта теплопровідності:
Зведений коефіцієнт теплопередачі огорожі кузова вагона, Вт/м2∙К:
, (2.3)
де
− коефіцієнт теплопередачі іго елемента огорожі кузова вагона, Вт/м2∙К
− площа іго елемента огородження кузова вагона, м.
Вт/м2∙К.
Підлога, стіни, дах вагона мають містки, які утворені балками, стійками, тому розрахунковий зведений коефіцієнт теплопередачі огорожі кузова вагона складає, Вт/м2∙К:
; (2.4)
Вт/м2∙К
Згідно з ГОСТ
не повинне перевищувати 1,105 Вт/м2∙К для пасажирських вагонів.
3. ТЕПЛОТЕХНІЧНИЙ РОЗРАХУНОК ВАГОНА ТА ВИЗНАЧЕННЯ ХОЛОДОПРОДУКТИВНОСТІ ХОЛОДИЛЬНОЇ МАШИНИ
Теплотехнічний розрахунок вагона дозволяє визначити кількість тепла, яке надходить до приміщення вагона у літній період.
Теплонадходження крізь огорожу кузова вагона, Вт:
, (3.1)
де
− температура зовнішнього повітря, 0C;
0C
− температура в середині вагона, 0C;
0C
Вт
Інтенсивність прямої сонячної радіації на площадку перпендикулярну сонячним променям, кД.ж/м2 год:
, (3.2)
де
− коефіцієнт прозорості атмосфери,
;
− кут стояння сонця.
(3.3)
де
− кут нахилу сонця,
200;
− ширина місцевості,
500;
− часовий куг,
300.
.
кДж/м2∙год
Інтенсивність прямої радіації на вертикальну стінку, кДж/м2∙год:
, (3.4)
де
− азимут сонця, град.
, (3.5)
− кут між меридіаном та напрямком руху поїзда,
= 900.
кДж/м2 ∙год.
Інтенсивність прямої радіації на дах:
, (3.6)
кДж/м2 ∙год.
Інтенсивність розсіяної радіації на дах:
, (3.7)
кДж/м2 ∙год.
Інтенсивність розсіяної радіації на вертикальну стіну:
, (3.8)
кДж/м2 ∙год.
Сумарна інтенсивність радіації:
, (3.9)
. (3.10)
кДж/м2 ∙год.
кДж/м2 ∙год.
Умовне еквівалентне підвищення температури зовнішнього повітря за рахунок сонячної радіації:
, (3.11)
де
− коефіцієнт поглинання променевої енергії, (
= 0,6...0,8);
− відносне значення освітлення сонцем поверхонь,
. (3.12)
,
,
.
0С.
Теплонадходженя за рахунок сонячної радіації складає, Вт:
, (3.13)
Вт
Теплонадходження за рахунок інфільтрації зовнішнього повітря в пасажирський вагон складає, Вт:
(3.14)
Вт
Теплонадходження від встановленого обладнання, Вт:
, (3.15)
де
− потужність обладнання в пасажирських вагонах,
= 2000Вт.
Вт.
Теплонадходження від людей, Вт.
, (3.16)
− кількість людей у вагоні, включаючи пасажирів та обслуговуючий персонал, n = 38;
− кількість явної теплоти, яку виділяє людина,
= 77 Вт.
− кількість прихованої теплоти, яку виділяє людина,
= 41 Вт.
Вт
Вологовиділення від людей, кг/год:
, (3.17)
де
− кількість вологи виділеної одною людиною,
кг/год
кг/год.
Сумарні розрахункові теплонадходження в вагон, Вт.
(3.18)
Вт
Сумарна кількість тепла, яка надходить до пасажирського вагона, визначає холодопродуктивність холодильної машини установки кондиціювання повітря пасажирського вагона.
(3.19)
Вт
4. ОПИС ПРИЙНЯТОЇ СХЕМИ ХОЛОДИЛЬНОЇ МАШИНИ ТА СИСТЕМИ ОХОЛОДЖЕННЯ
Холодильна установка парова компресійна, фреонова, має агрегатну конструкцію. Складається з компресорного, конденсаторного агрегата і повітроохолоджувача (випарника). Компресійний і конденсаторний агрегат розташовані під вагоном і кріпляться до рами вагона. Повітроохолоджувач розташований під дахом вагона в системі вентиляції.
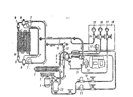
Холодильна установка складається (рисунок 4.1) з:
поршневого компресора, фреонового з повітряним охолодженням. Конденсатор повітряний, ребристо-змійовиковий з примусовою циркуляцією повітря від вентилятора.
Рисунок 4.1 – Схема холодильної установки: 1 - електордвигун вентилятора конденсатора; 2 - вентилятор; 3 - конденсатор; 4- гумометалічний нагнітальний трубопровід; 5 - фільтр-осушувач; 6 - нагнітальний вентиль компресора; 7 - електромагнітні вентилі; 8 - терморерегулюючі вентилі; 9 - розподілювачі рідкого холодоагенту; 10 - випарник (повітроохолоджувач); 11 - всмоктувальний трубопровід; 12- нагнітальний трубопровід; 13 - реле максимального тиску; 14 - вентиль; 15 - манометр всмоктування; 16 - манометр нагнітання; 17 - масляний манометр; 18 - шунт з приладами; 19 - мембранні ветилі; 20 - всмоктувальний вентиль компресора; 21 - компресор; 22 – електромагнітний вентиль; 23 – ресивер.
Ресивер-лінійний має два мірильних скла для контролю рівня рідкого фреона.
Фільтр-осушувач цеонітовий. Два соленоїдних вентиля, перемикають режим роботи холодильної установки. Два терморегулюючих вентиля дроселюють рідкий фреон в повітроохолоджувач в залежності від температури пари фреона на виході з повітроохолоджувача. Повітроохолоджувач ребристо-зміцовиковий, повітря продувається двома вентиляторами системи вентиляції. Реле високого тиску захищає компресор від високого тиску нагнітання.
Манометр тиску всмоктування контролює тиск всмоктування пари фреона в компресор. Манометр тиску оливи контролює тиск оливи в системі змащування компресора.
Робота холодильної установки:
В повітроохолоджувачі кипить рідкий фреон при низькому тиску і низькій температурі, охолоджуючи повітря, яке подається системою вентиляції у вагон. Пара фреона, яка утворюється при кипінні , відсмоктується компресором і стискується до тиску конденсації. Із компресора стиснута пара фреона конденсується за рахунок продуваємого вентилятором атмосферного повітря. З конденсатора рідкий фреон поступає в ресивер, проходить через фільтр-осушувач, де із рідкого фреона поглинається волога. Після фільтра осушувача рідкий фреон проходить два соленоїдні вентилі і поступає до двох терморегулюючих вентилів. Терморегулюючі вентилі дроселюють рідкий фреон в повітроохолоджувач. В повітроохолоджувачі рідкий фреон кипить при низькому тиску і температурі, охолоджуючи повітря, яке подається системою вентиляції до вагону.
5. ПОБУДОВА В ID−ДІАГРАМІ ПРОЦЕСІВ ОБРОБКИ ПОВІТРЯ В СИСТЕМІ ОХОЛОДЖЕННЯ
Установка кондиціювання повітря пасажирського вагона містить системи вентилювання, охолодження, опалення.
Система вентилювання механічна, приточна з рециркуляцією повітря. Система охолодження має парокомпресійну холодильну машину.
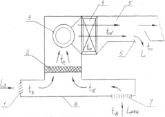
Рисунок 5.1 − Система охолодження установки кондиціювання повітря:
1−забірна решітка; 2−фільтр; 3−вентилятор; 4−випарник (повітроохолод− жувач); 5−повітропровід; 6−випуск; 7−забірно−рециркуляційна решітка; 8−рецир− куляційний провід.
− температура зовнішнього повітря;
− температура повітря на виході з вагона;
температура рециркуляційного повітря;
− температура повітря у камері змішування;
− температура повітря на виході з повітроохолоджувача;
− температура повітря на вході у вагон;
− температура кипіння рідкого холодоагенту у повітроохолоджувачі.
Рисунок 5.2 − Процеси обробки повітря в системі охолодження в Id−діаграмі. Лінія (П−В) − процес підігріву повітря в пасажирському приміщенні вагону; лінія (В−В/) − процес підігріву повітря при його русі по рециркуляційному каналу; лінія (В/−С) − процес змішування зовнішнього та рециркуляційного повітря; лінія (С−П) − процес охолодження повітря в повітроохолоджувачі холодильної машини; лінія (П/−П) − процес підігріву повітря при його русі по повітропроводу.
У Id−діаграмі вологого повітря на перетині лінії постійної температури зовнішнього повітря
та лінії постійної відносної вологості зовнішнього повітря
знаходиться точка З, яка відповідає параметрам зовнішнього повітря.
На перетині лінії
та
знаходиться точка В, яка відповідає параметрам повітря на виході з вагона.
Визначаємо кутовий коефіцієнт
променя процесу зміни параметрів повітря в пасажирському приміщені вагона:
, (5.1)
де
− сумарна кількість тепла, яка надходить до пасажирського вагона,
Вт;
− вологовиділення від людей,
кг/год.
З точки В проводимо промінь процесу з кутовим коефіцієнтом
.
За санітарними нормами різниця температури повітря
, що надходить в вагон і та, що виходить з вагона не повинна перевищувати 3...40.
Визначимо температуру повітря на вході в робоче приміщення вагона:
, (5.2)
На перетині лінії
і променя процесу, знаходиться точка П, яка відповідає параметрам повітря на вході у вагон.
Витрати повітря через вагон визначаємо за формулою, кг/год:
, (5.3)
де
− ентальпія повітря на виході з вагона,
кДж/кг;
− ентальпія повітря на вході у вагон,
кДж/кг.
кг/год.
при русі до камери змішування підігрівається від стінок рециркуляційного каналу, який розташований під дахом вагона. Підігрів повітря
складає 0,5...1,5 0С. Температура рециркуляційного повітря:
, (5.4)
0С.
При підігріві повітря вологовміст повітря залишається постійним, тому на перетині лінії постійного вологовмісту
та температури
знаходиться гонка В/ , яка відповідач параметрам рециркуляційного повітря.
Для підтримання необхідного хімічного складу повітря санітарними нормами встановлено, що подача зовнішнього повітря в вагон на одну людину складає:
м3/год. В розрахунках приймаємо
м3/год.
Кількість зовнішнього повітря, яке надходить у вагон, кг/год:















