145042 (620914), страница 3
Текст из файла (страница 3)
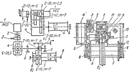
Рис. 9 Унифицированный планетарный механизм поворота П-3
а – разрез; б – кинематическая схема; в – аксонометрическая схема 1 – тормоз с двумя магнитами; 2 – двигатель; 3 – зубчатый венец; 4 – солнечная шестерня; 5 – редуктор; 6 – выходная шестерня; 7 – манжетные уплотнения; 8 – водило; 9 – сателлиты; 10 – закрепление двух верхних венцов (показано условно).
Зубчатые венцы первой и второй передач, а также зубчатые кольца, соединяющие венцы, – плавающие, без жесткого закрепления к корпусу редуктора. Это обеспечивает нормальное зацепление с ними сателлитов даже при некоторой несоосности соединения двигателя с редуктором. Венец нижней передачи ввиду больших действующих на него нагрузок жестко прикреплен к корпусу редуктора с помощью штифтов. Водило III ступе,ни через шлицы передает вращение выходному валу. На выходной вал редуктора снизу насажена шестерня 6, входящая в зацепление с венцом опорно-поворотного круга. Выходной вал редуктора передает только крутящий момент, так как он разгружен от радиальных нагрузок. Для этого шестерня 6 механизма поворота установлена на двух подшипниках, посаженных непосредственно на шейку корпуса редуктора. С валом шестерня соединяется с помощью штифтов. Чтобы из редуктора не вытекло масло, в нижней его части установлено три резиновых манжетных уплотнения 7, а чтобы масло не попало в двигатель, в крышке редуктора также установлено манжетное уплотнения.
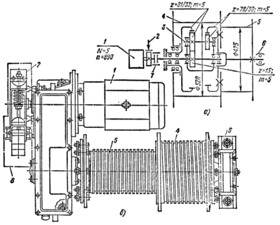
Рис. 10 Унифицированный цилиндрический механизм поворота
а – разрез редуктора; б – кинематическая схема;
1 – шестерня зубчатой муфты; 2 – входной вал; 3 – смотровое стекло; 4 – промежуточный вал; 5 – крышка корпуса; 6 – шестерня шиберного насоса; 7 – диафрагма; 8 – насос; 9 – выходной вал; 10 – корпус редуктора; 11 – манжетное уплотнение; 12 – горловина корпуса; 13 – торцовая крышка; 14 – масленка; 15 – промежуточный вал; 16 – крышка подшипника; 17 – сливная пробка; 18 – лапа корпуса; 19 – проушина; 20 – фонарь; 21 – тормоз; 22 – электродвигатель; 23 – зубчатая муфта.
Механизмы поворота П-3 имеют четыре исполнения, отличающиеся размерами приводных (выходных) шестерен и установленной мощностью электродвигателя. IV исполнение имеет большее передаточное число в редукторе.
Двухступенчатая конструкция тормоза позволяет повысить плавность работы механизма. Первая ступень торможения – наложение одной колодки на шкив осуществляется при работающем электродвигателе и служит для предварительного притормаживания механизма. Вторая ступень торможения, т.е. наложение и второй колодки на шкив, выполняется при остановке электродвигателя. Совместная работа обеих колодок позволяет удерживать кран в заданном положении. На кране КБ-401Б схемой предусмотрено положение, когда при отключении электродвигателя обе колодки тормоза остаются открытыми. Этим достигается свободный выбег крана при повороте, сто обеспечивает плавную остановку и исключает раскачивание груза.
Для разворота ходовой рамы вместе с подкатной осью при перевозке крана или повороте башни при аварийном состоянии вал механизма поворота можно вращать вручную безопасной рукояткой, надеваемой при необходимости на тормозной шкив. На период работы безопасной рукояткой колодки тормоза отводят отжимными планками, расположенными на концах рычагов.
Планетарные механизмы поворота крепят к поворотной платформе крана шарнирно: с одной стороны, с помощью вертикального шкворня, входящего в отверстие прилива на корпусе редуктора и две проушины на платформе, с другой стороны – натяжным болтом, служащим для фиксации механизма и регулировки зацепления. В некоторых случаях шкворень приваривают к приливу корпуса механизма. Такое крепление механизмов позволяет их быстро и легко монтировать и демонтировать при ремонте, а также регулировать зацепление между выходной шестерней и зубчатым венцом опорно-поворотного устройства.
Цилиндрический механизм поворота сходен по конструкции с ранее рассмотренным механизмом усовершенствованного крана МСК-5-20 (рис.10 а,б). Основное отличие заключается в том, сто шестерни его редуктора имеют зацепление Новикова, благодаря чему существенно уменьшены габаритные размеры и масса механизма. Кроме того, для смазки верхних шестерен первой и второй ступени использован шиберный насос 8, приводимый в движение валом 4 второй ступени. Для контроля за работой насоса в верхней крышке подшипника этого вала предусмотрено смотровое стекло 3.
Крепление цилиндрического механизма на поворотной платформе выполнено жестко с помощью трех кронштейнов. Нижний кронштейн имеет расточенное отверстие, в которое входит горловина 12 корпуса редуктора. Лапы 18 корпуса с помощью специальных болтов крепятся к двум другим кронштейнам. Устанавливают и снимают механизм при одновременном надевании или снятии шестерни выходного вала, имеющей зацепление с опорно-поворотным устройством.
Механизмы изменения вылета и выдвижения башни
Вылет башенных кранов меняется либо изменением угла наклона стрелы с помощью стреловой лебедки на кранах с подъемными стрелами, либо перемещением грузовой тележки по стреле с помощью тележечной лебедки – на кранах с балочными стрелами. На некоторых кранах с установочным изменением вылета, например БКСМ-5-5А, имеются обе лебедки. Стреловая лебедка (рис.11 а) предназначена для установочного, т.е. разового изменения вылета путем подъема стрелы без груза с зафиксированной на ее конце тележкой, а также для опускания стрелы при демонтаже крана. Тележечная лебедка (рис.11 б) служит для постоянного перемещения тележки с грузом по направляющим балкам горизонтально расположенной стрелы.
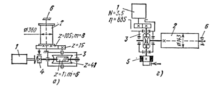
Рис. 11 Кинематические схемы механизмов изменения вылета
а – стреловой лебедки крана БКСМ-5-5А; б – тележечной лебедки крана БКСМ-5-5А; в – то же, КБ-503; г – то же, АБКС-5; д – то же, КБ-674;
1 – электродвигатель; 2 – барабан; 3 – редуктор; 4 – тормозной шкив; 5 – маховик; 6 – выносная опора барабана; 7 – зубчатая муфта.
башенный кран
Тележечные лебедки характеризуются малой мощностью двигателя и небольшими габаритами. На цилиндрический барабан лебедки, встречно навиваются два тележечных каната для передвижения грузовой тележки вперед или назад. Канаты крепят на разных концах барабана. На валу двигателя этих лебедок часто устанавливают маховики, что позволяет повысить плавность пуска и торможения привода лебедки. Тележечные лебедки кранов серии КБ грузоподъемностью до 160т∙м, аналогичные лебедкам кранов АБКС-5 (рис.11 г), выполнены с использованием глобоидного редуктора ТКЧг-125. Крепление лебедки к металлоконструкции крана выполнено по трехопорной схеме.
На тяжелых кранах (свыше 160т∙м), например КБ-503 (рис.11 в), применяют П-образную компоновку для тележечной лебедки. Чтобы исключить трехопорное опирание выходного вала редуктора и барабана, ставят зубчатую муфту 7. Двигатели для этих лебедок применяют двухскоростные. Такие двигатели дают возможность эффективнее использовать лебедку при не нагруженном крюке и тем самым увеличивать производительность крана.
На кранах КБ-674 конструкция лебедки (рис.11 д) отличается от рассмотренных тем, что трехступенчатый редуктор расположен вертикально и навешен на вал барабана, опирающийся на конструкцию стрелы двумя опорами 6. Перегрузка вала барабана исключается за счет шарнирного одноопорного крепления редуктора к конструкции стрелы. Электродвигатель имеет встроенный тормоз. Конец вала барабана заканчивается винтом, связывающим барабан с механизмом переключения ограничителя грузоподъемности.
Стреловые лебедки по конструкции и кинематической схеме аналогичны грузовым. Стреловые лебедки на кранах с установочным изменением вылета отличаются от лебедок кранов с маневровым изменением меньшей мощностью привода. Электродвигатель этих лебедок подбирают из условия подъема стрелы без груза, а тормоз – из условия удержания стрелы при поднятом грузе.
На кране МСК-5-20А (рис.12 а) с маневровым изменением вылета электродвигатель1 стреловой лебедки короткозамкнутый. На последних моделях кранов для обеспечения большей плавности движения груза в механизмах изменения вылета применены электродвигатели с фазным ротором. На ряде кранов с запасовкой канатов по схеме соединенных полиспастов барабан стреловой лебедки разделен на две секции 4 и 5. Секция 4 – для наматывания стрелового каната – цилиндрическая, либо коническая. Коническую форму барабана подбирают, исходя или из условия улучшения траектории перемещения груза при изменении вылета, или из расчета уменьшения крутящего момента на барабан лебедки от усилий в стреловом и грузовом канатах.
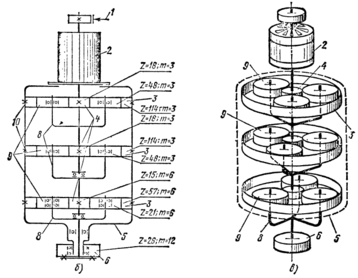
Рис. 12 Стреловые лебедки кранов
Унифицированные стреловые лебедки отличаются от соответствующих грузовых лебедок размерами барабана и двигателя. При запасовке канатов по схеме соединенных полиспастов конструкция барабанов рассчитана на крепление двух канатов: стрелового и грузового. В лебедках Л-450.1 и Л-600, используемых соответственно на кранах КБ-60 и типа КБ-160, барабаны стреловых лебедок выполнены цилиндрическими, без разделения на секции.
В лебедке Л-450 (рис.12 б), используемой на кранах КБ-306, барабан состоит из двух секций: большой цилиндрической 4 и малой 5. Кинематическую схему этой лебедки см. на рис.
Механизмы выдвижения используются для увеличения высоты башни крана, стоящего в вертикальном положении, а также для уменьшения его высоты при демонтаже. Механизм выдвижения состоит из лебедки и полиспастной системы выдвижения. На многих кранах (например, КБ-160.2, КБ-100.2) в качестве лебедки для механизма выдвижения используют грузовую лебедку, с которой предварительно сматывают грузовой канат. На кранах КБк-250 и КБ-503 для этой цели служит лебедка (рис.), применяемая для монтажа крана. Лебедки выполнена по трехопорной П-образной схеме аналогично ранее рассмотренным. Она установлена на поворотной платформе крана.
Кран КБ-573 и КБ-674 (рис.) оборудованы специальной лебедкой для выдвижения монтажной стойки и подъема башни. Принципиально эти лебедки выполнены по одной конструктивной схеме. Различие состоит лишь в редукторе. У крана КБ-573 используется глобоидный редуктор, у КБ-674 – шестерня 10 закреплена шпонкой, причем шестерня может перемещаться вдоль вала с помощью поводка 11, приводимого в движение вручную винтом 9. Таким образом, выходной вал имеет кинематическую связь то с одним барабаном, то с другим. Это позволяет наматывать канат подъема стойки (на барабан 6) или канат подъема башни (на барабан 7). Привод переключают при ослабленных канатах на обоих барабанах, т.е. без нагрузки. Лебедки оборудованы тормозом 3, охватывающим шкив соединительной муфты 2. У большого барабана лебедки КБ-674, кроме того, предусмотрен подпружиненный подтормаживатель 12, нажимающий на торец реборды и не позволяющий барабану свободно раскручиваться, когда с него сматывается канат. Эти лебедки имеют раму 13, с помощью которой они закреплены на монтажной стойке крана. Все валы и барабаны вращаются на шариковых подшипниках.
Рис. 13 Лебедки для выдвижения башни.
Механизм подъема.
















