144513 (620610), страница 3
Текст из файла (страница 3)
Рис.12 Глинорыхдитель СМК-1031А: 1 - привод рабочего вала, 2 - лопасти, 3 - вал рыхлителя, 4 - привод поперечного движения каретки, 5 – муфта
Во время работы глинорыхлителей рабочий следит за исправностью основных рабочих органов — бил и опорных катков, а также за состоянием крепежных деталей. В процессе работы не разрешается становиться на решетку бункера, извлекать из него посторонние предметы, смазывать части машины.
При разгрузке бункера рыхлителей необходимо следить, чтобы глина не содержала посторонних включений. Если такие включения попадаются, следует остановить глинорыхлитель и извлечь их. Глинорыхлитель останавливают после выработки всей глины.
Запрещается находиться между глинорыхлителем и транспортом в то время, когда опрокидывается кузов транспортных устройств.
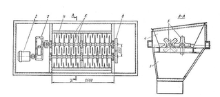
Рис. 13. Двухвальный глинорыхлитель конструкции Ленстройкерамики: 1 - бункер ящичного подавателя, 2 - электродвигательмощностью 10 квт, 3 - редуктор РМ-650, 4 - бункер рыхлителя, 5 - рыхлительные валы с билами, 6 - шестеренчатая передача
Подача глины в производство
После рыхления глина поступает на некоторых заводах в глино-хранилище, а иногда непосредственно на переработку.
Для равномерной подачи глины в глинохранилище или непосредственно в производство применяют ящичные питатели СМ-664, СМ-1090, СМК-78 (СМ-1091), «Кема» (Германия).
Ящичный питатель СМ-664 (рис. 14) состоит из корпуса 1, транспортера 2, электродвигателя 3, редуктора 4, вала 5 с билами. На корпусе питателя установлены планки 7, к которым крепят металлические перегородки — шиберы 6. Высоту шиберов регулируют таким образом, чтобы была обеспечена наибольшая производительность установленного после ящичного питателя оборудования.
Рис. 14. Ящичный питатель СМ-664: 1 — корпус, 2 — транспортер, 3 — электродвигатель, 4 — редуктор, 5 — вал с билами, 6 — шиберы, 7 — планки
Ящичные питатели СМ-1090 и СМК-78 (СМ-1091) состоят из корпуса, ленты транспортера, привода и валов: приводного, натяжного, промежуточного и бильного. Корпус по длине разделен двумя шиберами на две загрузочные камеры. Шиберы поднимаются и опускаются реечной передачей с помощью штурвала, расположенного на боковой стороне корпуса. Для перемешивания и равномерной подачи материала в лоток питателя применен бильный вал.
Тяговым органом питателя СМК-78 (СМ-1091) является стальная пластинчатая лента, имеющая по бокам две катковые цепи с приклепанными между ними пластинами. Она образует подвижное дно питателя. Пластины ленты плоские из стального листа толщиной 6 мм и с тремя зигами. Снизу к пластине приваривается профиль из листа толщиной 4 мм, придающий пластине жесткость. Приводом тягового органа и бильного вала служит электродвигатель с клиноременной передачей.
Тяговым органом ящичного питателя СМ-1090 является резиновая лента шириной 1200 мм. Для устранения провисания ленты над ней расположен рольганг из 31 ролика диаметром 90 мм. В остальном питатели СМ-1090 и СМ-1031 одинаковы.
Технические характеристики ящичных питателей приведены в табл. 10.
Таблица 10
| Технические характеристики ящичных питателей | |||
| Показатели | СМ-664 | СМ-1090 | СМК-78 (СМ-1091) |
| Производительность м3/ч | 15 и 35 | 25 | 25 |
| Количество камер | 2 | 2 | 2 |
| Емкость камер м3 | 2,2 | 2,9 | 2,9 |
| Мощность привода, квт | 4,2 | 3 | 4 |
| Скорость движения ленты транспортера м/мин | 1,8 и 2,48 | 1,5 и 2,0 | 1,5 и 2,0 |
| Угловая скорость бильного вала. об/мин | 95,5 и 126 | 90 и 120 | 85 и 117 |
| Габаритные размеры, мм: длина | 5930 | 6510 | 6350 |
| ширина | 2060 | 2485 | 2530 |
| высота | 1200 | 1610 | 1620 |
| Масса, т | 2,8 | 4,1 | 4,6 |
Хранение и вылеживание сырьевых материалов
При вылеживании глин их качество улучшается. Хранят и вылеживают глины е хранилищах (рис. 15 и 16).
Стационарные хранилища обеспечивают бесперебойное и ритмичное снабжение завода сырьем независимо от метеорологических условий. В промышленности используют хранилища, в которых для подачи сырьевых материалов в производство эксплуатируются многоковшовые экскаваторы с нижним (рис. 16, а) и с верхним черпанием (рис. 16, б). Глина 1 конвейером 2 подается на первичное дробление в глинообрабатывающую машину 3. После вылеживания экскаватор 4 передает глину на конвейер 5. Погрузочно-разгрузочные работы в глино-ранилищах осуществляются также грейферными захватами, многоковшовыми экскаваторами, автопогрузчиками и бульдозерами.
Поступающее на завод сырье перед разгрузкой в глинохранилище осматривают и проверяют, нет ли в нем посторонних примесей.
Глину, каолин, кварцевый песок, засоренные углем, железом, шлаком, мелом и другими примесями, которые нельзя удалить в процессе разгрузки, выгружают вне территории склада.
Загружают сырье только в предназначенные для каждого вида и сорта отсеки. Отсеки склада и площадки для хранения сырья обязательно должны быть маркированы. От каждой партии прибывающего сырья отбирают среднюю пробу и контролируют ее качество в лаборатории или ОТК.
В лабораторном журнале записывают следующие сведения о прибывшем сырье: вес прибывшей партии сырья, его месторождение, влажность, степень засоренности; дату прибытия и номер вагона.
В хранилищах надлежит строго соблюдать чистоту, не допуская засоренности сырья. Как правило, в хранилище должен поддерживаться 2—3-месячный запас сырья.
Высокое качество изделий может быть получено при вылеживании подготовленной шихты. Глину с отощающими добавками дозируют в ящичном питателе, оборудованном рыхлителем, и затем подают в глиномешалку и бегуны. Обработанное сырье укладывают на вылеживание в глинохранилище.
Рис. 15. Глинохранилище с бульдозером: 1 - бульдозер, 2 - бункер, 3 - глинорыхлитель, 4 - ящичный подаватель, 5 – конвейер
Рис. 16. Стационарные глинохранилища: а —С передвижными мостами и экскаватором, б — с верхним черпанием глины; 1 — глина, 2— конвейер для подачи сырья, 3—- глинообрабатывающая машина, 4 — экскаватор, 5 — конвейер для отбора глины
Сушка глины
Для сушки глины до состояния, при котором она легко дробится и размалывается, применяют прямоточные сушильные барабаны, Сушильный барабан (рис. 17) представляет собой Цилиндр 3, вращающийся на четырех роликах двух опорных устройств 2, на которые цилиндр опирается насаженными на него бандажами. Барабаны устанавливают с наклоном в сторону выгрузки. Для предупреждения осевого сдвига одно из опорных устройств имеет два упорных ролика. Бандажи упираются на две пары опорных роликов и одну пару упорных роликов 5. Между опорами на корпусе барабана крепят венцовую шестерню, благодаря которой барабан приводится во вращение. Вращение на венцовую шестерню передается от привода 4.
Рис. 17. Сушильный барабан СМ-147А: 1 - питатель, 2 - опорное устройство, 3 - цилиндр барабана, 4 - привод, 5 - упорное устройство, 6 - уплотнитель
Материал, подлежащий сушке, поступает во вращающийся барабан через трубчатый питатель 1. Винтовые направляющие лопасти захватывают массу и подают ее к лопастям насадки. Благодаря наклону барабана материал перемещается в сторону выгрузки. Высушенный материал высыпается из барабана через течку.
Барабан работает с постоянной температурой входящих газов — 800° С. При изменении влажности материала или ускорении его подачи в барабан режим сушки регулируют увеличением или уменьшением количества поступающих газов. Для избегания конденсации влаги в разгрузочной камере температура отходящих газов не должна падать ниже 90° С. Газы отсасываются из барабана через мультициклон. Чтобы газы и пыль не выбивались из барабана, установлено уплотнительное кольцо.
Технические характеристики сушильных барабанов приведены в табл.12.
Таблица 12
| Технические характеристики сушильных барабанов | |||||
| Показатели | СМ-1013 | СМ-45Б | CM-107G | СМ-147А | 7203 |
| Производительность, т/ч | 3,5 | 2,7 | 21 | 15 | 30 |
| Температура сушки, °С: | |||||
| начальная | 800 | 800 | 700 | 800 | 800 |
| конечная | 100 | 100 | 100 | 100 | 100 |
| Вид топлива | Газ, уголь, мазут | ||||
| Максимальный размер частиц высушиваемого материала, мм . | 35 | 30 | 60 | 60 | 60 |
| Диаметр барабана, мм | 1600 | 1600 | 2200 | 2200 | 2800 |
| Длина барабана, мм | 8000 | 8000 | 14000 | 14000 | 14000 |
| Угловая скорость, об/мин | 6,1; 4,1; | 1,4 | 5,6 | 5,6 | 4-6 |
| Угол наклона, град | 3 | 3 | 3 | 2°51 | 3 |
| Мощность электродвигателя, квт | 10; 9; 7 | 7 | 40 | 28 | 28 |
| Габаритные размеры, мм: | |||||
| длина | 9850 | 10000 | 17 500 | 14 032 | 14032 |
| ширина | 2800 | 3000 | 3 700 | 3 910 | 4434 |
| высота | 3550 | 3500 | 4 500 | 3 758 | 4 340 |
| Масса, т | 13,9 | 15,0 | 40,2 | 36,12 | 70,0 |
Сушильные барабаны работают на твердом, газообразном и Жидком топливе. Топки сушильных барабанов выполняют выносными.
Приготовление шамота
Параллельно с основными процессами производства изделий для облицовки фасадов на заводе изготовляют шамот. Глину со склада подают в камневыделительные вальцы и затем в смеситель, где она увлажняется и (перемешивается до 15— 16% влажности, а затем поступает на брикетирование.
Рис. 18. Пресс-вальцы: 1 — станина, 2, 4— формующие валки со сферическими углублениями, 3 — загрузочная воронка
















