165783 (620567), страница 2
Текст из файла (страница 2)
а =
=
= 0,08 (м);
с = ½ а = 0,04 (м);
в1 = в2 = (0,13-0,08) / 2 = 0,025 (м).
а) Определяем термическое сопротивление слоя 4 относительно параллельных сечений действию теплового потока.
Рис. 3.Плита перекрытия.
RаII =
,
где RI =
=
= 0,170 (м2 С/Вт)
Rвп - термическое сопротивление замкнутой воздушной прослойки, по [4, прил.4], (= 0,144м2 С/Вт).
RII = 0,13/1,92 = 0,068 (м2 С/Вт)
RаII =
= 0,113(м2 С/Вт)
б) Определяем термическое сопротивление для перпендикулярных сечений.
Rв = RIII+RIV+RV,
где RIII = RV =
= 0,025/1,92 = 0,013(м2 С/Вт);
RIV =
=
=
=0,079(м2 С/Вт);
Rв= 0,013+0,079+0,013 = 0,105(м2 С/Вт).
R4прив =
=
= 0,108(м2 С/Вт).
R0=
+
(мм).
Толщина чердачного покрытия: 423мм.
2.3 Расчет пола 1-го этажа
Рис. 4.Пол 1-го этажа.
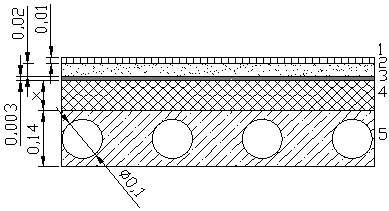
1 – паркет на мостике – 111 - дуб вдоль волокон ( = 700 кг/м; = 0,35Вт/(мС), S = 6,90 Вт/м2 С);
2 – стяжка – 72 – сложный материал (песок, известь, цемент) ( = 1700 кг/м; = 0,70Вт/(мС), S = 8,95 Вт/м2 С);
3 - пароизоляционный слой – 186 - рубероид (ГОСТ 10923 - 82), пергамин (ГОСТ 2697-83), толь (ГОСТ10999-76*) ( = 600 кг/м; = 0,17 Вт/(мС), S = 3,53 Вт/м2 С);
4 – теплоизоляционный слой – 143 – пенополистирол (ТУ 6-05-11-78-78) ( = 150 кг/м; λ = 0,052 Вт/(м°С), S = 0,89 Вт/м2 С )
5 – плита перекрытия - 1- из железобетона (
кг/м3 ;
А = 1.92 Вт/(м°С), S = 17,98 Вт/м2 С ).
Градусо - сутки отопительного периода определяется по формуле:
Dd =(tint-tht) zht
В нашем случае:
tint = 20°С;
tht = -2.7 °С;
zht = 210 сут.
Dd = (20-(-2.7)) 210 = 4767°Ссут
Приведенное сопротивление теплопередаче R0, м2°С/Вт ограждающих конструкций (для чердачных перекрытий) находим интерполяцией:
R0=
( м2°С/Вт),
Приведенное сопротивление теплопередаче ограждающих конструкций Rreq, м2°С/Вт, определяем по формуле:
Rreq=
Так, в нашем случае для пола первого этажа:
п =0.6;
tn = 2.0°С;
int = 8.7 Вт/(м2°С);
tint= 20°С;
text= -26°С.
R req =
(м2°С/Вт).
Принимаем требуемое приведенное сопротивление теплопередаче ограждающих конструкций
R0 = 4.045 м2°С/Вт, т.к. R0 > Rreq.
К =
(Вт/ м2°С).
Рассчитываем толщину утеплителя пола первого этажа.
Формула сопротивления теплопередаче ограждающих конструкций:
R0=
,
где int = 8.7 Вт/(м2°С);
RK =
,
где
- толщина слоя материала конструкции, м;
- коэффициент теплопроводности материала слоя, Вт/(м°С);
=12 Вт/(м2°С).
Определяем действие теплового потока: сверху вниз (рис. 5).
а =
=
= 0,08 (м);
с = ½ а = 0,04 (м);
в1 = в2 = (0,14-0,08) / 2 = 0,03 (м).
а) Определяем термическое сопротивление слоя 5 относительно параллельных сечений действию теплового потока.
RаII =
,
Рис. 5.Плита перекрытия.
где RI =
=
= 0,250 (м2 С/Вт)
Rвп - термическое сопротивление замкнутой воздушной прослойки, по [4, прил.4], (= 0,224м2 С/Вт).
RII = 0,13 /1,92 = 0,068 (м2 С/Вт)
RаII =
= 0,132(м2 С/Вт)
б) Определяем термическое сопротивление для перпендикулярных сечений.
Rв = RIII+RIV+RV,
где RIII = RV =
= 0,025/1,92 = 0,013(м2 С/Вт);
RIV =
=
=
=0,091(м2 С/Вт);
Rв= 0,013+0,091+0,013 = 0,117(м2 С/Вт).
R5прив =
=
= 0,122(м2 С/Вт).
R0 =
+
(мм).
Толщина пола 1-го этажа: 388мм.
2.4 Выбор входных наружных дверей
R0нвд ≥ 0,6 R0тр1 нс : R0тр1 нс = 3.620 м2°С/Вт
R0нвд = 0,6 3.620 = 2,172 (м2°С/Вт).
К =
=0,460 (Вт/ м2°С).
2.5 Выбор оконных проемов и балконных дверей
Градусо - сутки отопительного периода определяется по формуле:
Dd =(tint-tht) zht
В нашем случае:
tint = 20°С;
tht = -7.1 °С;
zht = 234 сут.
Dd = (20-(-7.1)) 234 = 6341.4°Ссут
Приведенное сопротивление теплопередаче R0, м2°С/Вт ограждающих конструкций (для окон и балконных дверей) находим интерполяцией:
R0=
0.617( м2°С/Вт)
R0тр3 = 0.617(м2°С/Вт).
Заполнение световых проемов по [4, прил.6]:
Двухкамерный стеклопакет из стекла:
| С твердым селективным покрытием и заполнением аргоном | 0,65 | 0,53 |
К = 1/0.617 = 1.621(Вт/ м2°С).
Таблица 2: "Теплотехнические данные ограждающих конструкций"
| Наименование величины | Наименование ограждающей конструкции | |||||
| Наружная стена (ВС) | Перекрытие верхнего этажа (ЧП) | Пол первого этажа (ПЭ) | Оконный проем, балконная дверь | Входные наружные двери (ВНД) | Внутренняя стена (ВС) | |
| Сопротивление теплопередаче R, м2°С/Вт | 3.620 | 4.754 | 4.754 | 0.617 | 2.172 | 0.850 |
| Коэффициент теплопередачи К, Вт/ м2°С | 0.276 | 0.210 | 0.210 | 1.621 | 0.460 | 1.180 |
-
Расчет тепловых потерь помещений здания методом составления теплового баланса
Цель: Определение тепловых потерь помещений здания и мощности системы отопления.
В данном курсовом проекте производится расчет теплового баланса всех помещений здания (жилые комнаты, кухни, санузлы, лестничная клетка). Все помещения поэтажно нумеруются: 1 этаж – 101, 102, 103,…, 2 этаж – 201, 202, 203,…, 3 этаж – 301, 302, 303,... . Подсобные помещения квартир (коридоры, кладовые) условно относятся к смежным помещениям.
1). Расчет теплопотерь через ограждающие конструкции:
, (Вт)
где А – расчетная площадь ограждающей конструкции, определяемая по правилам обмера, м2;
К - коэффициент теплопередачи по таблице 2, Вт/ м2°С,
Расчетный коэффициент теплопередачи окон и балконных дверей принимается как разность значений коэффициентов для окон и наружных дверей, т.к. поверхность стен измеряют без вычета площади окон:
(Вт/ м2°С)
tp – расчетная температура внутреннего воздуха помещения здания, принимается по , °С;
text - расчетная температура наружного воздуха холодной пятидневки, °С;
Σ β – добавочные теплопотери в долях от основных потерь,
n - коэффициент, принимаемый в зависимости от положения наружной поверхности ограждающей конструкции по отношению к наружному воздуху, по
Теплопотери через внутренние ограждающие конструкции определяются при разнице температур в смежных помещениях более 3 °С.
2). Затраты теплоты на естественную вытяжную вентиляцию:
, (Вт)
где с – удельная теплоемкость воздуха, равная 1 кДж/кг0С;
tр, ti - расчетные температуры воздуха в помещении и наружного воздуха в холодный период года (параметр Б), 0С;
ρ – плотность удаляемого воздуха, кг/м3: ρ = γ/g
где γ = 3463/(273+ tр), (Н/м3)
g = 9.81 м/с2 – ускорение свободного падения
Ln – расход удаляемого воздуха, м3/ч, не компенсируемый подогретым приточным воздухом. Для жилых зданий удельный нормативный расход 3 м3/ч на 1 м2 жилых помещений, т.е.
Ln = 3Аn,
где Аn – площадь пола помещения, м2.
В санузлах
Ln = 25 м3/ч.
3). Затраты теплоты на подогрев инфильтрирующегося воздуха принимают в размере 0.3 от суммарных теплопотерь через ограждающие конструкции:
Qинф = 0.3 · Σ Qок
4). Бытовые теплопоступления в помещениях жилых зданий определяют по формуле:
Qбыт = 10 Аn ,
где Аn – площадь пола комнаты или кухни, м2.
Дефицит теплоты в помещении определяют на основании составления теплового баланса ΔQ, Вт, определяемого по формуле:
ΔQ = Qпотери – Qпоступл ,
где Qпотери – суммарные теплопотери помещения, Вт;
Qпоступл – суммарные теплопоступления в помещение, Вт.
а) жилые комнаты, кухни:
ΔQ = Qогр + Qинф(Qвент ) – Qбыт
б) лестничная клетка:
ΔQ = Qогр + Qинф
Расчет теплового баланса (теплопотерь) помещения здания выполнен в табличной форме – таблица 3.
В заключение расчета определяем удельный расход тепловой энергии на отопление здания
, Вт/м3К, и сравниваем с нормативным значением
, равным 0.42 Вт/м3К.
Расчет помещения №101:
Данное помещение является угловая комната с температурой внутреннего воздуха 23 0С. Ограждающие конструкции помещения №101, их ориентация, площадь:
-
наружная стена; западная ориентация: 11.85 м2;
-
наружная стена; южная ориентация; 17.55 м2;
-
наружная стена; восточная ориентация; 4.95 м2;
-
двойное остекление; северная ориентация; 2.25 м2;
-
пол первого этажа; 18.20м2.
Коэффициент теплопередачи ограждающей конструкции К принимаем по таблице №2 данного курсового проекта.
(0С)
Коэффициент на ориентацию β1 принимаем в зависимости от ориентации ограждающих
конструкций помещения:
С, С-З, С-В, В - β1 = 0.1;
Ю, Ю-З - β1 = 0.0;
З, Ю-В - β1 = 0.05.
Коэффициенты: на угловое помещение β2=0.05, на хол. полы β3=0.05, (в ЛК - на наружные входные двери
β4=0.2·Нзд=0.2·12=24).
Теплопотери через ограждающие конструкции расчетного помещения:
Q ок,нс1= 11.85·0.276·63·1·1.1=226.65 (Вт)
Qок,нс2= 17.75·0.276·63·1·1.05=320.42 (Вт)
Qок,нс3= 4.95·0.276·63·1·1.15=98.98 (Вт)
Qок= 2.25·(1.621-0.276) ·1·63·1.1=209.72 (Вт)
Qпл I= 18.20·0.210·63·0.6·1.05=151.70 (Вт)
Суммарные теплопотери через ограждающие конструкции:
∑Qок=226.65+320.42+98.98+209.72+151.70=1007.47 (Вт)
Расход теплоты на подогрев инфильтрирующегося воздуха:
Qинф = 0.3 · 1007.47=302.24 (Вт)
Расход теплоты на естественную вентиляцию:
γ = 3463/(273+ 23) = 11.70(Н/м3), ρ = 11.70/9.81 = 1.193(кг/м3).
Qевв. =
(Вт)
Бытовые теплопоступления:
Qбыт = 10 . 18.20=182.0 (Вт)
Тепловой баланс помещения:
ΔQ = Qпотери – Qпоступл
ΔQ = 1148.64+1007.48 -182.0=1974.11 (Вт).
Удельный расход тепловой энергии на отопление здания:
,
где V – отапливаемый объем здания, равный объему, ограниченному внутренними поверхностями наружных ограждений здания, м3: V = 3576.5 м3,
β – поправочный коэффициент, определяемый по формуле:
β = 0.54 + 22/(tр – text) = 0.54 + 22/60 = 0.91
Вт/м3К
<
на 7 %.
-
Выбор и конструирование системы отопления
В проекте разработана система центрального отопления здания. Источником теплоты является ТЭЦ. Параметры первичного теплоносителя горячей воды Δt = 130/70 0С. В системе отопления теплоносителем является горячая вода с параметрами теплоносителя: Δt = 95/70 0С.
Схема индивидуального теплового пункта зависимая с насосным смешиванием воды. Тепловой пункт расположен в подвальном помещении здания. Циркуляция воды в системе отопления принудительная с помощью циркуляционного насоса. Разводка магистралей нижняя.
Монтаж системы водяного отопления выполнен из стальных труб.
Для поквартирной разводки использована периметральная схема. Она реализуется с использованием стальных труб, укладываемых в стяжку "чистого" пола. Каждый отопительный прибор присоединяется к подающему и обратному коллектору. Коллекторы оборудованы кранами для выпуска воздуха и слива воды, устанавливаются в специальных шкафах. В этих же шкафах устанавливаем отключающую арматуру квартиры, фильтр, квартирный теплосчётчик. В качестве отопительных приборов использованы стальные радиаторы панельные четырехходовые типа РСГ2 одного и двухрядного исполнения. Нагревательные приборы подсоединяются по двухтрубной схеме. Для регулировки теплоотдачи приборов на подводках устанавливаются автоматические терморегуляторы типа RTD. Удаление воздуха осуществляется через воздушные краны, устанавливаемые на приборах верхних этажей.
Трубопроводы в местах пересечений перекрытий, внутренних стен и перегородок прокладываем в гильзах из негорючих материалов.
Для отключения и регулирования расхода воды на подающем и обратном трубопроводах устанавливаются шаровые краны. Прокладка трубопроводов, стояков и подводок в помещении скрытая. Магистральные трубопроводы в подвале прокладываются с теплоизоляцией, в качестве которой используется минеральная вата. Теплоизоляционный слой покрывается защитным слоем – алюминиевым листом. Горизонтальные трубы прокладываются с уклоном 0,003 в сторону установки спускной арматуры с целью опорожнения системы отопления от воды. На каждом этаже здания устанавливаются спускные краны для опорожнения системы отопления от воды.
-
Тепловой расчет отопительных приборов
Тепловой расчет отопительных приборов заключается в определении необходимой поверхности нагрева или требуемого номинального теплового потока с определением числа приборов, обеспечивающих необходимый тепловой поток от теплоносителя в помещение с целью компенсации тепловых потерь помещения.
1). Определяем требуемый номинальный тепловой поток прибора Qн.т. по формуле:
где Qпр – требуемая теплопередача прибора в помещении, определяемая по формуле:
Qпр = Qп – βтр Qтр , Вт
где Qп – теплопотери помещения, определяемые в расчете теплового баланса,
(графа 19 из таблицы 1 приложения), Вт;
βтр – поправочный коэффициент, учитывающий долю теплоотдачи теплопроводов, полезную для поддержания заданной температуры воздуха в помещении (βтр = 0,5 – скрытая прокладка в глухой борозде стены, в каналах и в плинтусах);
Qтр – суммарная теплоотдача труб проложенных в пределах помещения, определяемая по формуле:
Qтруб = qвlв + qгlг ,Вт
где lв, lг – длина вертикальных и горизонтальных труб в пределах помещения, определяемая по аксонометрической схеме, м;
qв, qг – теплоотдача 1 м открыто проложенных вертикальных и горизонтальных труб, Вт/м,– для стальных труб при tг =95 оС, tо =70 оС для принимаемых диаметров труб dв/dн;
φк – комплексный коэффициент приведения Qн.у. к расчетным условиям для теплоносителя воды, определяемый по формуле:
где: n, р, с – экспериментальные числовые показатели;
в – коэффициент учета атмосферного давления в данной местности;
ψ – коэффициент учета направления движения теплоносителя воды в приборе
Δtср – разность средней температуры воды tср в приборе и температуры окружающего воздуха в помещении tв,
, oС
где tвх, tвых – температура воды, входящей в прибор и выходящей из него, 0С, определяемые с учетом схемы присоединения прибора к трубам (двухтрубная система); для двухтрубной водяной системы отопления из стальных труб
tвх=95 oС, tвых=70 oС.
Ψ=1 – для приборов РСГ2;
tв – температура воздуха в помещении, oС.
Gпр – расход воды через прибор, кг/ч, определяемый с учетом схемы присоединения прибора к трубам (двухтрубная система) определяют по формуле:
, кг/ч
где: с – теплоемкость воды, равная 4,19 кДж/кг0С;
Qn – теплопотери помещения из таблицы 3, Вт;
tГ , tо - расчетная температура горячей и охлажденной воды в системе отопления, оС;
β1 – коэффициент зависящий от шага номенклатурного ряда (β1=1,03);
β2 – коэффициент зависящий от вида прибора и способа установки.
2). Расчетное число приборов определяем по формуле:
, шт.
где Qн.у – номинальный условный тепловой поток прибора, Вт;
β3-коэффициент учета числа секций стального радиатора;
коэффициент β4 для радиаора РСГ2 не учитывается.
Тепловой расчет отопительных приборов выполняем с занесением результатов расчета в таблицу 2 приложения.
Расчет помещения №104, стояка №1:
Qn104= 1282,5 (Вт)
;
(0С)
Qтруб = qвlв + qгlг; Qтруб =82·7.09+64·8.59=1131.14 (Вт)
Qпр = Qп – βтр Qтр; Qпр = 1282.5-1131.14·0,5=716.93 (Вт)
;
(кг/ч)
;
;
(Вт)
По
выбираем марку отопительного прибора, ориентируясь на его условный номинальный тепловой поток: РСГ2-1-6, Qн.у=1056(Вт).
;
(шт.)
-
Гидравлический расчет системы водяного отопления
Гидравлический расчет трубопроводов системы водяного отопления заключается в определении диаметров трубопроводов необходимых для перемещения определенного количества (расхода) теплоносителя, потерь давления в системе отопления и выбора насосного оборудования. При этом должна быть гарантирована подача теплоносителя во все части системы отопления для обеспечения расчетных тепловых нагрузок нагревательных приборов, бесшумность работы и удаление воздуха из системы отопления.
На принципиальной схеме системы отопления определям все циркуляционные кольца системы отопления и выбираем для расчёта главное кольцо. Главное циркуляционное кольцо - кольцо с наибольшей пртяженностью и с наибольшей тепловой нагрузкой. Главное циркуляционное кольцо разбиваем на расчетные участки . На расчетной схеме проставляем нумерацию участков по ходу движения теплоносителя Nуч, указываем тепловую нагрузку Qуч в Вт. На основании расчета теплопотерь помещений, подбора и размещения нагревательных приборов на схеме наносим тепловые нагрузки на приборы, суммируя их по отдельным стоякам и веткам, определяем тепловые нагрузки участков.
Расчет начинаем с участка с наименьшей тепловой нагрузкой Q, Вт, т.е. определения наименьшего диаметра d, мм в системе отопления.
Порядок определения диаметров и определения потерь давления на участке заключается в следующем.
Определяют расчетный расход воды на участке Gуч , кг/час, который является исходной величиной для выбора диаметра по формуле:
, кг/час
где Qуч – тепловая нагрузка участка, определяемая по расчетной схеме и данным расчета теплопотерь в помещениях, Вт;
tг – температура подаваемой воды, равная 95 °С;
tо - температура охлажденной воды, равная 70 °С;
β1 и β2 – то же, что и в таблице 2 приложения.
По значению расхода воды на участке G, кг/час, ориентируясь на допустимые скорости движения воды назначают минимальный диаметр трубопровода d мм и выписывают соответствующие значения удельной потери на трение по длине R, Па/м, скорость движения воды V, м/сек, используя таблицы гидравлического расчета [5, приложение II, таблица II.1, стр. 212] – для стальных труб. При выборе диаметров труб учитывают предельные значения скорости движения воды. Минимальная скорость движения воды из условия удаления воздуха составляет 0.1 м/с – вертикальные трубопроводы, 0.25 м/с – горизонтальные трубопроводы, максимальная скорость – 0.25 – 0.4 м/с. Аналогично определяют диаметры остальных участков, а данные расчета заносят в таблицу 3 приложения.
Определив виды местных сопротивлений на каждом расчетном участке по расчетной схеме (отопительные приборы, запорно-регулирующая арматура, фасонные части – переходы, отводы, тройники, крестовины, изгибы труб, теплосчетчики или счетчики воды, фильтры, при периметральной схеме и т.д.), определяем значение ζ каждого вида местного сопротивления для стальных труб [5, приложение II, табл. II.10-II.12, стр. 258]. Затем определяем значение Σζ на расчетном участке. Местное сопротивление ζ, принадлежащее двум смежным участкам (переходы, тройники, крестовины…) относим к участку с большей скоростью движения теплоносителя. Используя значения Σζ и скорости движения воды V, м/сек на расчетном участке, определяют потери давления в местных сопротивлениях расчетного участка Z, Па по [5, приложение II, таблица II.3, стр. 235] или по формуле:
Z = ρυ2/2 = 500V2, Па.
Общие потери давления на участке трубопровода выражаются суммой потерь на трение и в местных сопротивлениях. Потери давления на участке трубопровода ΔΡуч, Па определяют по формуле:
, Па
Или
, Па
Коэффициент местных сопротивлений для отопительного прибора РСГ2 (радиатор стальной) ξ=1.5 Па. Запорный клапан RLV- ξ=1.5 Па. Шаровой кран - ξ=0.15 Па. Тройники: прямопроходной - ξ=1 Па, поворотный - ξ=1,5 Па, остальные - ξ=3 Па – для стальных труб. Потеря давления на автоматическом термостатическом вентиле RTD-N установленного у отопительного прибора и на квартирном теплосчетчике Z=10кПа, фильтра Z=500Па, счетчик воды Z= 5 кПа.
-
-
Проектирование теплового пункта системы отопления
Присоединение системы отопления к центральным тепловым сетям осуществляется в тепловом пункте, где устанавливаются: запорно–регулирующая арматура; приборы учета, регулирования и контроля параметров теплоносителя, фильтры, насосно-смесительное (насосы или элеваторы) и теплообменное оборудование.
Выбор схемы теплового пункта определяется необходимостью снижения температуры теплоносителя в системе отопления, при этом учитывают разность давлений на вводе тепловых сетей, потери давления и величину допускаемого рабочего давления в системе отопления, а также назначение здания и другие технико-экономические показатели. В данном курсовом проекте предусмотрена зависимая схема теплового пункта с установкой смесительного насоса. Данной схемой обеспечивается подача теплоносителя в систему отопления с предельным допустимым значением Т11 , полученная путем смешения первичного теплоносителя поступающего из тепловых сетей Т1 и охлажденного, поступающего из обратного трубопровода системы отопления Т2 по перемычке в точку смешения.
Выбор насоса производится по величине напора Н и подаче насоса G по технической характеристике выбранного типа насосов по каталогу фирмы-изготовителя насосного оборудования GRUNDFOSS.
Η=ΔΡсо + 20 кПа
где: ΔΡсо- потери давления в системе отопления (по главному циркуляционному кольцу – максимальное значение из таблицы 3 приложения).
Подачу насоса G, кг/час определяют по формуле:
G=1,1GdoU
где Gdo – расчетный максимальный расход воды на отопление из тепловой сети кг/час, определяют по формуле:
, кг/час
где: Qomax – максимальный тепловой поток на отопление (суммарные теплопотери здания из 2 графы таблицы 3 – участок 1-2), Вт;
с – удельная теплоемкость воды, кДж/кгоС (с = 4,190 кДж/кгК)
U - коэффициент смешения, определяемый по формуле:
где: Т1 – температура воды в подающем трубопроводе тепловой сети при расчетной температуре наружного воздуха для проектирования отопления to, оС следует 130 0С;
Т11 – температура воды в подающем трубопроводе системы отопления,0С;
Т2 – температура воды в обратном трубопроводе системы отопления, 0С.
Расчет:
Η = 30458.4+20000 = 50458.4(Па) = 5.05 (м.в.ст.)
U =
= 1,4
Gdo =
= 951.11 (кг/ч) = 0.95 ( м3/ч)
G = 1,1·0.95·1,4 = 1.50( м3/ч)
По полученным значениям напора Н и подаче G подбираем марку насоса, используя диаграммы характеристик насосов, приведенных в каталоге фирмы-изготовителя насосного оборудования GRUNDFOSS. Выбираем насос марки UPS 25-80.
Число параллельно устанавливаемых насосов принимаем в количестве двух штук, один из которых является резервным.
8. Конструирование и расчет системы вентиляции.
Вентиляция помещений естественная, общеобменная. Приток воздуха осуществляется через поры и неплотности ограждающих конструкций или форточки окон, вытяжка – через вертикальные вентиляционные каналы кухонь и санузлов. Каналы размером 140х250 мм (эквивалентные диаметры соответственно 180 мм), проложены в толще внутренних капитальных стен.
1). Расчет системы вентиляции
Количество воздуха Vк, м3/с, которое необходимо удалять через вентиляционные каналы определяют по формуле:
Vк=3ΣFn-50
где 3 – воздухообмен в квартире жилого дома определяют из расчета 3 м3/ч воздуха на 1 м2 площади пола жилой комнаты;
ΣFn – суммарная площадь жилых комнат квартиры, м2 :
ΣFn = 49.92 м2.
Vк=99.8м3/ч
90 – минимальный расход воздуха, м3/ч, удаляемый из кухни с 4-х комфорочной газовой плитой.
Гравитационное давление Ргр, Па определяют по формуле:
Ргр=hg(ρн-ρв)
где h – вертикальное расстояние от центра оконного проема соответствующего этажа до устья вытяжной шахты, м;
ρн, ρв – плотность наружного, внутреннего воздуха, кг/м3,
g – ускорение свободного падения тел g=9,81 м/с2.
Плотность воздуха ρt, кг/м3 при любой температуре определяется из выражения:
ρt=353/(273+t)
Расчет воздуховодов осуществляется по номограмме [7,стр. 259], составленной для круглых стальных воздуховодов.
Определим скорость воздуха в канале:
υ =Vк/(fк 3600)
где fк – площадь вентиляционного канала, м2.
υ =99.8/(0.035· 3600) = 0.8 (м/с)
По номаграмме по эквивалентному диаметру и скорости воздуха определяем потерю давления на трение R, Па/м и динамическое давление Рд, Па.
Определим потери давления на преодоление сил трения ΔPтр, Па, на каждом канале:
где R – удельная потеря давления на терение, Па/м
l – длина участка, м.
m – поправка, учитывающая форму канала, из номограммы[8,стр. 65],
n – поправка, учитывающая шероховатость, определяемая в зависимости от абсолютной шероховатости.
Значения n принимаются из таблицы [8,стр. 84] по коэффициенту К, равному 0.45 – для канала из кирпичной кладки с отштукатуренной паоверхностью[8,стр. 101].
Определим потери давления в местных сопротивлениях на каждом канале:
Z=РдΣξр
где Рд – динамическое давление;
Σξр – сумма коэффициентов местных сопротивлений: железная решетка - ξ = 1.7 Па, отвод под углом 90°
- ξ = 1.2 Па, зонт- ξ = 1.3 Па.
Определим полные потери давления в вентиляционном канале:
ΔР= ΔРтр+Z
Определим невязку, сравнивая аэродинамическое сопротивление канала с располагаемым гравитационным давлением:
Для участка №1:
(Па)
ΔP = 0.07·9.46·1.19·1.38+0.38·4.2 = 2.69 (Па)
Для участка №2:
ΔP = 0.07·6.46·1.19·1.38+0.38·4.2 = 2.34 (Па)
Для участка №3:
ΔP = 0.07·3.46·1.19·1.38+0.38·4.2 = 2,00 (Па)
.
Результаты заносим в таблицу 4 приложения.
9. Список используемой литературы
-
СНиП 41-01-2003.Отопление, вентиляция и кондиционирование / Госстрой России. – М.: ГУП ЦПП, 2004.
-
СНиП 23-02-2003. Тепловая защита зданий / Госстрой России. – М.: ГУП ЦПП, 2003.
-
СНиП 23-01-99*. Строительная климатология / Госстрой России. – М.: ГУП ЦПП, 2003.
-
СНиП II-03-79*. Строительная теплотехника / Госстрой России. – М.: ГУП ЦПП, 1998.
-
Справочник проектировщика. Внутренние санитарно – технические устройства. Часть I. "Отопление". Под ред. Староверова И.Г. – М.: Стройиздат, 1990.
-
Циркуляционные насосы для отопительных систем: "Grundfos".
-
Тихомиров К.В., Сергеенко Э.С. Теплотехника, тепло- и газоснабжение и вентиляция: Учеб. для вузов. – 4-е изд., перераб. и доп. – М.: Стройиздат, 1991. – 480 с.: ил.
-
Щекин Р.В., Кореневский Г.Е., Скороходько Ф.И. Справочнк по теплоснабжению и вентиляции. Книга вторая: "Вентиляция и кондиционирование воздуха". - 4-е изд., перераб. и доп. – Киев.: Будiвельник, 1976. – 352 с.
Приложения
Таблица 2
| № стояка , № помещения | Теплопотери помещения QП, Вт | Теплоотдача отдельных труб Q тр, Вт | Теплоотдача прибора Q пр, Вт | Коэффициент β1 | Коэффициент β2 | Температура воздуха в помещении tВ, °С | Температура воды на входе в прибор tВх, °С | Температура воды на выходе из прибора tВых, °С | Температурный напор, t, °С | Расход воды через прибор Gпр, кг/ч | Коэффициент n | Коэффициент p | Коэффициент c | Коэффициент φ | Коэффициент b | Коэффициент φк | Требуемый номинальный тепловой поток Qнп, Вт | Коэффициент β3 | Коэффициент β4 | Условный номинальный тепловой поток Qну, Вт | Число приборов | Марка приборов |
| 1 | 2 | 3 | 4 | 5 | 6 | 7 | 8 | 9 | 10 | 11 | 12 | 13 | 14 | 15 | 16 | 17 | 18 | 19 | 20 | 21 | 22 | 23 |
| ст. 1 | РСГ | |||||||||||||||||||||
| 104 | 1282,50 | 1131,14 | 716,93 | 1,03 | 1,04 | 21 | 95 | 70 | 61,5 | 26 | 0,3 | 0,025 | 1 | 1 | 0,991 | 0,78 | 919,14 | 1,02 | - | 1056 | 1 | 2-1-6 |
| 102 | 1360,67 | 810,22 | 955,56 | 1,03 | 1,04 | 21 | 95 | 70 | 61,5 | 35 | 0,3 | 0,025 | 1 | 1 | 0,991 | 0,79 | 1209,57 | 1,02 | - | 1231 | 1 | 2-1-7 |
| 101 | 1974,11 | 1556,09 | 1196,06 | 1,03 | 1,04 | 23 | 95 | 70 | 58,5 | 44 | 0,3 | 0,025 | 1 | 1 | 0,991 | 0,94 | 1272,40 | 1,02 | - | 1406 | 1 | 2-1-8 |
| 103 | 1228,87 | 381,36 | 1038,19 | 1,03 | 1,04 | 21 | 95 | 70 | 61,5 | 38 | 0,3 | 0,025 | 1 | 1 | 0,991 | 0,79 | 1314,16 | 1,02 | - | 1406 | 1 | 2-1-8 |
| 204 | 1172,83 | 1131,14 | 607,26 | 1,03 | 1,04 | 21 | 95 | 70 | 61,5 | 22 | 0,3 | 0,025 | 1 | 1 | 0,991 | 0,78 | 778,54 | 1,02 | - | 881 | 1 | 2-1-5 |
| 202 | 1230,58 | 810,22 | 825,47 | 1,03 | 1,04 | 21 | 95 | 70 | 61,5 | 30 | 0,3 | 0,025 | 1 | 1 | 0,991 | 0,79 | 1044,90 | 1,02 | - | 1056 | 1 | 2-1-6 |
| 201 | 1822,41 | 1556,09 | 1044,37 | 1,03 | 1,04 | 23 | 95 | 70 | 58,5 | 38 | 0,3 | 0,025 | 1 | 1 | 0,991 | 0,74 | 1411,31 | 1,02 | - | 1581 | 1 | 2-1-9 |
| 203 | 1102,97 | 381,36 | 912,29 | 1,03 | 1,04 | 21 | 95 | 70 | 61,5 | 34 | 0,3 | 0,025 | 1 | 1 | 0,991 | 0,79 | 1154,80 | 1,02 | - | 1231 | 1 | 2-1-7 |
| 304 | 1356,49 | 1131,14 | 934,92 | 1,03 | 1,04 | 21 | 95 | 70 | 61,5 | 35 | 0,3 | 0,025 | 1 | 1 | 0,991 | 0,79 | 1183,44 | 1,02 | - | 1231 | 1 | 2-1-7 |
| 302 | 1439,66 | 810,22 | 1034,55 | 1,03 | 1,04 | 21 | 95 | 70 | 61,5 | 38 | 0,3 | 0,025 | 1 | 1 | 0,991 | 0,79 | 1309,56 | 1,02 | - | 1406 | 1 | 2-1-8 |
| 301 | 2097,55 | 1556,09 | 1319,51 | 1,03 | 1,04 | 23 | 95 | 70 | 58,5 | 49 | 0,3 | 0,025 | 1 | 1 | 0,991 | 0,75 | 1759,35 | 1,02 | - | 2012 | 1 | 2-1-7 |
| 303 | 1305,30 | 381,36 | 1114,62 | 1,03 | 1,04 | 21 | 95 | 70 | 61,5 | 41 | 0,3 | 0,025 | 1 | 1 | 0,991 | 0,79 | 1410,91 | 1,02 | - | 1446 | 1 | 2-2-5 |
| ст.2 | ||||||||||||||||||||||
| 109 | 1305,02 | 1131,14 | 739,45 | 1,03 | 1,04 | 21 | 95 | 70 | 61,5 | 27 | 0,3 | 0,025 | 1 | 1 | 0,991 | 0,78 | 948,01 | 1,02 | - | 1056 | 1 | 2-1-6 |
| 108 | 1342,25 | 597,02 | 1043,74 | 1,03 | 1,04 | 21 | 95 | 70 | 61,5 | 38 | 0,3 | 0,025 | 1 | 1 | 0,991 | 0,79 | 1321,19 | 1,02 | - | 1406 | 1 | 2-1-8 |
| 107 | 2070,59 | 1685,99 | 1227,6 | 1,03 | 1,04 | 23 | 95 | 70 | 58,5 | 45 | 0,3 | 0,025 | 1 | 1 | 0,991 | 0,75 | 1636,80 | 1,02 | - | 1730 | 1 | 2-2-6 |
| 106 | 1120,76 | 180,46 | 1030,53 | 1,03 | 1,04 | 21 | 95 | 70 | 61,5 | 38 | 0,3 | 0,025 | 1 | 1 | 0,991 | 0,79 | 1304,47 | 1,02 | - | 1406 | 1 | 2-1-8 |
| 209 | 1195,34 | 1131,14 | 629,77 | 1,03 | 1,04 | 21 | 95 | 70 | 61,5 | 45 | 0,3 | 0,025 | 1 | 1 | 0,991 | 0,80 | 787,21 | 1,02 | - | 881 | 1 | 2-1-5 |
| 208 | 1216,35 | 597,02 | 917,84 | 1,03 | 1,04 | 21 | 95 | 70 | 61,5 | 34 | 0,3 | 0,025 | 1 | 1 | 0,991 | 0,79 | 1161,82 | 1,02 | - | 1231 | 1 | 2-1-7 |
| 207 | 1910,23 | 1685,99 | 1067,24 | 1,03 | 1,04 | 23 | 95 | 70 | 58,5 | 39 | 0,3 | 0,025 | 1 | 1 | 0,991 | 0,74 | 1442,22 | 1,02 | - | 1581 | 1 | 2-1-9 |
| 206 | 1007,45 | 180,46 | 917,22 | 1,03 | 1,04 | 21 | 95 | 70 | 61,5 | 34 | 0,3 | 0,025 | 1 | 1 | 0,991 | 0,79 | 1610,04 | 1,02 | - | 1730 | 1 | 2-2-6 |
| 309 | 1379,0 | 1131,14 | 957,43 | 1,03 | 1,04 | 21 | 95 | 70 | 61,5 | 35 | 0,3 | 0,025 | 1 | 1 | 0,991 | 0,79 | 1211,94 | 1,02 | - | 1231 | 1 | 2-1-7 |
| 308 | 1418,68 | 597,02 | 1120,17 | 1,03 | 1,04 | 21 | 95 | 70 | 61,5 | 41 | 0,3 | 0,025 | 1 | 1 | 0,991 | 0,79 | 1417,94 | 1,02 | - | 1581 | 1 | 2-1-9 |
| 307 | 2213,26 | 1685,99 | 1370,27 | 1,03 | 1,04 | 23 | 95 | 70 | 58,5 | 50 | 0,3 | 0,025 | 1 | 1 | 0,991 | 0,75 | 1827,03 | 1,02 | - | 2012 | 1 | 2-2-7 |
| 306 | 1189,49 | 180,46 | 1099,26 | 1,03 | 1,04 | 21 | 95 | 70 | 61,5 | 41 | 0,3 | 0,025 | 1 | 1 | 0,991 | 0,79 | 1391,47 | 1,02 | - | 1406 | 1 | 2-1-8 |
| ст.3 | ||||||||||||||||||||||
| 113 | 1305,02 | 1131,14 | 739,45 | 1,03 | 1,04 | 21 | 95 | 70 | 61,5 | 27 | 0,3 | 0,025 | 1 | 1 | 0,991 | 0,78 | 948,01 | 1,02 | - | 1056 | 1 | 2-1-6 |
| 114 | 1258,91 | 597,02 | 960,40 | 1,03 | 1,04 | 21 | 95 | 70 | 61,5 | 35 | 0,3 | 0,025 | 1 | 1 | 0,991 | 0,79 | 1215,70 | 1,02 | - | 1231 | 1 | 2-1-7 |
| 115 | 1760,75 | 368,24 | 1576,63 | 1,03 | 1,04 | 21 | 95 | 70 | 61,5 | 58 | 0,3 | 0,025 | 1 | 1 | 0,991 | 0,80 | 1970,79 | 1,02 | - | 2012 | 1 | 2-2-7 |
| 213 | 1186,29 | 1131,14 | 620,72 | 1,03 | 1,04 | 21 | 95 | 70 | 61,5 | 23 | 0,3 | 0,025 | 1 | 1 | 0,991 | 0,78 | 795,79 | 1,02 | - | 881 | 1 | 2-1-5 |
| 214 | 1133,01 | 597,02 | 834,50 | 1,03 | 1,04 | 21 | 95 | 70 | 61,5 | 31 | 0,3 | 0,025 | 1 | 1 | 0,991 | 0,79 | 1056,33 | 1,02 | - | 1056 | 1 | 2-1-6 |
| 215 | 1609,67 | 368,24 | 1425,55 | 1,03 | 1,04 | 21 | 95 | 70 | 61,5 | 52 | 0,3 | 0,025 | 1 | 1 | 0,991 | 0,80 | 1781,94 | 1,02 | - | 2012 | 1 | 2-2-7 |
| 313 | 1379,0 | 1131,14 | 957,43 | 1,03 | 1,04 | 21 | 95 | 70 | 61,5 | 35 | 0,3 | 0,025 | 1 | 1 | 0,991 | 0,79 | 1211,94 | 1,02 | - | 1231 | 1 | 2-1-7 |
| 314 | 1334,35 | 597,02 | 1035,84 | 1,03 | 1,04 | 21 | 95 | 70 | 61,5 | 38 | 0,3 | 0,025 | 1 | 1 | 0,991 | 0,79 | 1311,19 | 1,02 | - | 1406 | 1 | 2-1-8 |
| 315 | 1852,47 | 368,24 | 1668,35 | 1,03 | 1,04 | 21 | 95 | 70 | 61,5 | 61 | 0,3 | 0,025 | 1 | 1 | 0,991 | 0,80 | 2085,44 | 1,02 | - | 2294 | 1 | 2-1-8 |
| ст.4 | ||||||||||||||||||||||
| 120 | 1282,5 | 1131,14 | 716,93 | 1,03 | 1,04 | 21 | 95 | 70 | 61,5 | 26 | 0,3 | 0,025 | 1 | 1 | 0,991 | 0,78 | 919,14 | 1,02 | - | 1056 | 1 | 2-1-6 |
| 119 | 1649,24 | 990,62 | 1153,93 | 1,03 | 1,04 | 21 | 95 | 70 | 61,5 | 43 | 0,3 | 0,025 | 1 | 1 | 0,991 | 0,79 | 1460,67 | 1,02 | - | 1581 | 1 | 2-1-9 |
| 118 | 1193,66 | 968,09 | 709,62 | 1,03 | 1,04 | 23 | 95 | 70 | 58,5 | 26 | 0,3 | 0,025 | 1 | 1 | 0,991 | 0,73 | 972,08 | 1,02 | - | 1056 | 1 | 2-1-6 |
| 116 | 1353,53 | 652,89 | 1027,08 | 1,03 | 1,04 | 23 | 95 | 70 | 58,5 | 38 | 0,3 | 0,025 | 1 | 1 | 0,991 | 0,74 | 1387,95 | 1,02 | - | 1406 | 1 | 2-1-8 |
| 220 | 1172,83 | 1131,14 | 607,26 | 1,03 | 1,04 | 21 | 95 | 70 | 61,5 | 22 | 0,3 | 0,025 | 1 | 1 | 0,991 | 0,78 | 778,54 | 1,02 | - | 881 | 1 | 2-1-5 |
| 219 | 1498,16 | 990,62 | 1002,85 | 1,03 | 1,04 | 21 | 95 | 70 | 61,5 | 37 | 0,3 | 0,025 | 1 | 1 | 0,991 | 0,79 | 1269,43 | 1,02 | - | 1406 | 1 | 2-1-8 |
| 218 | 1114,31 | 968,09 | 630,27 | 1,03 | 1,04 | 23 | 95 | 70 | 58,5 | 23 | 0,3 | 0,025 | 1 | 1 | 0,991 | 0,73 | 863,38 | 1,02 | - | 881 | 1 | 2-1-5 |
| 216 | 1274,18 | 652,89 | 947,73 | 1,03 | 1,04 | 23 | 95 | 70 | 58,5 | 35 | 0,3 | 0,025 | 1 | 1 | 0,991 | 0,74 | 1280,72 | 1,02 | - | 1406 | 1 | 2-1-8 |
| 320 | 1356,49 | 1131,14 | 934,92 | 1,03 | 1,04 | 21 | 95 | 70 | 61,5 | 35 | 0,3 | 0,025 | 1 | 1 | 0,991 | 0,79 | 1183,44 | 1,02 | - | 1231 | 1 | 2-1-7 |
| 319 | 1338,93 | 990,62 | 843,62 | 1,03 | 1,04 | 21 | 95 | 70 | 61,5 | 31 | 0,3 | 0,025 | 1 | 1 | 0,991 | 0,79 | 1067,87 | 1,02 | - | 1231 | 1 | 2-1-7 |
| 318 | 1280,65 | 968,09 | 796,61 | 1,03 | 1,04 | 23 | 95 | 70 | 58,5 | 29 | 0,3 | 0,025 | 1 | 1 | 0,991 | 0,74 | 1076,50 | 1,02 | - | 1231 | 1 | 2-1-7 |
| 316 | 1440,55 | 652,89 | 1114,1 | 1,03 | 1,04 | 23 | 95 | 70 | 58,5 | 41 | 0,3 | 0,025 | 1 | 1 | 0,991 | 0,74 | 1505,54 | 1,02 | - | 1581 | 1 | 2-1-7 |
| ЛК | ||||||||||||||||||||||
| 111 | 2839,85 | 992,58 | 2343,56 | 1,03 | 1,04 | 18 | 95 | 70 | 64,5 | 86 | 0,3 | 0,025 | 1 | 1 | 0,991 | 0,86 | 2725,07 | 1,02 | - | 1406 | 2 | 2-1-8 |
Таблица № 3: "Гидравлический расчет системы отопления"
| № участка | Тепловая нагрузка участка Qуч, Вт | Расход воды на участке Gуч, кг/ч | Длина участка l, м | Диаметр участка d, мм | Скорость движения воды V, м/с | Удельная потеря на трение R, Па/м | Потери давления на трение по длине участка R·l, Па | Сумма коэффициен-тов местного сопротивле-ния Σξ, Па | Потери давления в местных сопротив-лениях Z, Па | Общие потери давления на участке R·l + Z | Прило-жение |
| Главное циркуляционное кольцо - стояк №1 | |||||||||||
| 1-2 | 66356.71 | 2445 | 4.9 | 40 | 0.503 | 95 | 465.5 | 3.15 | 398.5 | 864.0 | |
| 2-3 | 37582.21 | 1385 | 0.4 | 32 | 0.377 | 65 | 26 | 1.0 | 71.1 | 97.1 | |
| 3-4 | 20213.79 | 745 | 1.4 | 25 | 0.348 | 80 | 112 | 1.0 | 60.5 | 172.5 | |
| 4-5 | 17373.94 | 640 | 7.5 | 25 | 0.300 | 60 | 450 | 4.15 | 186.75 | 636.75 | |
| 5-6 | 11527.79 | 425 | 3.0 | 20 | 0.321 | 95 | 285 | 1.0 | 51.5 | 336.5 | |
| 6-7 | 6199.0 | 228 | 4.4 | 15 | 0.308 | 130 | 572 | 9.15 | 434.0 | 6506.0 | |
| 7-8 | 4842.51 | 178 | 4.7 | 15 | 0.239 | 80 | 376 | 5.5 | 157.1 | 533.1 | |
| 8-9 | 3402.85 | 125 | 3.1 | 15 | 0.165 | 40 | 124 | 2.5 | 34.0 | 1158.0 | |
| 9-9’ | 1305.30 | 48 | 17.5 | 10 | 0.101 | 22 | 385 | 13.5 | 68.9 | 10453.9 | |
| 9’-8’ | 3402.85 | 125 | 3.1 | 15 | 0.165 | 40 | 124 | 4.5 | 61.3 | 185.3 | |
| 8’-7’ | 4842.51 | 178 | 4.7 | 15 | 0.239 | 80 | 376 | 7.5 | 214.2 | 590.2 | |
| 7’-6’ | 6199.0 | 228 | 6.4 | 15 | 0.308 | 130 | 832 | 9.15 | 434.0 | 6258.9 | |
| 6’-5’ | 11527.79 | 425 | 3.0 | 20 | 0.321 | 95 | 285 | 3.0 | 154.6 | 439.6 | |
| 5’-4’ | 17373.94 | 640 | 7.4 | 25 | 0.300 | 60 | 444 | 7.65 | 344.25 | 781.65 | |
| 4’-3’ | 20213.79 | 745 | 1.2 | 25 | 0.348 | 80 | 96 | 3.0 | 181.7 | 277.7 | |
| 3’-2’ | 37582.21 | 1385 | 0.8 | 32 | 0.377 | 65 | 52 | 3.0 | 213.2 | 265.2 | |
| 2’-1’ | 66356.71 | 2445 | 5.3 | 40 | 0.503 | 95 | 503.5 | 3.15 | 398.5 | 902.0 | |
| Σ 30458,4 | |||||||||||
Таблица №4: "Аэродинамический расчет вытяжной системы ветиляции"
| № этажа, наименование системы | Кол-во удаляемого воздуха l, м3/ч | Площадь сечения, axb, мм х мм | Эквивалентн. диаметр, d, мм | L, м – длина воздуховода (канала) | V- скорость воздуха, м/с | R- удельная потеря давления на трение, Па/м | Поправочный коэф-т m | Коэф-т абсолют. шероховатости, К | Коэф-т, учитыв. Шероховатость, n | Потери давления на трение ΔPl, Па | Сумма к местному сопрот. Σξ | Динамическ. Давление, Pd, Па | Потери давления в мест.сопр-х, Z, Па | Суммар-епотери давления на расч. Участке, ΔPl+Z, Па | Гравитационное давление, Ргр, Па | Невязка, А,% |
| 1 | 2 | 3 | 4 | 5 | 6 | 7 | 8 | 9 | 10 | 11 | 12 | 13 | 14 | 15 | 16 | 17 |
| 1,ВЕ1 | 99,8 | 140х250 | 180 | 9,46 | 0,8 | 0,07 | 1,19 | 0,45 | 1,38 | 1,09 | 4,2 | 0,38 | 1,60 | 2,69 | 6,34 | 58 |
| 2, ВЕ1 | 99,8 | 140х250 | 180 | 6,46 | 0,8 | 0,07 | 1,19 | 0,45 | 1,38 | 0,74 | 4,2 | 0,38 | 1,60 | 2,34 | 4,43 | 47 |
| 3, ВЕ1 | 99,8 | 140х250 | 180 | 3,46 | 0,8 | 0,07 | 1,19 | 0,45 | 1,38 | 0,40 | 4,2 | 0,38 | 1,60 | 2,0 | 2,52 | 21 |
















