144366 (620546), страница 2
Текст из файла (страница 2)
,
,
.
Тогда:
. Принимаем:
.
,
где
,
,
,
.
.
- нейтральная ось проходит в полке, следовательно, сечение рассматривается как прямоугольное шириной
.
,
Площадь арматуры:
.
(
– арматура класса А-400).
Принимаем диаметр стержней 14 мм, их количество 4 штуки.
3.2 Подбор арматуры в среднем пролете
,
Площадь арматуры:
.
(
– арматура класса А-400).
Принимаем диаметр стержней 18 мм, их количество 2 штуки: (
) – 218А400.
3.3 Подбор арматуры на опоре
На опоре балка армируется двумя сетками. Растянутая полка в расчете не учитывается, рассматривается прямоугольное сечение
. Принимаем арматуру класса В500,
. При назначении рабочей высоты сечения необходимо учесть, что над этими сетками должны располагаться арматурные сетки плиты перекрытия. Тогда:
, задаемся
,
.
,
Площадь арматуры:
.
(
– арматура класса В-500).
Принимаем диаметр стержней 8 мм, их количество 9 штук
(
) – 98В500 – количество стержней в двух сетках.
Сетки устанавливаются на ширине
. Шаг сеток
, где
- количество стержней.
. Сетки раскатываются поперек второстепенной балки, рабочая арматура поперечная. Продольная арматура принимается конструктивно.
С3:
(
).
3.4 Подбор верхней арматуры в пролете
Крайний пролет
,
,
,
.
Средний пролет
,
.
Т.к. на расстоянии 1/3L момент ни в крайнем, ни в среднем пролете не лежит выше нулевой линии, то расчет на подбор верхней арматуры в пролете не нужен. Верхняя арматура в пролете назначается конструктивно: 28А400.
3.5 Расчет второстепенной балки на поперечную силу
Определяется необходимость постановки хомутов:
. Класс бетона В15,
– расчетное сопротивление бетона растяжению.
, т. к.
, то хомуты устанавливают по расчету.
Расчет производится из условия:
,
где
- поперечное усилие, воспринимаемое бетоном, кН,
- момент, воспринимаемый бетоном, кН*м,
- длина проекции наиболее опасного сечения на продольную ось элемента, м, где
– полная расчетная нагрузка, действующая на балку,
– поперечное усилие, воспринимаемое хомутами, кН,
– усилие в хомутах на единицу длины элемента, кН/м.
Примем диаметр поперечных стержней 10 мм, класс арматуры А400,
. Площадь сечения хомутов равна:
.
, примем шаг стержней 200 мм.
Определяем:
.
,
,
.
Определяем:
.
Определяем шаг поперечных стержней:
В средней части шаг принимаем конструктивно – 300 мм.
По конструктивным соображениям в целях унификации каркасов для балок средних пролетов (каркас К2) принимаем поперечные стержни диаметром 10 мм, с шагом 150 и 300 мм, также как и для каркаса К1 в крайнем пролете.
3.6 Расчет обрыва стержней в пролете
,
.
Тогда:
,
.
,
.
,
,
,
,
,
, принимаем
.
, принимаем
.
4. Проектирование и расчёт железобетонной многопустотной плиты перекрытия
4.1 Исходные данные
Размеры плиты номинальные, м – 1,2х6,85
Класс напрягаемой арматуры – А800 (А-V)
Класс бетона – В20
Нормативные и расчетные характеристики бетона и арматуры:
Rb=11,5 МПа
Rbt=0,9 МПа
Rb,ser=15 МПа
Rbt,ser=1,35 МПа
Eb=27,5*103 МПа
b1 =0,9
Для арматуры А800
Rs=695 МПа
Rs,n=800 МПа
Es=20*104 МПа
Для арматуры В500 (Вр-I)
Rs=415 МПа
Rs,n=500 МПа
Rsw=300 МПа
Собственный вес плиты = 3 кН/м2
Принимаем предварительно диаметр напрягаемой арматуры
= 14 мм и защитный слой бетона а=40 мм.
4.2 Статический расчет плиты
Сбор нагрузок на плиту перекрытия
Подсчет нагрузок, действующих на 1 м2 плиты, производится в табличной форме с учетом принятой конструкции пола; нормативное значение собственного веса плиты принимается равным
| № п/п | Вид нагрузки | Нормативная нагрузка qn, кН/м2 | γf | Расчетная нагрузка q, кН/м2 |
| I | Постоянная нагрузка | |||
| 1 | Собственный вес конструкции пола | 0,5686 | – | 0,7363 |
| 2 | Собственный вес плиты | 3,0 | 1,1 | 3,3 |
| Итого | 3,569 | – | 4,036 | |
| II | Временная нагрузка: | 4,1 | 1,2 | 4,92 |
| 1 | Кратковременная | 1,36 | 1,2 | 1,64 |
| 2 | Длительная (принимаем 6*2/3) | 2,73 | 1,2 | 3,28 |
| Всего | 7,67 | – | 8,96 | |
| В том числе: длительная кратковременная | 6,31 | – | 7,32 |
Определение внутренних усилий
Предварительно определим размеры плиты и расчетный пролет:
Размеры плиты –
мм,
мм.
Расчетный пролет –
.
Согласно расчетной схеме, приведенной на рис. 9, определяем моменты и поперечные силы:
-
от полной расчетной нагрузки
;
-
от полной нагрузки
;
-
от нормативной длительной нагрузки
;
-
от нормативной кратковременной нагрузки
;
-
от собственного веса
;
-
поперечная сила от полной расчетной нагрузки
;
-
поперечная сила от полной нормативной нагрузки
.
-
Расчет по предельным состояниям первой группы
Расчет по I-ой группе предельных состояний многопустотной плиты перекрытия включает в себя расчет по прочности нормальных сечений (подбор продольной рабочей арматуры) и расчет по прочности наклонных сечений (подбор хомутов).
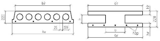
Фактическое сечение плиты (рис. 10) заменяется двутавровым сечением (рис. 11), являющимся расчетным для I-ой группы предельных состояний.
Рис. 10. Фактическое сечение плиты Рис. 11. Расчетное сечение плиты
Геометрические характеристики расчетного сечения:
– ширина плиты по верху
;
– приведенная высота пустоты
;
– суммарная площадь пустот
– приведенная ширина всех пустот
– ширина ребра
– толщина верхней и нижней полок
– рабочая высота сечения
-
Расчет по нормальному сечению
Находим положение нейтральной оси:
– относительная высота сжатой зоны бетона
– высота сжатой зоны бетона
Так как
– то нейтральная ось проходит в полке, расчет выполнен верно.
Граничное значение относительной высоты сжатой зоны бетона:
,
где
– относительная деформация в арматуре растянутой зоны, для арматуры с условным пределом текучести
;
– предельная относительная деформация сжатого бетона,
.
Предварительное напряжение:
где
– расстояние по наружным граням упоров формы.
Принимаем
Так как минимальные потери напряжений 100 МПа, то в формулу
вводим с коэффициентом
; т.е.
.
Уточняем значение
:
Отсюда определяем, что
.
Находим
, принимая при этом
:
В соответствии с требованием п. 3.9 [5] при расчете элементов с высокопрочной арматурой класса А-V при соблюдении условия
расчетное сопротивление арматуры
должно быть умножено на коэффициент
. Находим его по формуле:
.
В соответствии с полученной площадью сечения по сортаменту принимаем 612A800 (
= 6,79 см2).
Уточняем значение высоты сжатой зоны бетона х:
Определяем несущую способность, принимая
равными нулю, по формуле:
Несущая способность плиты обеспечена.
-
Расчет по наклонному сечению
Расчет на действие поперечных сил
Прочность по бетонной полосе между наклонными сечениями проверяем по условию:
Так как
то условие выполнено.
Определяем необходимость постановки поперечной арматуры по выполнению условия:
,
где
– расчетная поперечная сила на опоре;
– минимальная поперечная сила, воспринимаемая бетоном,
,
где
– расчетное сопротивление бетона растяжению;
– коэффициент, учитывающий предварительные напряжения.
Коэффициент
вычисляется по формуле:
где
– площадь бетонного сечения без учета свесов сжатой полки;
– усилие от напрягаемой арматуры, расположенной в растянутой зоне.
Таким образом,
Так как
, то требуется постановка поперечной арматуры.
Принимаем четыре каркаса с арматурой 4В500 и шагом поперечных стержней 100 мм
, тогда
.
















