144359 (620539)
Текст из файла
1. Исходные данные
Рама с ригелем в виде арки треугольного очертания с затяжкой (арка из балок, Деревягина).
Пролет
Характер теплового режима: отапливаемое здание
Район строительства: г. Енисейск
Снег: 2,24 кН/м2.
α=19,4
2. Расчет клеефанерной панели
Принимаем клеефанерную панель с размерами 5,581,38 м. с пятью продольными ребрами, расстояние между которыми составляет 46 см и четырьмя поперечными.
Для облицовки используем водостойкую фанеру ф=0,8 см, hp= 19,2 см.
см (не проходит) hp= 19,2 см.
Сбор нагрузок на 1 м2 панели
| № п/п | Вид нагрузки | gn, кН/м2 | m | gp, кН/м2 |
| I | Постоянная нагрузка | |||
| 1 | Асбестоцементные листы ОП | 0,15 | 1,1 | 0,165 |
| 2 | Утеплитель (мин. вата) | 0,068 | 1,2 | 0,082 |
| 3 | Пароизоляция | 0,02 | 1,2 | 0,024 |
| 4 | Продольные ребра 0,19250,0525/1,45= | 0,172 | 1,1 | 0,189 |
| 5 | Поперечные ребра 0,19240,0525/5,57= | 0,036 | 1,1 | 0,0396 |
| 6 | Обшивка из фанеры 0,0087= | 0,056 | 1,1 | 0,0616 |
| Итого: | 0,502 | 0,561 | ||
| II | Временная нагрузка | |||
| 1 | Снеговая | 2,24 | 3,2 | |
| Итого: | 2,742 | 3,761 |
Нагрузка на 1 м погонный:
Находим максимальные внутренние силовые факторы:
;
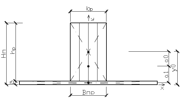
Расчетное сечение клеефанерной панели
=0,8 см; hp=19,2 см
Вр=0,9138.2=124.4 см
Впр=45,2=20,8 см
Н0=19,2+0,8=20 см
y0=8,7 см
y0/= 11,3 см
-
Статический момент площади сечения:
-
Расстояние от нижнего края сечения до нейтральной оси:
y0/=11,3 см; yp=1.7 см.
Приведенный момент инерции:
-
Приведенный момент сопротивления:
Проверка обшивки в растянутой зоне:
Проверка ребра в сжатой зоне:
,
Проверка фанеры на скалывание вдоль волокон:
Проверка прогиба панели:
2.2 Расчет необходимого числа гвоздей
От сползания по скату плиты удерживаются отрезками металлических уголков, прибиваемых к опорам гвоздями.
Задаемся диаметром гвоздя: dгв=5 мм
Несущая способность гвоздя:
Требуемое количество гвоздей:
гвоздей.
Расстояние от края плиты до первого гвоздя 15d=7,5 см, а между гвоздями 45 см. Длина гвоздя принимаем конструктивно 30d=15 см.
3. Расчет трехшарнирной арки
Нагрузка на покрытие: qp=0,15 кН/м2
Снеговая нагрузка:
- вес снегового покрова на 1 м2 горизонтальной поверхности,
-коэффициент перехода от веса снегового покрова земли к снеговой нагрузке на покрытие.
Определяем собственный вес арки:
Полная нагрузка:
3.1 Статический расчет арки
Расчет арки ведем при двух сочетаниях нагрузки:
I. Постоянная и снеговая нагрузки равномерно распределены по всему пролету [g+P1]:
RA(g+P1)= RB(g+P1)= 110,33 кН; Н(g+P1)= 147,25 кН; F(g+P1)= 110,33 кН;
II. Постоянная нагрузка по всему пролету и снеговая равномерно распределена на 0,5 пролета [q+P2]:
RA(g+P2)=11,77+24,64= 36,41 кН; RB(g+P2)=11,77+73,92=85,69 кН;
НА(g+P2)=15,71+49,28=64,99 кН; НВ(g+P2)=15,71+82,25=97,96 кН;
3.2 Определение усилий в сечениях арки
Сочетание I:
| X, м | М, кНм | Q, кН | N, кН |
| 0 | 0 | 55,155 | 175,537 |
| 2,75 | 159,49 | 0 | 173,673 |
| 5,5 | 0 | -55,155 | 171,810 |
Сочетание II:
Левая стойка
| X, м | М, кНм | Q, кН | N, кН |
| 0 | 0 | 20,94 | 73,39 |
| 2,75 | 55,09 | 0 | 71,53 |
| 5,5 | 0 | -20,94 | 69,67 |
Правая стойка
| X, м | М, кНм | Q, кН | N, кН |
| 0 | 0 | 67,42 | 120,86 |
| 2,75 | 190,61 | 0 | 118,99 |
| 5,5 | 0 | -67,42 | 117,12 |
Максимальные усилия в арке
| X, м | М, кНм | Q, кН | N, кН |
| 0 | 0 | 67,42 | 175,537 |
| 2,75 | 190,61 | 0 | 173,673 |
| 5,5 | 0 | -67,42 | 171,810 |
4. Расчет ригеля из балок Деревягина
Определяем геометрические характеристики:
b=21 cм; h=63 см; F=1323 см2
где κw и κж – коэффициенты для составных элементов определяемые в зависимости от пролета.
4.1 Расчет ригеля как сжато-изгибаемого элемента
-
Проверка прочности
– коэффициент, учитывающий дополнительный момент от продольной силы вследствие прогиба элемента.
Прочность обеспечена
-
Проверка устойчивости
Гибкость в плоскости изгиба и коэффициент продольного изгиба:
а=0.8 для древесины.
Устойчивость обеспечена
-
Относительный прогиб арки:
4.2 Расчет необходимого числа нагелей
Т.к. b>15 см устанавливаем пластинчатые нагели в сечении глухо
Несущая способность одного нагеля:
при глухом соединении.
Требуемое число нагелей:
k=0,2 – коэффициент, учитывающий нормальные силы, приложенные на концах ригеля обоим брусьям
5. Проектирование конькового узла
Деревянные элементы соединяют с помощью деревянных накладок на металлических болтах согласно принятому количеству элементов принятых в нагельном соединении и направлению усилий.
Находим геометрические размеры накладки: диаметр болта d= 2,4 см
При b 10d S1 7d; S2 3,5d; S3 3d
S1=72,4= 16,8 см; S2=3,52,4= 8,4 см; S3=32,4= 7,2 см
Принимаем: S1=18 см; S2=10 см; S3=8 см накладка 7536 мм
е1=S1=18 см; е2=S1=18 см
Определяем усилия:
Определяем расчетную несущую способность на смятие у среднего и крайнего элементов и на срез:
, где – коэффициент по графику
, где а=10 см – толщина накладки
Расчет необходимого числа болтов:
nш – число расчетных швов одного нагеля
В ряду, где действует сила N1:
В ряду, где действует сила N2:
6. Проектирование опорного узла
6.1 Расчет упорной пластины
Из условия смятия верхнего пояса в месте упора, определяем площадь смятия упорной площадки:
;
ширину упорной пластины принимаем b=23 см
;
Определяем фактическое напряжение:
Находим момент:
Определяем момент сопротивления пластины из условия прочности:
;
6.2 Расчет опорной плиты
Определяем площадь опорной плиты из условия на прочность на смятие:
– расчетное сопротивление смятию поперек волокон
Определяем размеры плиты:
принимаем плиту: 4016 см; lk=8 см; Fсм= 640 см2
Определяем фактическое напряжение смятия:
Находим максимальный момент и момент сопротивления:
;
принимаем
=1,2 см.
6.3 Определение анкерных болтов
;
- площадь болта;
- коэффициент условия работы;
Рассчитаем болты от действия распора:
принимаем 2 болта диаметром 24 мм
7. Расчет металлической затяжки
7.1 Подбор сечения
Затяжку выполняем из двух уголков стали С255 (Ry= 24МПа). Из условия прочности определяем требуемую площадь уголков:
,
где m=0,85 – коэффициент, учитывающий неравномерность распределения усилий между стержнями.
- площадь поперечного сечения одного тяжа
принимаем 2 уголка №45: S=23,48=6,96см2; ix=1.38; m=2,73 кг/м
Проверяем гибкость:
ставим 2 подвески, тогда
7.2 Расчет сварного шва
;
- толщина стенки уголка
Крепление затяжки к закладной детали – при помощи сварки. Сварку принимаем полуавтоматическую, положение нижнее «в лодочку», сварочная проволока СВ-08,
Характеристики
Тип файла документ
Документы такого типа открываются такими программами, как Microsoft Office Word на компьютерах Windows, Apple Pages на компьютерах Mac, Open Office - бесплатная альтернатива на различных платформах, в том числе Linux. Наиболее простым и современным решением будут Google документы, так как открываются онлайн без скачивания прямо в браузере на любой платформе. Существуют российские качественные аналоги, например от Яндекса.
Будьте внимательны на мобильных устройствах, так как там используются упрощённый функционал даже в официальном приложении от Microsoft, поэтому для просмотра скачивайте PDF-версию. А если нужно редактировать файл, то используйте оригинальный файл.
Файлы такого типа обычно разбиты на страницы, а текст может быть форматированным (жирный, курсив, выбор шрифта, таблицы и т.п.), а также в него можно добавлять изображения. Формат идеально подходит для рефератов, докладов и РПЗ курсовых проектов, которые необходимо распечатать. Кстати перед печатью также сохраняйте файл в PDF, так как принтер может начудить со шрифтами.















