144273 (620470), страница 2
Текст из файла (страница 2)
Эвакуация из здания 1-го этажа осуществляется на лестничную клетку. Эвакуация из помещений 2-го этажа на лестничную клетку.
Допустимый путь эвакуации -25 м. Рассчитываем эвакуацию по формуле i=1.5√р р- периметр квартиры, Т.е. расстояние до выхода на лестничную клетку из самой удаленной точки.
| Номер помещения | Расстояние до лест. клетки (м) |
| 1 | 15.5 |
| 2 | 14.4 |
| 3 | 16 |
4.Объемно-планировочное решение и конструктивная система здания
4.1Конструктивная система здания
Совокупность вертикальных и горизонтальных элементов, обеспечивающих прочность и устойчивость здания. На несущую стену опирается балка перекрытия. Кроме собственного веса стена выдерживает балку перекрытия вместе с легкобетонными плитами.
В соответствии с анализом всех конструктивных систем, принимаю конструктивную систему – поперечный остов.. При таком остове мы обойдемся обычными балками перекрытия, высотой 250мм и соответствующими длиной и шириной.
4.2 Требования к объемно-планировочным решениям
Квартиры в жилых зданиях следует проектировать исходя из условия заселения их одной семьей. В квартирах следует предусматривать жилые комнаты и подсобные помещения: кухню, переднюю, ванную или душевую, уборную, кладовую (или хозяйственные встроенные шкафы). Допускается устройство помещения для хозяйственных работ, холодной кладовой (или шкафов), вентилируемого сушильного шкафа для верхней одежды и обуви. Площадь гостиной (общей комнаты) в однокомнатной квартире должна быть не менее 14 м2, в квартирах с числом комнат 2 и более - не менее 16 м2, других жилых комнат и кухни - не менее 8 м2. В однокомнатных квартирах типа 1А и двухкомнатных типа 2А городских домов допускается проектировать кухни или кухни-ниши не менее 5 м2.
Площадь спальной жилой комнаты и кухни в надстраиваемом мансардном этаже двух- и более комнатных квартир допускается не менее 7 м2 при условии, что общая комната имеет площадь не менее 16 м2. В однокомнатных квартирах допускается устройство совмещенных санузлов. Двери уборной, ванной и совмещенного санузла должны открываться наружу. Вход в помещение оборудованное унитазом, непосредственно из кухни и жилых помещений (кроме жилых помещений, предназначенных для семей с инвалидами) не допускается.
Не допускается размещение уборной и ванной (или душевой) непосредственно над жилыми комнатами и кухнями. Размещение уборной и ванной (или душевой) над кухней допускается в квартирах, расположенных в двух уровнях. Не допускается крепление приборов и трубопроводов непосредственно к межквартирным стенам и перегородкам, ограждающим жилые комнаты.
5.Физико-технические расчеты наружных ограждающих конструкций
5.1 Расчёт толщины наружной стены.
РАСЧЕТНАЯ СХЕМА:
1- кирпич керамический пустотныйγ=1400λ= 0,58
2- кирпич глиняный обыкновенныйγ=1800λ= 0,81
3-штукатурка цементно-шлаковая γ=1200λ= 0,58
Условия эксплуатации-Б
В соответствии со СНиП 23-02-2003 «Тепловая защита зданий» сопротивление теплопередаче наружной стены R0 следует принимать не менее нормируемых значений Rreq,определяемых по табл.4 в этом СНиПе в зависимости от градусо-суток отопительного периода района строительства Dd
А)Определение градусо-суток отопительного периода
tint=20 О С, tht= -5 О С , zht=227,text= -35 ОС
Dd=(20+5)*227=5675
Rreq = a Dd + b
a= 0,00035
b=1.4
Rreq =0,00035*6100,5+1,4=3,39
RreqT=3,39
Ri=1/αb+Σ Ri+1/αн, Ri=δ/λ
Ri=1/8,7+ 0,25/0,58+0,25/0,81+0,02/0,58+1/23=0,93
Ri < RreqT следовательно сопротивление теплопередаче стены недостаточное, в связи с чем меняю расчётную схему стены добавлением утеплителя.
РАСЧЕТНАЯ СХЕМА:
1- кирпич керамический пустотныйγ=1400λ= 0,58
2-мин. ватаγ=100λ= 0,07
2- кирпич глиняный обыкновенныйγ=1800λ= 0,81
3-штукатурка цементно-шлаковая γ=1200λ= 0,58
Ri=1/8,7+ 0,12/0,58+Х/0,07+0,25/0,81+0,02/0,58+1/23=3,39
Х=0,187 Принимаю толщину утеплителя = 190мм.
Толщина стены равна:580мм.
tint-расчетная средняя температура внутреннего воздуха здания ,О С.
tht, zht-средняя температура наружного воздуха, О С, и продолжительность, сут, отопительного периода, принимаемые по СНиП 23-01 со средней суточной температурой наружного воздуха не более 10 О С.-при проектировании лечебно-профилактических, детских учреждений и домов-интернатов для престарелых, и не более 8 О С-в остальных случаях.
Δtn-нормируемый температурный перепад между температурой внутреннего воздуха и температурой внутренней поверхности ограждающей конструкции
n-коэффициент, учитывающий зависимость положения наружной поверхности ограждающих конструкций по отношению к наружному воздуху
text-расчетная температура наружного воздуха в холодный период года, О С, для всех зданий, кроме производственных зданий, предназначенных для сезонной эксплуатации.
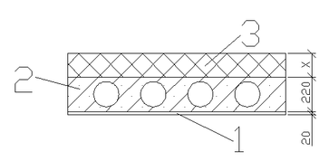
5.2 Расчет толщины теплоизоляции чердачного перекрытия по нормам сопротивления теплопередаче
Утеплитель чердака - пенополистерол γ=150 λ= 0,052
РАСЧЕТНАЯ СХЕМА
| № | Наименование слоя | Объемный вес γ,кг/ м3 | Коэффициент теплопроводности, Вт/ О См | Толщина слоя,м |
| 1 | Штукатурка | 1400 | 0,58 | 0,02 |
| 2 | Железобетон | 2400 | 1,86 | 0,22 |
| 3 | Пенополистерол | 100 | 0,052 | X=0,21 |
tint=20 О С, tht= -5 О С , zht=227 text= -35 О С
Dd=(20+5)*227=5675
Rreq = a Dd + b
a= 0,00045
b=1,9
Rreq =0,00045*6100,5+1,9=4,45
RreqT=4,45
Ri=1/αb+Σ Ri+1/αн, Ri=δ/λ
Ri=1/8.7+0.02/0.58+0.22/1.86+X/0.052+1/23=4,45
X=0,207,т.е. толщина слоя утеплителя чердака рана 207 мм.
Окончательно принимаю толщину утеплителя равной 210 мм.
5.3 Определение сопротивления воздухопроницанию наружной стены
В соответствии со СНиП 23-02-2003 сопротивление воздухопроницанию наружной стены должно быть не меньше требуемого( Rinf≥Rinfreq)
Rinfreq=∆p/Gn
∆p-разность давлений воздуха на наружной и внутренней поверхностях ограждающей конструкций,Па.
Gn-нормируемая воздухонепроницаемость ограждающих конструкций, кг/м2ч
∆p=0.55H(γext-γint)+0.03 γextν2
H-Высота здания ( от уровня пола первого этажа до верха вытяжной шахты ), м.
γint,γext-удельный вес соответственно наружного и внутреннего воздуха, Н/ м3,определяемой по формуле: γ=3463/(273+t)
t-температура воздуха: внутреннего (для определения γint )-принимается согласно оптимальным параметрам по ГОСТ 12.1.005, ГОСТ 30494 и СанПиН 2.1.2.1002; наружного (для определения γext)-принимается равной средней температуре наиболее холодной пятидневки обеспеченностью 0.92 по СНиП 2.01.01-82(23-01)
ν-максимальная из средних скоростей ветра по румбам за январь,повторяемость которых составляет 16% и более.
γint=3463/(273+20)=11.8 Н/ м3
γext=3463/(273-31)=14.3 Н/ м3
ν=5.9м/с
∆p=0.55*11,27(14.3-11.8)+0.03*14.3*5,92=29,02 Па
Gn=0.5 кг/м2ч( По СНиП 23-02-2003)
Rinfreq=29,02/0.5=58,04 м2чПа/кг
5.4 Светотехнический расчет окон
| Наименование комнат | Площади комнат | Размер оконного проема | ГОСТ 16289-86 |
| Жилая комната | 15 м2(1 окно) | 1,5x1.5м | 1460x1460мм |
Нокна=1,5м
Для всех остальных помещений Sокна=(1/5…1/8)Sпола, мы в данном проекте используем Sокна=1/8Sпола
5.5 Акустический расчет
Определение звукоизоляции воздушного шума междуэтажными перекрытиями.
Lw=37lg(m)+55lg(k)-43
m-масса перекрытия
m=γ*δ(м)(объемный вес материала на его толщину в метрах)
k-коэффициент, зависящий от перекрытий
Для железобетонных панелей k=1
| № | Наименование слоя | Объемный вес γ,кг/ м3 | Толщина слоя,м |
| 1 | ж/б панель | 2400 | 0.14 |
| 3 | Дощатые полы(сосна вдоль волокон) | 500 | 0.08 |
Lw=37lg(2400*0.14+0.08*500)+55lg(1)-43≈52Дб
Воздушный шум не превышает нормы
6.Конструктивные элементы здания
6.1 Фундамент ленточный бутовый
Уфа находится на территории с глубиной промерзания грунта 1м 80 см.Под всем фундаментом насыпать керамзитовую подушку толщиной 150 мм. Ширину фундамента выбираем в зависимости от толщины стены кратно 100 мм.
Для нашего случая ширину фундамента по наружным стенам принимаем - 400 мм, ширину фундамента в средней части здания принимаем 400 мм.(несущая стена,толщиной 380 мм).
6.2 Стены
Наружные стены выполнены из обычного кирпича с утеплителем
Ширина наружных стен 580мм.
Внутренние несущие стены из кирпича толщиной 380 мм
Материал: кирпич.
6.3 Перегородки
Межкомнатные перегородки из гипсовых мелкоразмерных плит, толщиной 100мм.















