122571 (618510)
Текст из файла
Технологический процесс производства окатышей
Курсовая работа по дисциплине: «Основы технологических процессов металлургии»
Студентка группы ЭУ-02 Русс Е.А.
Московский Государственный Вечерний Металлургический Институт
Москва 2004г.
Введение
К концу нынешнего века благополучно затихли споры о соперничестве различных схем металлургии, где часто пророчили упадок доменному производству. Однако, доменная печь была и остаётся чрезвычайно эффективным агрегатом для производства чугуна, а для достижения стабильных высоких результатов требуется подготовленное сырьё. В России доля окатышей в общем объёме окускованного сырья составляет в среднем 30%. Высок интерес стран с развитой металлургией к железорудным окатышам, как к одному из основных видов сырья для доменного производства, так, например, в Швеции до 100% окатышей составляют железорудную часть доменной шихты, в США и Канаде – 70-80%.
Сейчас металлурги рассматривают железорудные окатыши с точки зрения качественного сырья, приближающегося по однородности свойств к агломерату, а также с позиций перспективности сырья, способного транспортироваться на любые расстояния без потерь ими металлургических свойств. С другой стороны, фабрики по производству окатышей испытывают трудности, связанные с отсутствием или низким качеством бентонита, повышающего свойства сырых окатышей и их термостойкость.
Окатывание (или производство окатышей) является сравнительно новым, быстро развирающимся способом окускования рудных материалов. Окатыванием называют процесс получения окатышей из влажных концентратов в окомкователях с последующей сушкой и упрочняющим обжигом окатышей в обжиговых агрегатах.
Окатыши – рудный материал, полученный из мелкой (пылевидной) руды или тонкоизмельченных концентратов, в виде шарообразных гранул диаметром 2-3 до 30 мм (обычно 10-15 мм). Железнорудные окатыши применяются главным образом в доменной плавке.
Технология производства окатышей.
Окатыши.
Окатыши – твердые шарообразные тела, полученные путем окомкования тонкоизмельченных рудных материалов с добавкой связующих веществ с флюсами или без них с последующим упрочнением способами обжига, цементации или автоклавирование.
По соотношению содержания основных и кислых пород (основности) окатыши разделяют на отфлюсованные (частично или полностью) и неотфлюсованные (окисленные). Производство окисленных окатышей включает окомкование шихты (получение сырых окатышей) в барабанных, тарельчатых или чашевых окомкователях и упрочнение их обжигом или безобжиговыми методами. В зависимости от использования добавок различают железнорудные, железномарганцевые, железноникелевые и другие окатыши. Железнорудные окатыши, в которых часть оксидов железа (до 95%) восстановлена до металла, называются металлизированные (используются, главным образом, в электросталеплавильных печах для получения качественной стали).
Качество окатышей выражают большим перечнем показателей, отражающих их свойства и функциональные признаки. Обычно их группируют на следующие четыре признака: 1) химико-минеральный состав; 2) механические свойства; 3) физико-химические свойства и 4) стабильность качественных параметров.
По химико-минеральному составу окатыши делят на неотфлюсованные, отфлюсованные и доломитизированные.
Параметрами качества, выражающих механические свойства окатышей являются: крупность, прочность на разрушаемость и истираемость, содержание лимитируемого класса < 5мм и пористость.
В группу физико-химических свойств входят следующие признаки: 1) восстановимость; 2) прочность при восстановлении (при различных температурах: а – 600-800 oС; б – 800-950 oС); 3) газодинамические свойства расплава, измеряемые путем перепада давления при восстановлении; 4) размягчаемость; 5) набухаемость.
Стабильность качественных параметров оценивают по их колебаемости, которую регламентируют указанием двух величин: пределами колебаний (% от среднего значения) и количество проб, укладываемых в обозначенные пределы.
Технология производства окатышей.
Основные операции технологического процесса следующие:
Подача пульпы концентрата с обогатительной фабрики
Сгущение и усреднение концентрата в жидком виде
Фильтрация концентрата
Измельчение известняка
Бункерование
Дозирование компонентов шихты
Смешивание компонентов шихты
Окомкование шихты (получение сырых окатышей)
Грохочение сырых окатышей
Сушка и предварительный нагрев сырых окатышей
Обжиг окатышей
Грохочение обожженных окатышей
Охлаждение обожженных окатышей
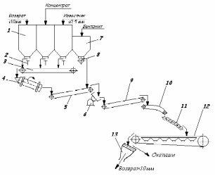
Складирование и отгрузка готовых окатышей Для производства окатышей в цехе используют железорудный концентрат, доломитизированный известняк, глину бентонитовую, активированный торф и газообразное топливо. Подготовка концентрата. Пульпа подается по пульпопроводу, магнитно флокируется и поступает в сгустители, где. взвешенные твердые частицы (с содержанием твердого 30...45%) осаждаются на дно и сгребаются к центру разгрузочной воронки. Сгущенный продукт-пульпа с плотностью 55 ... 65 %. удаляется со дна сгустителя насосами и размагничивается. Затем перегоняется в резервуары с механическими мешалками для усреднения. Из резервуаров насосами пульпа перегоняется в распределитель принудительной подачи. Для поддержания постоянного давления в распределителе приводы насосов имеют бесступенчатую регулировку. Подача пульпы на фильтр регулируется автоматически, так чтобы количество поступающей пульпы соответствовало производительности фильтра. Для каждой технологической линии предусмотрено 10 фильтров, в том числе один резервный. Влажность кека составляет 9.5%. Концентрат подается в дозировочные бункера, а распределение по бункерам производится при помощи плужковых сбрасывателей. Дозирование и смешивание компонентов шихты. Концентрат, известняк, бентонит и торф при помощи автоматических весодозаторов выдаются на сборный конвейер в заданной пропорции. Смешивание осуществляется в роторном смесителе, установленном на ленте, а затем однородная шихта поступает в барабанные окомкователти. Окомкование шихты. За счет перекатывания материалов и поверхностного натяжения воды, которая впрыскивается для регулирования процесса окомкования в барабане. Рост размера гранул прекращается, когда в барабане не остается мелких частиц. Дальнейшее перекатывание материала в окомкователе обеспечивает механическое уплотнение окатышей, для транспортировки, загрузки на решетке и тепловой обработки на ней без разрушения. Для получения нео6ходимой влажности шихты, предусматривается подача воды в окомкователь. После окомковання окатыши проходят грохочение на роликовом грохоте с разделением на 2 класса: минус 9,5мм и плюс 9,5мм. Окатыши с размером менее 9,5мм ленточными конвейерами возвращаются в окомкователь для дальнейшей доработки. Сырые окатыши размером крупнее 9,5 мм. подаются на роликовый грохотукладчик с помощью которого производится дополнительно отделение мелочи и укладка кондиционных окатышей на колосники движущейся решетки равномерным слоем высотой около 180 мм. Мелочь после роликового укладчика возвращается на конвейер концентрата после фильтров. Сушка и предварительный нагрев окатышей осуществляется на движущейся колосниковой решетке. Окатыши проходят три зоны: сушка в восходящем потоке, сушка в нисходящем потоке и предварительный подогрев в нисходящим потоком. При сушке в восходящем потоке горячие газы с температурой 400oС нагнетаются в слой окатышей снизу, выпаривают из окатышей влагу и нагревают слой до средней температуры примерно 230oС. Увлажненные газы, покидающие слой после сушки в восходящем потоке, охлаждаются в слое приблизительно до 93oС и после очистки пыли до санитарных норм выбрасываются в атмосферу. При сушке в нисходящем потоке газы с t 400oС просасываются через слой сверху вниз. Целью этой операции является обеспечение удаления влаги с верхнего слоя окатышей для предотвращения разрушения их в зоне предварительного нагрева. При предварительном нагреве газы с температурой 1040.......1050 oС просасываются через слой сверху вниз. Целью этой операции является получение необходимой прочности окатышей, при которой они могут быть подвергнуты обжигу во вращающейся печи без заметного разрушения. Средняя температура окатышей после решетки -980 oС. Тепловая обработка окатышей на решетке осуществляется горячими газами, отходящими из вращающейся печи. Перекачка газов по зоне решетки осуществляется тремя технологическими вентиляторами, из которых два просасывают газ сверху вниз через слой окатышей в зоне предварительного нагрева, сушки нисходящим потоком и подают его в зону сушки восходящим потоком и один вентилятор отсасывает газ из колпака указанной зоны. Схемой предусмотрена возможность сброса излишков газа, поступающего из вращающейся печи в зону предварительного нагрева и подаваемого в зону восходящим потоком (байпасная система). Решетка оснащена промежуточной сухой газоочисткой, установленной перед вентиляторами зоны предварительного нагрева (циклоны), мокрой очистки (скруббер) перед сбросным вентилятором зоны сушки восходящим потоком. Обжиг окатышей осуществляется во вращающейся печи диаметром –
6700 мм, длинной – 45720 мм. Для обжига применяется природный газ, который сжигается в торцевой горелке, установленной на разгрузочном конце печи. Обжиг окатышей в печи происходит за счет излучения факела горелки и раскаленной футировки печи, а также конвекционного теплообмена между газовым потоком циркулирующим противопотоком, через печь, огнеупорной футировкой и поверхностью слоя окатышей. Печь оборудована вентилятором для подачи воздуха на сжигание газа и газорегуляторной станцией, обеспечивающей давление газа перед горелкой не более 2кг/cм2. Окатыши перемещаются вдоль печи за счет ее вращения, при этом происходит постоянное пересыпание слоя окатышей и равномерный их обжиг при оптимальной температуре 1260 + 15-30 oС. После печи окатыши попадают на станционный охлажденный грохот, с помощью которого удаляются спеки окатышей или настыли с вращающейся печи крупностью 200 мм и более. После грохочения окатыши подаются на охлаждение в кольцевой охладитель. Кольцевой охладитель представляет собой решетку в форме кольца шириной 3111.5 мм и средний диаметр (полу суммой внешнего и внутреннего диаметров) 20116.8 мм. В загрузочной части охладителя установлена разравнивающая стенка для формирования равномерного слоя окатышей высотой 762 мм. Охладитель имеет привод бесступенчатой регулировки скорости, за счет чего осуществляется автоматическая регулировка высоты слоя окатышей. Охладитель вращается в горизонтальной плоскости и конструктивно разделен на три зоны: рабочая зона, где происходит охлаждение окатышей, составляет 303 градуса окружности; загрузочная зона - дуга в 25 градусов, разгрузочная зона-дуга в 32 градуса. Охлаждение окатышей осуществляется продувом холодного воздуха снизу вверх. Рабочая зона подразделяется, в свою очередь, на две зоны: зона рекуперационного охлаждения, в которой от окатышей отбирается 70....80 % тепла и зона окончательного охлаждения, в которой температура окатышей доводится до 120 oС. Из зоны рекуперационного охлаждения нагретый воздух передается во вращающуюся печь частично через загрузочный желоб охладителя и частично по отдельному газопроводу, соединяющему свод рекуперационной зоны охлаждения с разгрузочной частью печи. Из зоны окончательного охлаждения газы сбрасываются в атмосферу без предварительной очистки с содержанием пыли не более 60 мг/м3. Забор охлаждающего воздуха осуществляется с атмосферы. Работу кольцевого охладителя обеспечивают два охлаждающих вентилятора, по одному на каждую зону охлаждения. Охлажденные окатыши подаются на вибропитатель-грохот, где производится отделение класса плюс 50 мм, который убирается пластинчатым конвейером через специальный желоб, за пределы цеха в открытый штабель. Класс минус 50 мм (кондиционные окатыши), системой ленточных конвейеров транспортируется на склад или на отгрузку. Схемой грузопотоков предусматривается возможность подачи окатышей на склад, непосредственно на погрузку в баржи или в железнодорожные вагоны, а также одновременная подача окатышей на погрузку непосредственно с фабрики и со склада в железнодорожные вагоны или в баржи. Укладка готовых окатышей на склад и отгрузка его со склада осуществляется соответственно одноконсольным штабелеукладчиком и роторным заборщиком напольного типа на рельсовом ходу импортной поставки.
Машины и агрегаты фабрик по производству окатышей.
Устройство фабрики по производству окатышей.
Фабрика по производству железорудных окатышей состоит из отделений подготовки шихты, окомкования и обжигового. Транспортная связь между машинами и агрегатами отделений осуществляется ленточными конвейерами. Основным компонентом для производства окатышей является тонко измельченный влажный концентрат. Перевозка его обычным железнодорожным транспортом сопряжена с существенными трудностями при разгрузке, особенно в зимнее время. Поэтому фабрики окатышей стремятся располагать непосредственно поблизости от обогатительных фабрик, что позволяет выдаваемый ими концентрат направлять на окомкование конвейерным транспортом.
Характеристики
Тип файла документ
Документы такого типа открываются такими программами, как Microsoft Office Word на компьютерах Windows, Apple Pages на компьютерах Mac, Open Office - бесплатная альтернатива на различных платформах, в том числе Linux. Наиболее простым и современным решением будут Google документы, так как открываются онлайн без скачивания прямо в браузере на любой платформе. Существуют российские качественные аналоги, например от Яндекса.
Будьте внимательны на мобильных устройствах, так как там используются упрощённый функционал даже в официальном приложении от Microsoft, поэтому для просмотра скачивайте PDF-версию. А если нужно редактировать файл, то используйте оригинальный файл.
Файлы такого типа обычно разбиты на страницы, а текст может быть форматированным (жирный, курсив, выбор шрифта, таблицы и т.п.), а также в него можно добавлять изображения. Формат идеально подходит для рефератов, докладов и РПЗ курсовых проектов, которые необходимо распечатать. Кстати перед печатью также сохраняйте файл в PDF, так как принтер может начудить со шрифтами.
















