122548 (618503), страница 5
Текст из файла (страница 5)
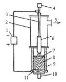
3-ванна, 4-изложница, 5-полученный слиток, 6- поддон
Электрошлаковый переплав (ЭШП) заключается в следующем. Переплавляемая сталь подается в установку в виде расходуемого (переплавляемого) электрода 1 (рис. 13). Расплавленный шлак 2 (смесь 60...65 % CaF2, 25...30 % Al2O3, CaO и другие добавки) обладает большим электросопротивлением и при прохождении электрического тока в нем генерируется тепло, достаточное для расплавления электрода. Капли металла проходят слой шлака, собираются в ванне и затвердевают в водоохлажденной изложнице, образуя слиток. При этом кристаллизация металла происходит последовательно и направлена снизу вверх, что способствует удалению неметаллических включений и пузырьков газа и тем самым образованию плотной и однородной структуры слитка. В конце переплава поддон опускают и затвердевший слиток извлекают из изложницы.
Современные установки ЭШП позволяют получать слитки различного сечения массой 40т.
Жидкий металл в потоке инертного газа (аргона) через фурму вводят измельченные десульфураторы и раскислители. В результате такой обработки можно получить металл с содержанием серы и кислорода менее 0,005 % каждого.
Обработка жидкой стали аргоном в ковше является наиболее простым способом повышения качества металла. Аргон вдувают в жидкую сталь через пористые и огнеупорные пробки, которые устанавливают в днище ковша. Аргон не растворяется в жидкой стали, поэтому при продувке металла аргоном в объеме жидкой стали образуется большое количество пузырей, которые интенсивно перемешивают металл и выносят на его поверхность неметаллические включения. Кроме того, водород и азот, растворенные в стали, переходят в пузыри аргона и вместе с ним покидают жидкий металл, т. е. происходит дегазация стали.
Наиболее простым способом является вакуумирование стали в ковше. В этом случае ковш с жидким металлом помещают в герметичную камеру, из которой откачивают воздух. При снижении давления в камере металл закипает вследствие бурного выделения из металлов газов. После дегазации металла камеру разгерметизируют, а ковш с вакуумированной отправляют на разливку.
Ковшевое вакуумирование неэффективно при обработке полностью раскисленной стали и больших масс металла. В этом случае вследствие слабого развитии реакции C + O = CO металл кипит вяло. Для улучшении дегазации стали вакуумную обработку металлов в ковше совмещают с продувкой его аргоном и электромагнитным перемешиванием. Обычно дегазацию металла в ковше проводят в течение 10 - 15 мин. Более длительная обработка приводит к значительному снижению температуры металла.
Парционное и циркуляционное вакуумирование стали применяют при дегазации больших масс металла.
При парционном вакуумировании футурованная вакуумная камера не большого объема помещается над ковшом с жидким металлом. Патрубок камеры, футерованный изнутри и снаружи, погружен в жидкий металл. Под действием атмосферного давления порция металла (10 - 15 % от общей массы) поднимается в камеру и дегазируется. При движении ковша вниз или камеры вверх металл вытекает, а при обратном движении вновь поднимается в камеру, для полной дегазации стали необходимо провести от 30 до 60 циклов вакуумной обработки.
При циркуляционном способе вакуумирования стали применяют вакуумную камеру с двумя патрубками. Жидкий металл из ковша поднимается в камеру по одному патрубку, дегазируется и вытекает обратно в ковш по второму патрубку. Происходит непрерывная циркуляция металла через вакуумную камеру. Подъем жидкой стали в камеру происходит за счет действия аргона, который подают во входной патрубок.
Струйное вакуумирование металла применяется в основном при отливке крупных слитков. Этот способ является более совершенным, т. к. устраняется вторичное окисление при разливке вакуумированного металла из ковша в изложницы.
При отливке слитков в вакууме струя металла, переливаемого из ковша а изложницу, установленную в вакуумной камере, разрывается выделяющимися газами на множество мелких капель металла. Поверхность металла резко возрастает, что приводит глубокой дегазации стали. Кроме того, сталь также дегазируется в изложницы.
Последнее время для получения стали с очень низким содержанием углерода обработку металла в вакууме совмещают с продувкой его кислорода или смесью аргона и кислорода.
Рафинированная синтетическим шлаком сталь отличается низким содержанием кислорода, серы и неметаллических включений, что обеспечивает ей высокую пластичность и ударную вязкость.
Производство стали в вакуумных печах.
Применение вакуума при выплавки стали позволяет получать металл практически любого химического состава с низким содержанием газов, неметаллических включений, примесей цветных металлов.
Как уже отмечалось, реакции дегазации и раскисления металла углеродом в вакууме протекают более полно. Кроме того при плавки металла в глубоком вакууме (<10-2 Па) из металла удаляются некоторые неметаллические включения.
Производство стали в вакуумных индукционных печах.
В настоящее время вакуумные индукционные печи делятся на периодические и полунепрерывные. В печах периодического действия после каждой плавки печь открывают для извлечения слитка и загрузки шихты. В печах полунепрерывного действия загрузка шихты, смена изложниц и извлечение слитка проводятся без нарушения вакуума в плавильной камере.
В промышленности применяют печи полунепрерывного действия. Печи периодического действия используют в основном в лабораториях и для фасонного литья. Емкость существующих вакуумных индукционных печей достигает 60 т.
Рис. 14. Схема вакуумной индукционной печи полунепрерывного действия
Здесь показана схема вакуумной индукционной печи полунепрерывного действия. Печи этого типа имеют три камеры: плавильную (2), загрузочную (8) и камеру изложниц (1). В плавильной камере установлен водоохлаждаемый индикатор с огнеупорным тиглем (3), в котором проводиться плавление шихты. Каркас тигля, выполненный из уголков нержавеющей стали, опирается на цапфы. При сливе металла и чистке тигля последний наклоняется с помощью механического или гидравлического привода. Камера изложниц и загрузочная камера сообщаются с плавильной камерой через вакуумные затворы (6 и 10), которые позволяют загружать шихту в печь и выгружать слиток без нарушения вакуума в плавильной камере. Присадка легирующих и раскислителей осуществляется через дозатор (9), установленный на крышке печи (7). Для контроля процесса плавки печь снабжена гляделкой (4) и термопарой (5).
Технология выплавки металла в вакуумной индукционной печи полунепрерывного действия определяется маркой выплавляемой стали и качеством шихтовых материалов. Для плавки применяют шихтовые материалы, очищенные от масла и влаги. Для легирования используют ферросплавы и чистые металлы. Перед загрузкой шихту предварительно прокаливают. После загрузки печи включают ток и расплавление шихты ведут на максимальной мощности. При появлении первых порций жидкого металла и при наличии в шихте углерода в печь напускают аргон до давления 1,3 • 104 Па для предотвращения выплесков жидкого металла в следствие бурного протекания реакции [C] + [O] = COгаз. После полного расплавления шихты металл рафинируют при давлении 1,3 - 0,13 Па от водорода, азота, кислорода и примесей цветных металлов. Раскисление стали происходит в основном по реакции [C] + [O] = COгаз, равновесие которой при низких давлениях сдвигается вправо. В период рафинировки осуществляют также легирование металла. В первую очередь присаживают хром и ванадий, потом титан. Перед разливкой в металл вводят алюминий, редкоземельные металлы, кальций и магний. Для получения плотного слитка разливку проводят обычно в атмосфере аргона.
Основным недостатком вакуумных индукционных печей является контакт жидкого металла с огнеупорной футеровки тигля, что может приводить к загрязнению металла материалом тигля.
Производство стали в вакуумных дуговых печах.
Вакуумные дуговые печи (ВДП) подразделяют на печи с нерасходуемым и расходуемым электродом.
Нерасходуемый электрод изготавливают из вольфрама или графита. При плавке с нерасходуемым электродом измельченная шихта загружается в водоохлаждаемый медный тигель и под действием электрической дуги расплавляется, рафинируется от вредных примесей и затем кристаллизуется в виде слитка.
Эти печи промышленного применения не нашли, так как в них не возможно получать слитки большой массы. В настоящее время распространение получили вакуумные дуговые печи с расходуемым электродом.
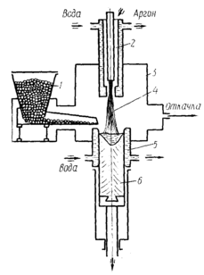
Рис.15 Схема вакуумной дуговой печи
1–источник питания; 2–рабочая камера; 3–электродержатель; 4–механизм подачи электрода; 5–к вакуумным насосам; 6–электрод; 7–жидкий металл; 8–слиток; 9–кристаллизатор; 10–шток для подъема поддона; 11–поддон.
Здесь представлена схема ВДП с расходуемым электродом. Печь состоит из рабочей камеры, медного водоохлаждаемого кристаллизатора, электрододержателя, механизма подачи электродов и системы вакуумных насосов. Расходуемый электрод крепится к электродержателю, который через вакуумное уплотнение проходит сквозь верхний торец рабочей камеры.
Электродержатель служит для провода тока к электроду и фиксации его в камере печи. Электродежатель с помощью гибкой подвески связан с механизмом подачи электрода. Расходуемый электрод представляет собой подлежащий переплаву исходный металл. Он может быть круглого или квадратного сечения. Как правило, расходуемые электроды содержат все необходимые легирующие элементы. Диаметр электрода выбирается таким, чтобы зазор между электродом и стенкою кристаллизатора был больше длины дуги, горящей между электродом и ванной жидкого металла. В противном случае возможен переброс электрической дуги на стенку кристаллизатора.
Кристаллизатор представляет собой медную водоохлаждаемую трубку со стенкой толщиной от 8 до 30 мм. Кристаллизаторы бывают двух типов: глухие и сквозные. При плавки металла в сквозном кристаллизаторе можно вытягивать слиток вниз по ходу плавки. Сквозные кристаллизаторы применяют при плавке тугоплавких металлов и сплавов. При плавке стали используют глуходонные кристаллизаторы. Сверху кристаллизатор имеет фланец. Через кристаллизатор к слитку подводится ток.
Вакуумные дуговые печи работают как на постоянном, так и на переменном токе. При переплаве стальных электродов применяют постоянный ток. «Плюс» подается на электрод, «минус» – на слиток.
После установки расходуемого электрода в камере печи и откачки ее до необходимого давления (около 10-2 Па) зажигают электрическую дугу между электродом и металлической затравкой, лежащей на дне кристаллизатора. Под действием тепла электрической дуги нижний торец электрода оплавляется и капли металла стекают в кристаллизатор, образуя жидкую металлическую ванну. По мере оплавления электрод с помощью механизма подается вниз для поддержания расстояния между электродом и металлом.
Рафинирование металла от вредных примесей происходит во время прохождения жидких капель металла через электрическую дугу и с поверхности расплава в кристаллизаторе.
Одним из преимуществ вакуумного дугового переплава является отсутствие контакта жидкого металла с керамическими материалами. Основной недостаток – ограниченное время пребывания металла в жидком состоянии, что существенно снижает рафинирующие возможности вакуума.
Плазменно-дуговая плавка.
Плазменно-дуговой переплав (ПДП) применяется для получения стали и сплавов особо высокой чистоты. Источником тепла в установке служит плазменная дуга (рис. 16). Исходным материалом для получения слитков служит стружка или другие дробленные отходы металлообрабатывающей промышленности. Металл плавится и затвердевает в водоохлаждаемом кристаллизаторе, а образующийся слиток вытягивается вниз. Благодаря высокой температуре из металла интенсивно испаряются сера и фосфор, а также удаляются неметаллические включения.
рис.16. Схема плазменной дуги
Плазменная плавка специальных сталей и сплавов является одним из важных способов получения металла высокого качества. В плазменных печах источником энергии является низкотемпературная плазма (Т = 105 К). Плазмой называется ионизированный газ, в котором концентрации положительных и отрицательных зарядов равны. Степень ионизации низкотемпературной плазмы близка к 1 %. Низкотемпературная плазма получается при введении в дуговой электрический разряд газообразного вещества. В этом случае газ ионизируется и образуется плазма. В металлургии в качестве плазмообразующего газа чаще всего применяют аргон.
Для плавки стали применяют два типа агрегатов: печи с огнеупорной футеровкой и медным водоохлаждаемым кристаллизатором.
Плазменные печи с огнеупорной футеровкой во многом похожи на дуговые сталеплавильные печи. В отличие от дуговых сталеплавильных печей в плазменной печи вместо графитовых электродов устанавливают один или три плазматрона, что зависит от размеров печи. В печах постоянного тока анодом служит ванна жидкого металла, ток к которой подводится через подовой электрод.
Металлургические возможности плазменных печей с нейтральной атмосферой очень широки и металл можно раскислять, десульфурировать, рафинировать от газов и неметаллических включений, легировать азотом.
Слитки полученные этим способом, имеют высококачественную поверхность.
Электронно-лучевая плавка
(ЭЛП) осуществляется за счет тепла, образующегося в результате облучения переплавляемого металла потоком электронов. Переплав ведется в вакуумных установках при остаточном давлении 0,001 Па, а затвердевание слитка—в водоохлаждаемом кристаллизаторе (рис. 17). Глубокий вакуум и благоприятные условия затвердевания обеспечивают получение особо чистого металла. Поэтому ЭЛП применяют для получения сталей особо высокой чистоты, сплавов со специальными свойствами, а также чистых тугоплавких металлов (W, Mo, Nb и др.).
Длительность плавки на печах емкостью 5-100т составляет 3,5-6,5 ч. Длительность заправки возрастает с 15-20 до 35 мин при росте емкости печи, длительность завалки равна 5-10 мин. Продолжительность периода плавления составляет 1,2-3,0 ч, возрастая при увеличении емкости печи. Длительность окислительного периода изменяется в пределах 0,5-1,5 ч. Длительность восстановительного периода обычно уменьшается при росте емкости печи для 80–т печах составляет 30-40 мин.
Выход годных слитков по отношению к массе шихты при выплавке стали составляет 88-90% ; выход годных слитков по отношению к массе жидкого металла равен 98- 98,5% для слитков массой 4-6,5т и 97-97,5% для 1-2т.
Простои составляют 4-9% календарного времени. Доля исходных материалов в себестоимости 90-94% для высоколегированных сталей.
Важным техническим показателем процесса электроплавки является расход электроэнергии на 1т стали.Расход электроэнергии колеблется в пределах от 500 до 1000 квт*ч на 1т. Эти величины приблизительно соответствуют расходу теплоты 500-900 тыс. кал, что на 25-35% меньше расхода теплоты в мартеновском процессе.
Легирование стали
Легированием называют процесс присадки в сталь легирующих элементов, чтобы получить так называемую легированную сталь, т. е. такую сталь в составе которой находятся специальные (легирующие) примеси, введенные в нее в определенных количествах для того, чтобы сообщить стали какие-либо особые физико-химические или механические свойства.
Легирующими могут быть как элементы, не встречающиеся в простой стали, так и элементы, которые в небольших количествах содержатся во всякой стали (С, Мn, Si, Р, S). Очень часто операцию легирования совмещают с операцией раскисления (особенно если металл легируют марганцем, кремнием или алюминием).
С точки зрения влияния на свойства стали легирующие элементы делят на две большие группы:
1-я—легирующие элементы, расширяющие γ oбласть твердых растворов. В эту группу входят и элементы, обладающие неограниченной растворимостью в железе (никель, марганец, кобальт), и элементы, образующие сплавы, в которых гомогенная область непрерывного ряда твердых растворов ограничивается гетерогенной вследствие появления новых фаз (углерода, азота, меди).
2-я — легирующие элементы, суживающие γ область. Сюда входят и элементы, образующие с железом сплавы с полностью замкнутой γ областью (бериллий, алюминий, кремний, фосфор, титан, ванадий, хром, молибден, вольфрам), и элементы, образующие сплавы с суженной γ областью (ниобий, тантал, цирконий, церий).
.Главное - избежать ненужного взаимодействия легирующих примесей с кислородом, чтобы уменьшить «угар» легирующих и обеспечить получение в стали минимума продуктов окисления - неметаллических включений, загрязняющих стали и снижающих их качество.
В зависимости от степени сродства к кислороду легирующие элементы также делят на две большие группы:
1-я — легирующие элементы, сродство к кислороду у которых меньше, чем у железа (никель, кобальт, молибден, медь). Они в условиях плавки и разливки практически не окисляются, поэтому могут быть введены в металл в любой момент плавки. Обычно эти элементы вводят в металл в начале плавки вместе с шихтой. Отходы, образующиеся при выплавке и прокатке (ковке, штамповке) сталей, содержащих эти элементы, а также отходы изделий, изготовленных из этих сталей, следует хранить и использовать отдельно (экономически выгодно загружать в печь не чистые никель, медь и т, п., а отходы шихты, содержащие эти примеси; если такие отходы загружать в печь при выплавке стали любой марки, то сталь при выпуске будет содержать никель, медь и т. д., а это не всегда полезно)
2-я — легирующие элементы, сродство к кислороду у которых больше, чем у железа (например, кремний, марганец, алюминий, хром, ванадий, титан). Чтобы избежать большого угара этих элементов при легировании, их вводят в металл после раскисления или одновременно с раскислением в самом конце плавки (часто даже в ковш, а иногда и непосредственно в изложницу или кристаллизатор).
Кроме легирующих этих двух основных групп применяют легирующие, введение которых в металл связано с возможной опасностью для здоровья, так как пары этих металлов или их соединений вредны. К таким элементам относятся сера, свинец, селен, теллур. Эти элементы вводят в металл непосредственно в процессе разливки стали и при этом принимают специальные меры безопасности. Легирующие примеси вводят в металл или в чистом виде, или в виде сплавов, или в виде соединений. Во всех случаях для удешевления стали стремятся использовать максимальное количество дешевых отходов (шлак, руду), содержащих нужный элемент. Иногда для легирования и раскисления стали применяют, так называемые экзотермические брикеты, в состав которых могут входить содержащие легирующий элемент окислы, порошкообразные раскислители и восстановители, и окислители. Кроме того, в состав смесей могут входить различные шлакообразующие добавки, обеспечивающие, получение включений, быстро удаляющихся из металла. При выпуске металла в ковш, в который загружены подобные брикеты, они «зажигаются», при реакции между восстановителями и окислителями выделяется необходимое количество тепла, легирующие примеси, входящие к состав окислов, восстанавливаются. Металл при таком методе работы не охлаждается. При правильном подборе состава смесей получают сталь, более чистую, при одновременном сокращении расхода раскислителей и легирующих.
Особенности размещения предприятий по производству стали
В наше время сложилась вполне определенная классификация металлургических заводов. Различают заводы с полным металлургическим циклом, которые включают выплавку чугуна, стали, выпуск проката (интегрированные заводы), заводы, не имеющие доменного производства (неинтегрированные заводы) и мини-заводы.
Рассмотрим каждое из вышеперечисленных предприятий.
Интегрированные заводы отличаются большой мощностью отдельных агрегатов, чем крупнее агрегат, тем выше его производительность, тем дешевле обходится производство металла. Чтобы работа крупных металлургических агрегатов была устойчивой, ритмичной, максимально эффективной, их нужно «кормить» доброкачественным сырьем, для доменного цеха это в первую очередь руда в виде агломерата или офлюсованных железорудных окатышей, кокс, флюсы, именно поэтому принцип размещения таких предприятий «на сырьё», т.е. вблизи месторождений коксового угля, железной и марганцевой руд. Такие предприятия имеют в своем составе также сталеплавильные и прокатные цехи, а значит имеют листопрокатное производство, выпускают также сортовой прокат, рельсы и др. Главный потребитель широкоформатного листа – судостроение. Судостроительные заводы располагаются в прибрежный зонах; если и металлургический завод построен на берегу, то нет проблем по доставке товара потребителю. Очень удобно, если и месторождения сырья расположены в прибрежных зонах. Но в любом случае, доминирующий фактор, влияющий на размещение предприятий с полным металлургическим циклом, – наличие сырья.
Неинтегрированные заводы не имеют доменных цехов и не имеют, стало быть, жидкого чугуна. Следует отметить, что при современных средствах транспортировки, данные предприятия можно располагать далеко от доменных цехов, что очень удобно, т.к. современные неинтеграционные заводы - это электросталеплавильные предприятия, которые потребляют огромное количество энергии, значит целесообразно их размещение вблизи крупных теплоэлектростанций. В размещении предприятий такого рода не последнюю роль играет потребитель, значит, при выборе местоположения электросталеплавильного предприятия, необходимо учитывать наличие потребителя вблизи теплоэлектроцентралей.
Третья группа заводов, узкоспециализированные предприятия, которые работают на привозных чугунных болванках и скрапах, главным поставщиком которых являются машиностроительные заводы. Такие предприятия специализируются на производстве проката, главным потребителем которого являются также машиностроительные заводы. Таким образом, четко вырисовывается принцип размещения этих предприятий: « на потребителя», в роли которого выступают машиностроительные заводы.
Таким образом, не сложно сделать вывод, что особенности размещения определяются специализацией предприятий по производству стали.
Технико-экономические показатели данных технологических процессов, рыночные аспекты их применения и перспективы развития
Для сравнения технологических процессов и определения наиболее выгодных необходимо использовать параметры, которые имеют место во всех сравниваемых процессах. Таким показателем экономической эффективности технологических процессов является себестоимость продукции, выраженная в денежной форме.
Э
кономическая эффективность работы конвертера определяется по формуле:
где П – годовая производительность конвертера, т. стали в год; Т –масса металла, шихты; 1440 – число минут в сутках; а –выход годных слитков; п –число рабочих суток в году; t – длительность плавки, мин.
Основной показатель, характеризующий производительность мартеновских печей, является съем стали с 1 м2 площади пода печи в сутки с (т/м2):
г
де C – съем стали, Р—суточная производительность, S – площадь пода печи, м2.
Производительность электропечей определяется по формуле:
где П – годовая производительность конвертера, т. стали в год; Т –продолжительность плавки, ч.; а –выход годных слитков; п –число рабочих суток в году; в – масса металлической шихты на одну плавку.
Себестоимость электростали будет определяться расходом металлической шихты на 1 тонну годных слитков и стоимости передела. Она включает также расход энергии, электродов, огнеупоров, изложниц, зарплату персоналу.
Основные технико-экономические показатели способов производства стали.
| Показатель | Способ производства стали | ||
| конвертер-ный | мартеновский | электропла-вильный | |
| Вместимость плавильного агрегата, т. | 250-400 | 400-600 | 200-300 |
| Выход годного (стали),% | 89-92 | 91-95 | 92-98 |
| Длительность плавки, ч | 0.4-1 | 6-10 | 6-10 |
| Готовая производительность, тыс. т. слитков | 1200-1400 | 370-490 | 400-600 |
| Расход технологического топлива на 1 т стали Условного топлива, кг Кислорода, м2 Электроэнергии, кВт*ч | - | 90-120 | - |
| 60-70 | 40-50 | 8-17 | |
| - | - | 500-700 | |
| Удельный вес металлолома в шихте, % | 20-25 | 30-60 | До 100 |
В условиях рынка используют научно-технические достижения: увеличивается выпуск конкурентно-0способных изделий на основе наукоемких, ресурсосберегающих и экологически безопасных технологий. Роль этих технологий является определяющим фактором в достижении максимальных прибылей.
Так, более высокие технико-экономические показатели у кислородно-конвертерного способа выплавки стали. Это обусловленно рядом его преимуществ: большая производительность агрегата на единицу емкости и одного рабочего, ниже (на 54-10%) удельные капитальные затраты на строительство цеха той же производительности, меньше в 2-3 раза расход огнеупоров на единицу мощности агрегата. Экономическая эффективность обеспечивается за счет снижения ее себестоимости путем снижения расходов по переделу, доля которого в себестоимости составляет до10% (13-14% при мартеновской плавке; 25% -- при электроплавке).
В настоящее время наметилась устойчивая тенденция к сокращению мартеновского способа производства и переход на конверторный, как более экономически выгодный.
В то же время наметилось два экономически целесообразных пути совершенствования мартеновского производства. Так, как основным недостатком является большое количество расходуемого топлива и продолжительность процесса, то ускорению процессу способствует применение кислорода. Происходит интенсификация горения, усиливается окислительная способность печей, а следовательно, умсеньшается время плавки, снижается расход топлива. Увеличивается производительность.
Второй экономически выгодный путь – это переоборудование мартеновских печей в двухванные.
Перечисленные выше способы относятся к эволюционным путям совершенствования технологических процессов. Поскольку эволюция – это постоянное изменение, совершенствование технических средств труда без коренных изменений как самих средств, так и научных основ. Сюда также относятся механизация и автоматизация производства.
Кроме того, существует также революционный путь развития, когда преобразование производства происходит в результате изменение или замены рабочего хода (изменение технологического процесса). При этом часто приходится применять дорогостоящее оборудование, но при хорошей организации работы можно достичь снижение себестоимости продукции. К таким новым технологиям относится процесс прямого восстановления железа с помощью водорода.
В основе этого процесса лежит восстановление железа водородом или приролдным газом. Мелко раздробренный железный концентрат смешивают с водой и в виде пульпы подают по трубе с месторождения на металлический комбинат. Вода поступает в специальные отстойники, где очищается и поступает в водоворот. А из руды с помощью специальных добавок и обработке во вращающихся барабанах получают окатыши сферической формы. Которые поступают в шахтную печь. Там с помощью водородаоксиды железа восстанавливается до железа. Это позволяет получать высококачественную сталь, сократить технологический цикл (отсутствует доменное и коксохимическое производство), уменьшаается потребность в воде, практически отсутствуют вредные выбросы.
Показатели качества продукции данных технологических процессов и форма организации производства как современный уровень развития нашей цивилизации
При конверторном способе производства, благодаря тому, что окисление фосфора и серы идет одновременно имеется возможность остановить процесс на заданном содержании углерода и получить довольно широкую гамму углеродистых сталей при низком содержании серы и фосфора.
Электроплавка позволяет получить высококачественные стали. Отличительной особенностью ее является активное раскисление шлака, что приводит к непрерывному переходу кислорода, растворенного в металле, в шлак. Поэтому нет необходимости раскислять с помощью алюминия, а, следовательно, нет загрязнений тугоплавкими солями алюминия стали. Однако способ требует большого количества энергии. Поэтому сейчас стали использоваться новые методики рафинирования, т.е. повышение качества стали. К таким методикам относятся: плазменный, электрошлаковый, вакуумно-дуговой, вакуумно-индукционный и др. процессы. Общей их особенностью является создание условий для рафинирования жидкой стали. Сталь, полученная этими методами, отличается высокой химической и структурной однородностью, низким содержанием вредных примесей . методы позволяют сократить продолжительность электроплавки на 10-30 минут и получить мартеновским и конверторным способами сталь электропечного ассортимента.
Также в условиях НТП основным направлением преобразования производства является электронизация – широкое обеспечение средствами вычислительной техники, что позволяет ускорить самые разнообразные процессы, сэкономить ресурсы, энергию, повысить качество продукции.
Уделяют также внимание комплексной автоматизации – созданию полностью автоматизированных цехов и заводов, промышленных роботов и манипуляторов.
Так, поворот конвертера, его подъем и опускание водоохлаждаемой кислородной фурмы, загрузка сыпучих добавок и др. производятся с пульта управления. Продолжительность и режим дутья, время отбора проб определяет счетно-вычислительная техника. Все это позволяет снизить время производства стали и снизить себестоимость продукции при неизменном или повышающемся качестве.
Заключение
Человек с самого раннего возраста привыкает к окружающим его металлическим предметам домашнего обихода, не замечает и не задумывается, откуда они берутся.
Дамасские и булатные стали известны со II-III веков н.э. Почти все мировые культуры их использовали. Технологией ее изготовления владели кельтские и саксонские племена. Мечи викингов демонстрируют сложную структуру узора. Одна из высших форм такой стали производилась в Японии. Общеизвестны дамасские клинки из Средней Азии. В России существовало массовое производство. Это знаменитые Златоустовские клинки. Однако не все из этих клинков могли рубить железо (гвозди, прутки), некоторые могли гнуться в дугу, а то и вокруг пояса. Металл знаменитых дамасских клинков имел более высокое содержание углерода, чем большинство современных сталей. После искусной ковки дамасская сталь приобретала исключительную прочность, вязкость и характерный узорчатый рисунок. Остается загадкой, как изготовляли дамасскую сталь. Сегодня, используя высокие технологии, металлурги пытаются произвести сталь, похожую по свойствам на дамасскую, но пока их усилия тщетны, хотя с каждым годом качество получаемой стали и технико-экономические показатели ее производства улучшаются.
Будущее человечества тесно связано с использованием новых сплавов на металлической основе. Металл – фундамент современной цивилизации, основа основ технического прогресса. И чем выше поднимается человечество по ступеням развития, тем больше его нужда в металлах.
Список литературы
1. Анчишкин А.И. Наука-техника-экономика., М.: «Экономика», 1989г.
2. Васильева И.Н. Экономические основы технологического развития: Учебное пособие для студентов ВУЗов. – М.: Банки и биржи, изд. Объединение «ЮНИТИ», 1995г.
3. Волков М.И., Борщ И.М., Грушко И.М., Королев И.В. Дорожно-строительные материалы, М.: «Транспорт», 5издание, 1975г.
4. Воскобойников В.Г., Кудрин В.А., Якушев А.М. Общая металлургия М.:«Металлургия», 4издание, 1985г.
5. Воскобойников В.Г., Макаров Л.П. Технология и экономика переработки железных руд, М.: «Металлургия», 1977г., 255с.
6. Глинка Н.Л. Общая химия, Издание двадцать третье.
7. Гуляев А.П. Металлургия, 1966 г.
8. Дворин М.Д., Дмитриенко В.В., Крутикова Л.В. и др. Системы технологий отраслей народного хозяйства: Учебное пособие. Хабаровск: Изд-во ХПИ, 1991г.
9. Жадан В.Т., Гринберг Б.Г., Никонов В.Я. Технология металлов и других конструкционных материалов, Издание второе.
10. Кудрин В.А. Металлургия стали М.: «Металлургия», 1981г., 485с.
11. Медоваров Б.И. Металлургия: вчера, сегодня, завтра, К.: «Наукова думка», 1986г.
12. Основы металлургического производства (черная металлургия) М.: «Металлургия» 1988г.
13. Основы технологий важнейших отраслей промышленности./ Под ред. И.А. Сидорова: Учебник для экономических специальностей ВУЗов: - М.: «Высшая школа», 1971г.
14. Основы технологий важнейших отраслей промышленности часть 1-ая./ под ред. И.В. Ченцова:– Минск: «Высшая школа», 1989г.
15. Технология металлов и конструкционные материалы /под ред. Б.А. Кузьмина – М.: «Машиностроение», 1981г.
16. Хрущев А.Т. География промышленности СССР, М.: «Высшая школа», 1990г.
17. Энциклопедия «Радость познания», Том 1 «Наука и вселенная» М.: «МИР» 1983г.
Для подготовки данной работы были использованы материалы с сайта http://ref.com.ua
10>














