122548 (618503), страница 4
Текст из файла (страница 4)
Плавка с рафинированием в ковше печным шлаком.
Применяется на печах емкостью 100 - 200 т. После окончания окислительного периода и раскисления металла наводят новый шлак с высоким содержанием СаО. В течение 40 - 60 мин шлак раскисляют молотым коксом и ферросилицием. Перед выпуском в шлак дают CaF2. Высокое (10 - 20 %) содержание CaF2 обеспечивает высокую рафинирующую способность шлака. При выпуске из печи вначале выпускают в ковш жидкий шлак и затем мощной струей металл. Перемешивание металла со шлаком обеспечивает высокую степень рафинирования от примесей (от серы) и неметаллических включений. Одной из форм рафинирования стали в ковше можно считать технологию синтетических шлаков на основе СаО - Al2O3. В этом случае требуются дополнительные затраты для плавления шлака.
Плавка стали в индукционной печи.
В индукционных печах для выплавки металла используется тепло, которое выделяется в металле за счет возбуждения в нем электрического тока переменным магнитным полем. Источником магнитного поля в индукционной печи служит индуктор. Проводящая электрический ток шихта, помещенная в тигель печи, подвергается воздействию переменного магнитного поля, возникающего от индуктора, нагревается в следствие теплового воздействия вихревых токов.
По сравнению с дуговыми электропечами индукционные печи имеют ряд преимуществ: отсутствие электродов и электрических дуг позволяет получать стали и сплавы с низким содержанием углерода и газов; плавка характеризуется низким угаром легирующих элементов, высоким техническим КПД и возможностью точного регулирования температуры металла.
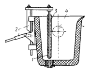
Вода
Рисунок 7. Схема индукционной печи:
1 – каркас; 2 – подовая плита; 3 – водоохлаждаемый индуктор; 4 – изоляционный слой; 5 – тигель; 6 – абсоцементная плита; 7 – сливной носок; 8 – воротник; 9 – гибкий токоподвод; 10 – опорные брусья
Индукционная печь состоит из огнеупорного тигля, помещенного в индуктор. Индуктор представляет собой соленоид, выполненный из медной водоохлаждаемой трубки. Ток к индуктору подается гибкими кабелями. Воду для охлаждения подводят резиновыми шлангами. Вся печь заключена в металлический кожух. Сверху тигель закрывается сводом. Для слива металла печь может наклоняться в сторону сливного носка.
Тигель печи изготавливается набивкой или выкладывается кирпичом. Для набивки используют молотые огнеупорные материалы - основные (магнезит) или кислые (кварцит).
Поскольку плавка в индукционной печи происходит очень быстро, шихта для нее используется, как правило, из высококачественного металлолома известного состава. Перед плавкой происходит точный расчет шихты по содержанию углерода, серы и фосфора, а также легирующих элементов. Шихту загружают в тигель таким образом, чтобы она плотно заполняла весь объем тигля. После загрузки шихты включают ток на полную мощность. По мере проплавления шихты загружают оставшуюся часть. Затем на поверхность металла загружают шлакообразующую смесь, состоящую из извести, магнезитового порошка и плавикового шпата. В процессе плавки шлак раскисляют добавками порошка кокса и молотого раскислителя. По ходу плавки добавляют легирующие материалы. Металл раскисляют кусковыми ферросплавами и в конце плавки алюминием.
В индукционных печах выплавляют, как правило, стали и сплавы сложного химического состава.
Разливка стали
Из сталеплавильного агрегата сталь выпускается в сталеразливочный ковш, предназначенный для кратковременного хранения и разливки стали. Сталеразливочный ковш (рис. 8) имеет форму усеченного конуса с большим основанием вверху. Ковш имеет сварной кожух, изнутри футеруется огнеупорным шамотным кирпичом. Перемещают ковш с помощью мостового крана или на специальной железнодорожной тележке.
Сталь из ковша разливают через один или два стакана, расположенных в днище ковша. Отверстие закрывают или открывают изнутри огнеупорной пробкой при помощи стопора.
Емкость сталеразливочных ковшей достигает 480 т.
В сталеплавильных цехах сталь из ковша разливают либо в изложницы, либо на машинах непрерывной разливки.
Рис.9.Схема сталеразливочного ковша
Рис 8. Схема разливки стали по изложницам
A – разливка сверху: 1 – сталеразливочный ковш; 2 – изложница; 3 – поддон;
Б – разливка сифоном: 1 – сталеразливочный ковш; 2 – центровая трубка; 3 – прибыльная надставка; 4 – изложница; 5 – поддон; 6 – сифонные трубки
Сталь разливают в изложницы или кристаллизаторы установок для непрерывной разливки.
Изложницы представляют собой чугунные формы для получения слитков различного сечения. Масса слитков для прокатки обычно составляет 10...12 т (реже —до 25 т), а для поковок достигает 250...300 т. Легированные стали иногда разливают в слитки массой в несколько сотен килограммов.
Применяют два способа разливки стали в изложницы: сверху и сифоном.
При разливке сверху (рис.10,а) сталь заливают из ковша 2 в каждую изложницу 1 отдельно. При такой разливке поверхность
слитков вследствие попадания брызг жидкого металла на стенки изложницы может быть загрязненной пленками оксидов.
При сифонной разливке (рис. 10 ,б) сталью заполняют одновременно от 2 до 60 установленных на поддоне 5 изложниц через центровой литник 3 и каналы в поддоне. В этом случае сталь поступает в изложницы снизу, что обеспечивает плавное, без разбрызгивания их заполнение, поверхность слитка получается чистой, сокращается время разливки. Сталь в надставке 4 сохраняется в жидком состоянии, благодаря чему уменьшаются раковина и отходы слитка при обрезке.
Разливку сверху обычно применяют для углеродистых, а разливку сифоном — для легированных сталей.
Рис. 10 Схема изложниц: Рис.11 Схема УНРС
а-с верхней разливкой
б-с сифонной разливкой
Непрерывная разливка стали производится на специальных установках — УНРС (рис. 11). Жидкую сталь из ковша 6 через промежуточное устройство 5 непрерывно заливают сверху в водоохлаждаемую изложницу без дна — кристаллизатор 4, а из нижней его части вытягивают со скоростью 1...2,5 м/мин с помощью валков 3 затвердевающий слиток. На выходе из кристаллизатора слиток охлаждается водой, окончательно затвердевает и попадает в зону резки, где его разрезают газовым резаком 2 на слитки определенной длины. Полученные слитки с помощью кантователя / опускаются на роликовый конвейер и подаются на прокатные станы.
На УНРС получают слитки прямоугольного сечения размерами от 150 Х 500 до 300 Х 200 мм, квадратного со стороной от 150 до 400 мм, а также круглые в виде толстостенных труб.
Благодаря непрерывному питанию и направленному затвердеванию в слитках., полученных на УНРС, отсутствуют усадочные раковины. Поэтому выход годных заготовок может достигать 96... 98 % массы разливаемой стали, поверхность получаемых слитков отличается хорошим качеством, а металл слитка — плотным и однородным строением
Затвердевание и строение стальных слитков
Процесс затвердевания стального слитка и образование кристаллической структуры в нем был рассмотрен выше. Необходимо добавить, что строение слитка определяется не только условиями охлаждения, но и степенью раскисления. По этому признаку стали делятся на кипящие, спокойные и полуспокойные.
Кипящей называют сталь, не полностью раскисленную в печи. Ее раскисление продолжается в изложнице за счет взаимодействия оксида железа FeO с углеродом. Образующийся при этом оксид углерода СО выделяется из ста держит неметаллических примесей, обладает высокой пластичностью.
Рис.12 Схематическое изображениесталей
а - кипящей, б - спокойной, в - полуспокойной
Спокойную сталь получают при полном раскислении металла в печи и ковше (рис. 12, б). Такая сталь затвердевает без выделения газов, в слитке образуется плотная структура, а усадочная раковина концентрируется в верхней части, что значительно уменьшает выход годного металла.
Полуспокойная сталь получается при раскислении ферромарганцем и недостаточным количеством ферросилиция или алюминия. В этом случае слиток не имеет концентрированной усадочной раковины, в нижней части он обычно имеет строение спокойной, а в верхней — кипящей стали (рис. 12,в). Такая сталь по качеству и стоимости является промежуточной между кипящей и спокойной.
Пути повышения качества стали
Выплавленные в кислородных конвертерах, мартеновских и электрических печах стали не всегда удовлетворяют по своим свойствам требованиям современной техники.
Непрерывное развитие техники представляет все более высокие требования к качеству стали. Для повышения их качества разработаны специальные технологические процессы внепечного рафинирования и рафинирующих переплавов.
Многочисленные способы получения металлов высокого качества могут быть условно разделены на три группы:
Обработка жидкого металла вне сталеплавильного агрегата
Выплавка стали в вакууме
Специальные способы электроплавки металлов
Обработка жидкого металла вне сталеплавильного агрегата.
При внепечной обработке металл, выплавленный в обычном сталеплавильном агрегате (мартеновской печи, конвертере или электропечи), подвергается внешнему воздействию в сталеразливочном ковше. Основной целью внепечной обработки жидкой стали в ковше является снижение содержания растворенных в металле газов, неметаллических включений и серы.
В настоящее время нет такого способа обработки жидкой стали в ковше, который позволил бы одновременно значительно снизить в металле содержание неметаллических включений, серы и газов. Поэтому в зависимости от поставленной задачи применяется тот или иной способ внепечной обработки металлов.
Обработка металлов в ковше синтетическим шлаком приводит к снижению в стали количества серы, неметаллических включений и кислорода. Сущность метода заключается в том, что металл выпускают из печи в ковш, частично заполненный жидким шлаком (4 - 5 % от массы металла), который предварительно выплавляют в специальном агрегате. Жидкий шлак и металл интенсивно перемешиваются. Сера, кислород и неметаллические включения переходят из металла в шлак. При обработке металла синтетическим шлаком важную роль играет его состав и физико-химические свойства. Шлак должен иметь низкие температуру плавления и вязкость, а также обладать высокой основностью и низкой окисленностью. Этим требованиям отвечают известково-глиноземистые шлаки, содержащие 50 - 55 % СаО, 38 - 42 % Al2O3, 1,5 - 4 % SiO2, 0,15 - 0,5 % FeO. Шлаки такого состава обладают высокой рафинирующей способностью.
Повышение качества стали, обработанной синтетическим шлаком, компенсируют затраты, связанные с выплавкой такого шлака.
Продувка металла в ковше порошкообразными материалами является одним из современных способов повышения качества стали и производительности сталеплавильных агрегатов.
рис.13 Схема установки ЭШП
1-электрод, 2-расправленный шлак,












