104555 (615863)
Текст из файла
Содержание.
Введение
Глава I. Сущность и основные виды организационных структур
1.1 Понятие организационной структуры и её сущность
1.2 Виды организационных структур
Глава II. Анализ организационной структуры ООО Фирма «Лига»
2.1 Краткая характеристика ООО Фирма «Лига»
2.2 Анализ организационной структуры ООО Фирма «Лига»
2.3 Возможные мероприятия по совершенствованию организационной структуры ООО Фирма «Лига»
Заключение
Список использованной литературы
Введение.
Организационная структура – одно из ключевых понятий менеджмента, тесно связанное с целями, функциями, процессом управления, работой менеджеров и распределением между ними полномочий. В рамках этой структуры протекает весь управленческий процесс (движение потоков информации и принятие управленческих решений), в котором участвуют менеджеры всех уровней, категорий и профессиональной специализации. Под организационной структурой предприятия понимаются состав, соподчиненность, взаимодействие и распределение работ по подразделениям и органам управления, между которыми устанавливаются определенные отношения по поводу реализации властных полномочий, потоков команд и информации. Структуру можно сравнить с каркасом здания управленческой системы, построенным для того, чтобы все протекающие в ней процессы осуществлялись своевременно и качественно. К организационным структурам предъявляется множество требований, таких как оптимальность, оперативность, надежность, экономичность, гибкость, устойчивость, но основным из них является то, что организационная структура всегда должна соответствовать стратегии предприятия.
Реализация стратегии – это важная часть общего механизма развития. Посредством этого организация может достигать поставленной цели и в конечном итоге миссии. Искусное исполнение стратегии в значительной степени зависит от компетентного персонала, от его достаточного мастерства и конкурентных возможностей, а также от эффективной внутренней организации предприятия. Таким образом, создание жизнеспособной структуры — это всегда самая приоритетная задача при реализации стратегии. Задача менеджеров при этом состоит в том, чтобы выбрать ту структуру, которая лучше всего отвечает целям и задачам организации, а также воздействующим на нее внутренним и внешним факторам [4, 297]. «Наилучшая» структура – это та, которая наилучшим образом позволяет организации эффективно взаимодействовать с внешней средой, продуктивно и целесообразно распределять и направлять усилия своих сотрудников и, таким образом, удовлетворять потребности клиентов и достигать своих целей с высокой эффективностью.
Не менее важной задачей построения структуры организации является обеспечение функциональных и производственных подразделений персоналом, обладающим навыками, техническими знаниями, способностями, необходимыми для обеспечения фирме конкурентного преимущества над соперниками при осуществлении одного или более видов деятельности, играющих важную роль в цепочке ценностей. Для этого нужно обладать определенным талантом и суметь правильно определить, каким уровнем подготовки, опытом, знаниями должен обладать персонал, каковы должны быть их ценности, убеждения, личные свойства, чтобы все это способствовало успешному выполнению стратегии [11, 427].
Актуальность данного вопроса обуславливает то, что совершенствование организационной структуры предприятия – это важнейшая задача современного менеджмента, важнейшая часть организационного развития, процесса изменений, совершенствования системы управления предприятием, способствующая также скорейшему достижению поставленных целей и задач.
Объектом работы является предприятие ООО Фирма «Лига».
Предметом изучения в данном случае будет являться организационная структура предприятия ООО Фирма «Лига».
Целью данной работы является исследование организационной структуры предприятия и предложение пути её совершенствования. В соответствии с целью, можно выделить следующие задачи:
1. Изучить типовые организационные структуры.
2. Дать краткую характеристику предприятия ООО Фирма «Лига».
3. Изучить и проанализировать организационную структуру исследуемого мною предприятия (ООО Фирма «Лига»).
4. Предложить меры по совершенствованию организационной структуры ООО Фирма «Лига».
Работа содержит две главы.
В первой главе дается понятие организационных структур и рассмотрены их основные типы и виды, достоинства и недостатки. Также сделаны выводы о целесообразности их применения.
Во второй главе дается общая характеристика ООО Фирма «Лига» и результаты проведенного мною анализа организационной структуры предприятия.
В третьей главе предложены возможные мероприятия по совершенствованию организационной структуры данного предприятия.
I. Сущность и основные виды организационных структур
1.1 Понятие организационной структуры и её сущность
Организационная структура предприятия - это его внутреннее строение, характеризующее состав подразделений и систему связи, подчиненность и взаимодействие между ними. Оргструктуры отличаются друг от друга сложностью, формализацией и соотношением централизации и децентрализации [4 ,279].
1. Сложность организационной структуры определяется по количеству отделов, групп, квалифицированных специалистов и уровней иерархии. Эти параметры в организациях могут существенно различаться в зависимости от принятого разделения работ и характера связей между ними. Количество и состав отделов, групп, высококвалифицированных специалистов и уровней иерархии могут меняться при существенных изменениях как в структуре самой организации, так и в ее отношениях с внешней средой.
2. Формализация характеризует масштабы использования правил и регулировочных механизмов для управления поведением людей, т.е. уровень стандартизации работ внутри организации. Стандарты ограничивают возможности выбора исполнителей, указывая им, что, когда и как надо делать. Работа должна выполняться в соответствии с требованиями, инструкциями, правилами, описанием процедур и операций по всем процессам, протекающим в организации. Их значение при снижении уровня формализации падает и исполнителям предоставляется большая свобода выбора и возможностей принятия собственных решений.
3. Централизация отражает степень концентрации принятия решений на самом высоком уровне организации. Она показывает формальное распределение прав, обязанностей и ответственности по вертикали управления, а ее уровень характеризует, в какой мере члены организации привлекаются к принятию управленческих решений. Управление централизовано, если все ключевые решения принимаются высшим менеджментом, а участие остальных уровней незначительно. Высокий уровень децентрализации обеспечивает более быструю реакцию на события и принятие ответных мер. К их реализации привлекается большее количество управленцев, что повышает уверенность в решении проблем. Критерии, по которым можно определить реальный уровень децентрализации в управлении организацией, связаны с оценкой системы отношений между исполнителями и менеджерами, между менеджерами разных уровней, между менеджерами и клиентами и т.п.
Организационная структура в классическом понимании определяет следующие три характеристики организации: [12, 143]
-
совокупность всех подразделений, служб и отдельных сотрудников фирмы;
-
вертикальные и горизонтальные связи между ними;
-
уровни иерархии, занимаемые ими (т.е. соподчиненность элементов организации).
Структурное подразделение организации — группы людей, деятельность которых сознательно направляется и координируется для достижения общих целей. Отношения между ними поддерживаются благодаря связям, которые принято подразделять на горизонтальные и вертикальные. Горизонтальные связи носят характер согласования и являются, как правило, одноуровневыми. Вертикальные связи — это связи подчинения, и необходимость в них возникает при иерархичности управления, т.е. при наличии нескольких уровней управления. Кроме того, связи в структуре управления могут носить линейный и функциональный характер. Линейные связи отражают движение управленческих решений и информации между так называемыми линейными руководителями, т.е. лицами, полностью отвечающими за деятельность организации или ее структурных подразделений. Функциональные связи имеют место по линии движения информации и управленческих решений по тем или иным функциям управления.
Между структурой управления и организационной структурой существует тесная связь: структура организации отражает принятое в ней разделение работ между подразделениями, группами и людьми, а структура управления создает механизмы координации, обеспечивающие эффективное достижение общих целей и задач организации. Как правило, мероприятия по проектированию или изменению состава самой организации (разукрупнение, объединение, слияние с другими организациями и др.) вызывают необходимость соответствующих перемен в структуре управления.
1.2 Виды организационных структур
Можно выделить два подхода к происхождению типов организационных структур. Первый — это формирование структуры управления исходя из внутреннего строения организаций, разделения работ и рационализации управления — иерархический тип. Второй исходит из необходимости постоянного приспособления структуры управления к условиям внешней среды, получивший название органического. При первом подходе главное внимание уделялось разделению труда на отдельные функции и соответствию ответственности работников управления предоставляемым полномочиям. В течение многих десятилетий организации создавали формальные структуры управления, которые получили название иерархических (бюрократических) [2, 176].
Концепция иерархической структуры была сформулирована немецким социологом Максом Вебером. Она содержала следующие принципиальные положения:
1. Четкое разделение труда, следствием которого является необходимость использования квалифицированных специалистов по каждой должности;
2. Иерархичность управления, при которой нижестоящий уровень подчиняется и контролируется вышестоящим;
3. Наличие формальных правил и норм, обеспечивающих однородность выполнения менеджерами своих задач и обязанностей;
4. Дух формальной обезличенности, с которым официальные лица выполняют свои обязанности;
5. Осуществление найма на работу в соответствии с квалификационными требованиями к данной должности.
Органический тип структуры управления отвергает необходимость в детальном разделении труда по видам работ и формирует такие отношения между участниками процесса управления, которые диктуются не структурой, а характером решаемой проблемы.
Главным свойством таких структур, известных в практике управления как гибкие и адаптивные, является присущая им способность сравнительно легко менять свою форму, приспосабливаться к новым условиям, органически вписываться в систему управления. Эти структуры ориентируются на ускоренную реализацию сложных программ и проектов в рамках крупных предприятий и объединений, целых отраслей и регионов. Как правило, они формируются на временной основе, т.е. на период реализации проекта, программы, решения проблемы или достижения поставленных целей. Органический тип в отличие от иерархического представляет собой децентрализованную организацию управления, для которой характерны:
- отказ от формализации и бюрократизации процессов и отношений
- сокращение числа иерархических уровней
- высокий уровень горизонтальной интеграции между персоналом
- ориентация культуры взаимоотношений на кооперацию
- взаимная информированность
- самодисциплина
Иерархический тип представлен следующими структурами:
I. Линейная.
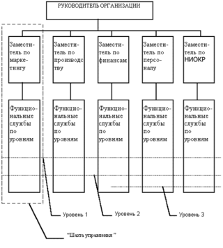
Основы линейных структур составляет так называемый "шахтный" принцип построения и специализация управленческого процесса по функциональным подсистемам организации (маркетинг, производство, финансы, персонал, НИОКР, инновации и т. д. ). По каждой подсистеме формируется иерархия служб ("шахта"), пронизывающая всю организацию сверху донизу. Результаты работы каждой службы оцениваются показателями, характеризующими выполнение ими своих целей и задач. Соответственно строится и система мотивации и поощрения работников. При этом конечный результат (эффективность и качество работы организации в целом) становится как бы второстепенным, так как считается, что все службы в той или иной мере работают на его получение.
Рис. 1. Линейная организационная структура
Преимущества линейной структуры:
1. Четкая система взаимных связей функций и подразделений;
2. Четкая система единоначалия - один руководитель сосредотачивает в своих руках руководство всеми процессами, имеющими общую цель;
Характеристики
Тип файла документ
Документы такого типа открываются такими программами, как Microsoft Office Word на компьютерах Windows, Apple Pages на компьютерах Mac, Open Office - бесплатная альтернатива на различных платформах, в том числе Linux. Наиболее простым и современным решением будут Google документы, так как открываются онлайн без скачивания прямо в браузере на любой платформе. Существуют российские качественные аналоги, например от Яндекса.
Будьте внимательны на мобильных устройствах, так как там используются упрощённый функционал даже в официальном приложении от Microsoft, поэтому для просмотра скачивайте PDF-версию. А если нужно редактировать файл, то используйте оригинальный файл.
Файлы такого типа обычно разбиты на страницы, а текст может быть форматированным (жирный, курсив, выбор шрифта, таблицы и т.п.), а также в него можно добавлять изображения. Формат идеально подходит для рефератов, докладов и РПЗ курсовых проектов, которые необходимо распечатать. Кстати перед печатью также сохраняйте файл в PDF, так как принтер может начудить со шрифтами.















