194533 (615767), страница 5
Текст из файла (страница 5)
Узагальнюючи вищесказане, можна зробити висновок, що конкуренція змушує покращувати якість продукції, розширювати асортимент. А інноваційний менеджмент вимагає здатності відмовитись від усталеної практики виконання роботи, потребує нестандартних, оригінальних рішень щодо розв’язання проблем, націлює на пошук нових можливостей у звичному перебігу подій.
РОЗДІЛ 3
ІННОВАЦІЙНА ПРОПОЗИЦІЯ
3.1 Формування інноваційної стратегії впровадження нової конструкції пружної муфти
Особливість сучасного підходу до процесу формування інноваційних стратегій полягає у створенні системи так званого «нововвідного конвеєра». Суть цього підходу полягає в тому, щоб забезпечити постійне впровадження у виробництво нових, сучасніших виробів; постійно скорочувати всі види витрат; підвищувати якісні характеристики інноваційної діяльності; забезпечувати конкурентні переваги на ринку.
Розроблення інноваційної стратегії передбачає прийняття стратегічних завдань (цілей), оцінку можливостей та ресурсів для їх використання; аналіз альтернатив; підготовку конкретних програм, проектів, бюджетів; оцінку сильних та слабких сторін діяльності суб'єктів з урахуванням обраних цілей. Установлення цілей адаптує інноваційний стратегічний напрям розвитку підприємства до конкретних завдань, пов'язаних з виробництвом і результатами діяльності організації. Стратегічні цілі фокусуються на конкуренції і на створенні сильних конкурентних позицій у конкретній сфері діяльності.
В даній роботі в основу розробки нової конструкції пружної муфти поставлена задача збільшити ресурс пружного диску та зробити муфту запобіжною шляхом використання нових елементів та конструктивної зміни існуючих.
Інноваційна пропозиція цієї роботи – муфта пружна пальцево-дискова – відноситься до машинобудування і може бути використана, зокрема, для з’єднання кінців горизонтальних співвісних валів.
В п. 2.1. розглянута відома пружна муфта втулочно-пальцьова (ДСТУ 2128–93), яка має дві фланцеві напівмуфти, пальці, змонтовані на одній із них, і пружні втулки, що надіті на пальці, розміщені у спряжених отворах другої напівмуфти. В цьому рішенні пружні втулки є найменш міцною ланкою, що піддаються знакозмінним циклічним навантаженням, які обумовлюють низький ресурс муфти. Крім того, аварійні перевантаження вищі за розрахункові обумовлюють повний вихід муфти з експлуатації.
Відома також муфта з тороподібним пружним елементом (ДСТУ 2124–93), розглянута в п. 2.1., яка має дві фланцеві напівмуфти, з’єднані тороподібною оболонкою за допомогою гвинтів та натискних кілець. Тороподібна оболонка, як найменш міцна ланка, обумовлює низький ресурс, а при перевантаженнях розривається (тобто працює як запобіжник). Складність монтажу і демонтажу обумовлює тривалий простій.
З
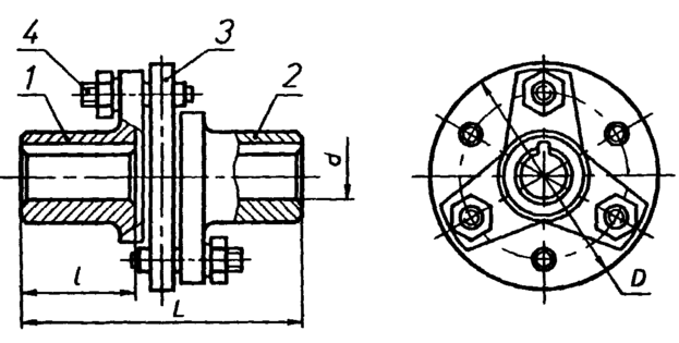
Рис. 3.1.1. Муфта пружна пальцево-дискова (ДСТУ 2133–93)
а прототип інноваційної розробки прийнята пружна муфта пальцево-дискова (ДСТУ 2133–93) – рис. 3.1.1. Вона має дві фланцеві напівмуфти 1 і 2, пальці 4, змонтовані нерухомо і порівну на кожній, пружний диск 3 з центральним отвором, встановлений на пальцях між напівмуфтами. У спряжених пальців з пружним диском виникають циклічні навантаження від обертального моменту і перекосу валів, що обумовлює низький ресурс, а при перевантаженнях, як і в першому рішенні, вихід муфти з експлуатації.Сутність запропонованої конструкції муфти пояснюється кресленням, на якому показаний вид зліва на муфту, загальний вигляд муфти в розрізі А–А, збільшений елемент пружного диска (вид Б). Муфта містить дві фланцеві напівмуфти 1 та 2, пальці 3, змонтовані порівну на кожній, пружний диск 4 центральним отвором , встановлений на пальцях між напівмуфтами, пружний диск має зовнішній 5 та внутрішній 6 бандажі, кожен з яких має два реборди 7. Зовнішній бандаж встановлений на пружний диск з натягом. Кожен палець однієї з напівмуфт біля основи і фланця має місцеве послаблення поперечного перерізу - проточку 9.
Таким чином зовнішній бандаж створює в зовнішній зоні пружного диску попередні напруження стиску, внаслідок чого в ній не виникають знакозмінні напруження, що носять втомний характер при знакозмінних навантаженнях від реверсу. Внутрішній бандаж забезпечує стійкість пружного диску (його форму) при деформаціях від зовнішніх навантажень. Для зниження місцевих напружень, що вникають у спряженнях пальців з пружним диском від неспіввісності та перекосу валів, диск виконано складеним з набору елементів 8, що роблять його більш піддатливим. Надійність фіксації бандажів пружному диску від осьового зміщення при перекосах валів забезпечується за рахунок реборд, що охоплюють диск з торців, виконаних в бандажах. Виконання пальців на одній з напівмуфт з ослабленням перерізу біля основи дозволяє при перевантаженнях запобігти повному руйнуванню муфти, так як пальці другої напівмуфти і сам пружний елемент залишаються незруйнованими. Зріз пальців відбувається цілеспрямовано по проточкам на пальцях однієї з напівмуфт. Зрізані пальці заміняються на нові.
Муфта працює в наступній послідовності. Обертальний момент з вала двигуна через шпонку передається на напівмуфту 1 і через пальці 3 цієї напівмуфти на бандажоване пружне кільце 4. Під дією обертального моменту напівмуфта 1 провертається відносно напівмуфти 2. Зусилля деформації пружного диска через пальці другої напівмуфти передаються на напівмуфту 2 і через ї шпонку на вал машини. Як тільки сили деформації пружного диска перевищать сили опору валу машини, він почне обертатися в ту ж сторону. При аварійному перевантаженні зусилля деформації пружного диска перевищать допустимі напруження в ослаблених проточками перерізах пальців однієї з напівмуфт, по яким відбудеться зріз. При цьому зрізані пальці не випадають, а залишаються в пружному диску, а він, в свою чергу, на пальцях другої напівмуфти, яка зупиниться разом з валом машини. Перша муфта зупиниться після вимкнення двигуна. Після усунення причин аварії зрізані пальці замінюються на нові, і муфта знов готова до роботи.
Застосування муфти запропонованої конструкції дозволить збільшити ресурс в 2...3 рази у порівнянні з прототипом, скоротити витрату пальців, надати муфті властивості запобіжної.
3.2 Економічна ефективність інноваційної діяльності при впровадженні нової конструкції пружної муфти
Оскільки технічні нововведення мають визначальний вплив на всі інші види інновацій і, крім того, заходи по впровадженню технічних новинок вимагають інвестування значних коштів, то важливим є питання оцінки економічної ефективності цих заходів. Ефективність – це відносна величина, що характеризує результативність будь-яких затрат. Узагальнюючим показником економічної ефективності будь-якої групи технічних нововведень слугує економічний ефект, що характеризує абсолютну величину перевищення вартісної оцінки очікуваних (фактичних) результатів над сумарними витратами ресурсів за певний розрахунковий час.
Перед тим як розрахувати економічний ефект від впровадження запропонованої конструкції муфти, розглянемо основні показники, що визначають ефективність запропонованої конструкції в порівнянні з прототипом – пружною пальцево-дисковою муфтою за ДСТУ 2133–93. Результати представлені у вигляді табл. 3.2.1.
Таблиця 3.2.1.
Порівняльна характеристика
запропонованої конструкції муфти із прототипом
| № п/п | Показник | Тип муфти | |
| Муфта запропонованої конструкції | Муфта за ДСТУ 2133-93 | ||
| 1 | 2 | 3 | 4 |
| Показники, що є визначальними для розрахунку економічного ефекту | |||
| 1. | Ресурс, год | 20 000 | 8 000 |
| 2. | Собівартість одиниці продукції, грн | 130 | 120 |
| Експлуатаційні показники | |||
| 3. | Максимальний обертальний момент, Н·м | 900 | 500 |
| 4. | Максимальне напруження пружного елементу, Н/см2 | 150 | 120 |
| 5. | Крутильна жорсткість, Н∙м/рад | 1300 | 1000 |
| 6. | Кутова жорсткість, Н∙см/рад | 250 | 200 |
| 7. | Допустиме осьове зміщення напівмуфт, мм | 1...4 | 1...2 |
| 8. | Допустиме радіальне зміщення осей валів, мм | 0,1...1 | 0,1...1 |
| 9. | Допустиме кутове зміщення осей валів, º | 1...5 | 1...4 |
| 10. | Число пальців однієї напівмуфти, шт | 4 | 6 |
| 11. | Наявність властивості запобіжної муфти | так | ні |
Визначимо прибуток від реалізації однієї муфти:
,
де П – прибуток, грн
С – собівартість однієї муфти, грн
Р – рентабельність.
– для старої конструкції муфти (Р = 10 %):
(грн);
– для нової конструкції муфти (Р = 15 %):
(грн);
Ціна Ц за одиницю продукції:
– для старої конструкції муфти:
(грн);
– для нової конструкції муфти :
(грн);
Додаткові витрати підприємства на виготовлення партії муфт нової конструкції з N штук:
(грн);
(N = 10 000 шт. – кількість деталей у партії)
Додатковий прибуток від реалізації партії муфт нової конструкції з N штук:
(грн);
Вартість експлуатації одиниці продукції у споживача за годину:
– для старої конструкції муфти:
(грн/год);
– для нової конструкції муфти :
(грн/год)
(тут Т1 і Т2 відповідно ресурс роботи старої та нової конструкції муфти)
Економія за годину на одиницю продукції складе:
(грн/год)
Загальний економічний ефект споживача:
(грн)
Народногосподарський економічний ефект :
(грн)
ВИСНОВКИ
Якісне машинобудування є матеріальною основою технічного переозброєння всієї економіки, в чому Україна відчуває сьогодні велику потребу. Відродження машинобудівної галузі, забезпечення її випереджаючого розвитку – одна з найважливіших умов побудови постіндустріального суспільства, що базується на ефективному використанні наукових знань і високих технологій. Машинобудування має ключове значення для технологічного забезпечення всіх галузей виробництва. Випускаючи продукцію для різних галузей народного господарства, машинобудування реалізує досягнення науково-технічного прогресу і забезпечує комплексну механізацію та автоматизацію виробництва.
На жаль, конкурентоспроможність вітчизняної продукції машинобудування залишається на низькому рівні. Це обумовлюється недостатньою кількістю обігових коштів у багатьох вітчизняних підприємств, застарілим обладнанням, низькою якістю сервісного, обслуговування тощо. На низькому рівні залишається інноваційна активність вітчизняних підприємств. Лише близько 14% з них провадять інноваційну діяльність, хоча працює значна кількість наукових і конструкторських організацій.
Щоб вийти із затяжної кризи, основою для зростання традиційних галузей машинобудування має бути впровадження досягнень науково-технічного прогресу. В Україні мають випереджальними темпами розвиватися такі наукомісткі виробництва, як створення систем автоматизації управління, сучасних засобів зв’язку, ЕОМ, електроніки, робототехніки, засобів для атомної енергетики, авіаційної, ракетно-космічної і лазерної техніки, верстатів з ЧПУ тощо, що в свою чергу неможливо без провадження активної інноваційної діяльності.















