99866 (613966), страница 3
Текст из файла (страница 3)
Управление эксплуатации занимается выяснением технической возможности и подключением сторонних операторов связи. Решаются оперативные и плановые вопросы эксплуатации междугородной, городской, сельской телефонной связи, линейного хозяйства и телеграфа.
Управление РРиССП - обеспечение передачи теле и радиосигналов по всей территории области, эксплуатация РРЛ, оформление частот и лицензий для радиопередающей аппаратуры.
Отдел главного энергетика занимается обеспечением бесперебойной работы служб электроснабжения объектов электросвязи.
Производственная лаборатория электросвязи производит ремонт, вышедшего из строя оборудования.
Заместитель директора по маркетингу и продаже услуг курирует работу отдела маркетинга, отдела общественных связей, отдел по работе с корпоративными клиентами
Отдел маркетинга занимается работой с клиентами, регулированием ценовых вопросов при продаже услуг, выявлением новых потребностей, поиском и предложением новых услуг.
Отдел общественных связей проводит рекламные мероприятия, формирует имидж компании в средствах массовой информации, работает непосредственно с целевой аудиторией потенциальных потребителей.
Отдел по работе с корпоративными клиентами заключение договоров по отделу маркетинга, отслеживает оплату услуг, два года назад через этот отдел проходили все сделки с взаимозачетами.
В подчинении заместителя генерального директора по строительству - отдел развития, отдел технического планирования, группа механизации и транспорта.
Отдел развития контролирует ход работ по введению новых объектов связи, производит приемку объектов и сдачу их в эксплуатацию, занимается проработкой технической части контрактов на поставку оборудования, контролирует оплату по этим контрактам.
Отдел технического планирования производит планирование работ по введению новых объектов связи.
Группа механизации и транспорта отвечает эксплуатацию строительной техники и транспорта.
Заместитель директора по экономике контролирует работу Финансового управления, Управления экономики , отдел имущества , отдел стратегического планирования и отдел КСУ и У (внутренний аудит)
Управление экономики планирует движение денежных средств, их распределение внутри предприятия, занимается заемными средствами (работа с банками), бюджетированием, расчетом заработной платы и т.д.
В 1998 году на предприятии была введена единая автоматизированная система учета движения товарно- материальных потоков – программа SAP R3. Отдел КСУиУ (внутреннего аудита) занимается контролем и сопровождением работ бухгалтерий всех подразделений через эту систему.
Отдел имущества и имущественных прав проводит работу с ценными бумагами предприятия, производит оформление документов на вновь возводимые объекты недвижимости.
Заместитель директора по безопасности контролирует работу управления безопасности, которое отвечает за охрану объектов предприятия.
В ведении директора филиала находится правовое управление, управление по работе с персоналом и служба безопасности, Хозяйственный отдел занимается размножением документов, получением и отправкой почты, организацией внутрикорпоративных мероприятий и т.д.
Правовое управление - занимается составлением договоров, защитой интересов предприятия в хозяйственных спорах и т.д.
Кроме того, в подчинении директора находятся группа безопасности, которая занимается экономической безопасностью (сохранение коммерческой тайны, предотвращение экономических преступлений), старший референт, переводчик.
Отдельно стоит выделить главного бухгалтера и бухгалтерию.
Бухгалтерия занимается учетом и платежами по основным средствам, расчетом и выплатой заработной платы, платежами по хозяйственным договорам, расчетом и уплатой налогов и т.д.
2.3 Дублирование работ
Опишем дублирование работ между отделами и функциональными блоками.
Первое, что сразу видно на схеме – это некоторое дублирование работ между службой безопасности и группой безопасности.
Дублирование работ есть между отделом развития и отделом технического планирования, управлением эксплуатации и отделом маркетинга
Наиболее заметно дублирование работ по контролю платежей в отделе развития, отделе взаиморасчетов, отделе экономики и проведение платежей в бухгалтерии. Это вызывает трудности при выяснении общей задолженности предприятия перед поставщиками, при составлении плана будущих платежей.
2.4 Характер передачи полномочий
Определим степень централизации управления на рассматриваемом предприятии. Для этого определим следующие характеристики:
1. Количество решений, принимаемых на нижестоящих уровнях управления – нижестоящие руководители (начальники отделов) не принимают каких-либо решений, затрагивающих финансовые вопросы, они могут только выносить предложения, которые рассматривают руководители среднего звена. Руководители среднего звена могут принимать решения в рамках выделяемого финансирования, например на месяц выделяется 1 000 000 на различные платежи подразделения. Суммы, которые превышают установленный лимит, подлежат согласованию с высшим руководством.
2. Важность решений, принимаемых на нижестоящих уровнях – руководители низшего уровня не принимают важных решений, руководители среднего уровня ограничены финансированием, которое заранее рассчитано только на покрытие текущих нужд подразделения. Все остальное финансирование выделяется только на заранее определенные цели.
3. Последствия решений, принимаемых на нижестоящих уровнях – руководители среднего звена принимают решения, затрагивающие только функцию своего подразделения.
4. Количество контроля за работой подчиненных - руководители высшего звена часто проверяют повседневные решения, подчиненных ему руководителей.
На основе вышесказанного можно сделать следующие выводы:
Рассматриваемый аппарат управления предприятия является организацией функционального типа, жестко централизованной.
Положительными сторонами централизации являются: хороший контроль и координация специализированных независимых функций, уменьшается количество и масштабы ошибочных решений; централизованное управление позволяет рационально и в соответствии с общими целями развивать отделы и подразделения организации, более экономно и легко использовать опыт и знания персонала центрального административного органа.
Недостатки централизации: высшим руководителям для осуществления постоянного контроля и принятия решений необходимо постоянно обрабатывать огромное количество информации, что повышает вероятность принятия неоптимальных решений; жесткий контроль над подчиненными не позволяет им проявлять инициативу, в результате этого подчиненный не чувствует себя частью организации и работает без энтузиазма; ограничение проявления инициативы не способствует притоку и воспитанию в организации молодых талантливых руководителей, которые могли бы помогать росту фирмы.
Организационная структура, построенная в соответствии с принципами:
-
принцип иерархичности уровней управления, при котором каждый нижестоящий уровень контролируется вышестоящим и подчиняется ему;
-
вытекающий из него принцип соответствия полномочий и ответственности работников управления месту в иерархии;
-
принцип разделения труда на отдельные функции и специализации работников по выполняемым функциям; принцип формализации и стандартизации деятельности, обеспечивающий однородность выполнения работниками своих обязанностей и скоординированность различных задач;
-
вытекающий из него принцип обезличенности выполнения работниками своих функций;
-
принцип квалификационного отбора, в соответствии с которым найм и увольнение с работы производится в строгом соответствии с квалификационными требованиями.
получила название иерархической или бюрократической структуры. Наиболее распространенным типом такой структуры является линейно - функциональная (линейная структура).
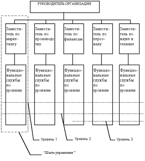
2.5 Линейно- функциональная организационная структура
Основы линейных структур составляет так называемый "шахтный" принцип построения и специализация управленческого процесса по функциональным подсистемам организации (маркетинг, эксплуатация, правовые вопросы, финансы, кадры и т. д. ). По каждой подсистеме формируется иерархия служб ("шахта"), пронизывающая всю организацию сверху донизу (так например эксплуатацией занимаются СЭ, СРТ, Лаборатории по метрологии и производственная).
Результаты работы каждой службы оцениваются показателями, характеризующими выполнение ими своих целей и задач. Соответственно строится и система мотивации и поощрения работников. При этом конечный результат (эффективность и качество работы организации в целом) становится как бы второстепенным, так как считается, что все службы в той или иной мере работают на его получение.
Преимущества линейной структуры:
-
четкая система взаимных связей функций и подразделений;
-
четкая система единоначалия - один руководитель сосредотачивает в своих руках руководство всей совокупностью процессов, имеющих общую цель;
-
ясно выраженная ответственность;
-
быстрая реакция исполнительных подразделений на прямые указания вышестоящих.
Недостатки линейной структуры:
-
отсутствие звеньев, занимающихся вопросами стратегического планирования; в работе руководителей практически всех уровней оперативные проблемы ("текучка") доминирует над стратегическими;
-
тенденция к волоките и перекладыванию ответственности при решении проблем, требующих участия нескольких подразделений;
-
малая гибкость и приспособляемость к изменению ситуации;
-
критерии эффективности и качества работы подразделений и организации в целом - разные;
-
тенденция к формализации оценки эффективности и качества работы подразделений приводит обычно к возникновению атмосферы страха и разобщенности;
-
большое число "этажей управления" между работниками, занимающимися эксплуатацией, и лицом, принимающим решение;
-
перегрузка управленцев верхнего уровня;
-
повышенная зависимость результатов работы организации от квалификации, личных и деловых качеств высших управленцев.
В
ывод: в современных условиях недостатки структуры перевешивают ее достоинства. Такая структура плохо совместима с современной философией качества. Каждый «тянет одеяло на себя» (Слабые звенья в структуре ОАО выделены жирным шрифтом)
Рис.2.3. Линейная структура управления
3. Проектирование новой системы управления
Рассматривая все недостатки существующей системы необходимо отметить, что эффективность работы организации зависит не от типа структуры управления, а от приспособленности этой системы к внешней среде и скорости ее изменения. При проектировании новой структуры управления следует отметить следующие факторы:
-
во всем, что касается предоставления услуг проводной связи и эксплуатации соответствующих объектов (АТС) внешние условия меняются очень медленно - на сегодняшний день стоит задача повсеместной телефонизации города и области;
-
предоставление услуг проводной связи из-за фиксированных тарифов не приносит прибыли;
-
наиболее быстро появляются новшества в технологиях передачи данных, вследствие чего появляется возможность предоставления новых услуг связи;
-
основную прибыль предприятие получает от дополнительных услуг связи.
Исходя из вышесказанного, мы оставляем основную структуру функциональной т.к. в таком виде она наилучшим образом обеспечивает предоставление услуг и эксплуатацию объектов проводной связи.
Мы убираем дублирующие функции из отдела развития, отдела экономики, отдела взаиморасчетов и передаем их новому финансовому отделу. Финансовый отдел будет заниматься составлением графика оплаты, контролем получения оплаты и оплатой по хозяйственным договорам (начиная с определенной суммы договора), получением кредитов и выплатой по ним. Таким образом, работа финансового отдела позволит облегчить контроль и планирование входящего и исходящего потока финансовых средств.
Т.к. основную прибыль предприятие получает от предоставления дополнительных услуг связи нужно больший акцент сделать на продаже этих услуг. Для этого из отдела маркетинга мы выделим отдел продаж, который будет непосредственно заниматься работой с частными клиентами и выделим отдел корпоративных продаж, который будет работать с корпоративными клиентами. При этом отделу маркетинга необходимо наладить четкие горизонтальные связи с Управлением эксплуатации, центром управления и отделом экономики путем прикрепления одного или двух сотрудников из указанных служб к отделу маркетинга, либо переводом их в отдел маркетинга. Таким образом отдел маркетинга будет своевременно получать информацию по техническим новшествам, разрабатывать проекты по их внедрению и рассчитывать экономический эффект от их ввода.















