95192 (613208), страница 2
Текст из файла (страница 2)
- для пін;
- для грузлих продуктів;
- для порошків і суспензій;
- клапани спеціального призначення;
- дозуючі клапани.
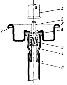
Рис. Стандартна клапанно-розпилювальна система для рідких продуктів:
1 - розпилювальна голівка (насадка); 2 — шток; 3 — пружина;
4 — гумова манжета; 5 — корпус клапана; в — сифонна трубка; 7 — прокладка; 8 — капсула (чашка)
Вітчизняною фармацевтичною промисловістю випускаються чотири типи клапанів і дев'ять типів розпилювачів і насадок до них (мал. 23.2, 23.3). Їх підрозділяють на: розпилювачі для інгаляцій 1, для лікування бронхіальної астми 2, для суспензіонних 3 і плівкоутворювальних 4 аерозолів; насадки стоматологічні, ректальні, вагінальні 5 і ін.
Розпилювачі й насадки вітчизняного виробництва
Пропіленти, що застосовуються для створення препаратів в аерозольному впакуванні.
Важливе значення для видачі аерозольного продукту мають що розсіюють, або евакуюють гази, за допомогою яких усередині посудин створюється тиск. Ці гази називаються пропілентами.
Пропіленти класифікують по величині тиску насичених парів, по агрегатному стані при нормальних умовах і по хімічній природі.
Залежно від тиску насичених пар їх ділять на дві групи: основні, здатні створювати самостійно тиск не менш 2 атм, і допоміжні - створюючі тиск менш 1 атм. По агрегатному стані вони підрозділяються на три групи:
1) зріджені гази: фторорганчні з'єднання (хладони або фреони); вуглеводні пропанового ряду (пропан, бутан, ізобутан); хлоровані вуглеводні (вініл і метилхлорид і ін.);
2) стислі (тяжкозжимаємі) гази (азот, закис азоту, двоокис вуглецю);
3) легколетучі органічні розчинники (метиленхлорид, етиленхлорид і ін.).
У технології фармацевтичних аерозолів найчастіше застосовуються зріджені гази — хладони-11, -12, -114. Це газоподібні або рідкі речовини, добре розчинні в органічних розчинниках і багатьох маслах, практично нерозчинні у воді, негорючі, не утворюючих вибухонебезпечних сумішей з повітрям і відносно хімічно інертні. Найпоширенішими в більшості країн миру вважаються фреон-11 (CCl3F) і фреон-12 (CC12F2), що застосовуються як холодоагенти в холодильниках.
Сучасні інгалятори ЛС можна розділити на кілька основних типів 19.8):
-
аерозольний дозований інгалятор (АДІ);
-
порошковий інгалятор (ПІ);
-
небулайзер.
Аерозольний дозований інгалятор
АДІ - найпоширеніша в цей час форма інгалятора 90,2% продажів інгаляторів у США). Дозволяє розпорошувати у вигляді аерозолю широкий спектр ЛС (див. табл. 19.7). АДІ можна застосовувати для доставки препаратів у легені, носоглотку (фюзафюнжин) або порожнина носа (глюкокортико-стероїди). Основним недоліком АДІ є необхідність координувати дихальний маневр (інтенсивний і рівномірний вдих) з активацією інгалятора (натискання пальцями на балончик). Хворого варто інформувати про те, що:
-
інгаляції за допомогою АДІ варто проводити сидячи або коштуючи (але не лежачи);
-
перед використанням необхідно струснути інгалятор;
-
при вдиху губи повинні щільно обхопити мундштук інгалятора;
-
після завершення вдиху варто затримати подих на 5-10 з, щоб забезпечити кращу адсорбцію аерозолю.
Таблиця. Основні системи доставки інгаляційних ЛС
| Дозуючий пристрій | Частка препарату, що досягає легенів, % | Місце зберігання препарату | Переваги | Недоліки |
| АДІ | 15-20 | Резервуар | Можна використовувати зі спейсером; інгалятор містить багато доз; гарне співвідношення вартості й ефективності; ефективність мало залежить від швидкості вдиху | Складність у використанні (вимагає координації вдиху й активації АДІ); неможливо застосовувати в дітей до 6 років; ефект охолодження при вдиханні (фреон);більша частина дози попадає в порожнину рота й ковтки; багато небажаних ефектів |
| Небулайзер | 14 (до 40) | Небули | Ефективність не залежить від швидкості вдиху | Висока вартість. Як правило, являє собою стаціонарний пристрій, залежить від джерела електроенергії |
| Спинхалер | 9 | Капсули | Дози однорідні; необмежений розмір дози | Вимагає частого перезарядження інгалятора; складний у використанні |
| Аеролайзер | - | |||
| Ротахалер | 9 | |||
| Турбухалер | 20-30 | Резервуар | Містить багато доз; більша частка препарату досягає легенів; небагато небажаних ефектів | Ефективність залежить від швидкості вдиху (мінімум 60 л/хв) |
| Аккухалер (дискус) | 11-15 | Блістери, що містять препарат | Ефективність мало залежить від швидкості вдиху; висока відтворюваність; містить багато доз | Ефективність залежить від швидкості вдиху |
| Дискхалер | 11-15% | Складність використання |
Правильна техніка інгаляцій забезпечує проникнення в бронхи близько 15-20% дози препарату. При помилках у використанні цього АДІ частка препарату, що потрапив у бронхи, стає істотно менше.
Діти, літні, особи зі зниженим інтелектом або неврологічними порушеннями зазнають труднощів при використанні АДІ, дозволити які можна, застосовуючи спейсер (мал. 19.1) або інгалятор «легкий подих». Останній являє собою АДІ, що автоматично активується при вдиху хворого.
Спейсер
Спейсер (див. рис.) являє собою ємність різного обсягу й дозволяє акумулювати ЛС перед використанням. При цьому немає необхідності в координації вдиху й активізації інгалятора. Дуже великі частки аерозолю адсорбуются на поверхні спейсера, завдяки чому не попадають у порожнину рота й не всмоктуються в системний кровотік. ЛС із вираженими НЛР (наприклад, глюкокортикостеріоди) краще призначати через спейсер.
Спейсер дозволяє проводити інгаляції у хворих з різким обмеженням швидкості повітряного потоку (наприклад, при нападі БА). В останньому випадку клінічна ефективність бронхорозширюючих ЛС значно вище, ніж при використанні АДІ.
Рис. Спейсер АероЧамбер.
Спейсер з лицьовою маскою використовують для інгаляцій у дітей.
Для лікування хворих з важкої бронхообструкцією застосовують спейсери великого (більше 0,75 л) обсягу. Деякі інгалятори випускають із невеликими спейсерами, основна функція яких полягає в адсорбції великих часток аерозолю.
Порошкові інгалятори
Перші ПІ (рис.) з'явилися на початку 1970-х років. Перевагою їхніх засобів доставки є простота використання (інгалятор не має потреби в активації = у процесі вдиху + ЛС у вигляді порошку пасивно надходить у бронхи з потоком повітря), відсутність охолодження дихальних шляхів (пов'язаного з використанням фреону в АДІ). Однак для активації більшості ПІ потрібна висока швидкість вдиху, при низької швидкості вдиху зменшується частка препарату, що надходить у легені. Проте клінічні дослідження у хворих БА показали, що ефективність ЛС, що вводяться за допомогою ПІ, приблизно дорівнює їхньої ефективності при використанні АДІ.
Ряд ПІ являють собою пристрою багаторазового використання (спінхалер, ротохалер, аеролайзер). Хворі можуть окремо здобувати капсули препарату, що знижує вартість інгаляцій, але інгалятор вимагає відходу й перезарядження. Одноразові пристрої простіше у використанні, але обходяться дорожче (дискус, турбухалер).
Ефективність використання ПІ залежить від умов зберігання ЛС (низька вологість повітря), тому ПІ часто постачені поглиначами додаткової вологи. З додаткових конструктивних особливостей ПІ варто згадати мікротурбіну (турбухалер), завдяки якій препарат поширюється по спіральній траєкторії, що збільшує частку ЛС, що надходить у легені (20-30% при використанні турбухалера в порівнянні з 11 - 15% при застосуванні інших ПІ).
Інтерес до ПІ значно збільшився в останні роки, оскільки класичні АДІ містять фреон, що руйнує озоновий шар атмосфери Використання АДІ повинне бути обмежене відповідно до міжнародних угод по захисту навколишнього середовища.
Небулайзер
Небулайзер являє собою стаціонарний пристрій для інгаляцій Застосування небулайзера вимагає джерела електроенергії (ряд моделей небулайзерів здатні працювати від автомобільного акумулятора).
Аерозоль у небулайзері утвориться безупинно, тому під час видиху хворого частина ЛС губиться. Щоб уникнути цього, ряд моделей небулайзерів постачили переривником - хворий сам регулює утворення аерозолю. Деякі моделі небулайзерів здатні зігрівати аерозоль.
Існують небулайзери, що виконують інгаляції ЛС за невеликі (10-12 хв) проміжки часу, і інгалятори для тривалих (1 рік і більше інгаляцій).
Основні переваги небулайзерів:
• незалежність якості інгаляцій від дихального маневру хворого й швидкості повітряного потоку;
• можливість застосування в дітей, літніх, осіб з неврологічними порушеннями;
• проведення інгаляцій не вимагає контролю з боку хворого й медичного персоналу;
• можливість введення дуже більших доз ЛС;
• можливість застосування різних ЛС через один інгаляційний пристрій.
Разом з тим небулайзери мають потребу у відході й періодичній дезінфекції. Області застосування небулайзерів:
-
інгаляційна терапія в дітей, літніх;
-
гострий напад БА;
-
важкі випадки ХОБЛ, при яких швидкість повітряного потоку різко обмежена;
-
постійна інгаляційна терапія (бронхоектатична хвороба, хронічний обструктивний бронхіт).
-
постійна інгаляційна терапія (бронхоектатична хвороба, хронічний обструктивний бронхіт).
Вибір засобу доставки
Вибір засобу доставки ЛС залежить від здатності хворого адекватно застосовувати інгалятор. Більшість хворих із хронічними захворюваннями легенів можуть успішно застосовувати найбільш простий і порівняно дешевий вид інгалятора - АДІ. Дітям і людям похилого віку можна рекомендувати АДІ зі спейсером або АДІ «легке дихання». Нарешті, в останні роки широке поширення одержують ПІ й небулайзеры. Небулайзеры особливо показані для інгаляційної терапії в дітей дошкільного віку, старих і пацієнтів з вираженим обмеженням повітряного потоку.
Види аерозольних систем
Двофазні аерозольні системи
В аерозольному впакуванні пропілент може перебувати в газоподібному й рідкому стані. У випадку, якщо концентрат утворить із рідким пропілентом розчин, аерозольну систему називають двофазною. Газове середовище в балоні складаються з парів пропіленту й стисненого газу й летучих компонентів аерозольного концентрату.
Тиск газової фази пропіленту поширюється рівною мірою на всі внутрішні стінки впакування. Видача вмісту відбувається в тому випадку, якщо атмосферний тиск буде нижче внутрішнього тиску в балоні. При видачі зріджений пропілент швидко випаровується й викликає розпилення продукту у вигляді дрібних крапельок, туману або піни.
Для більшості систем застосовуються розчинники: спирт етиловий, жирні й рослинного масла, етил ацетат, ацетон. Якщо в якості пропіленту в аерозольній системі використовують стиснений газ, як розчинники можуть застосовуватися вода, гліцерин, гліколі, поліетиленоксиди й ін.
Тому залежно від розчинників концентрати-розчини підрозділяються на: водні, спиртові, водно-спиртові й неводні. Прикладом аерозолів-розчинів можуть служити препарати «Інгаліпт», «Каметон», «Камфомен», «Ефатин» і ін.
















