85920 (612607)
Текст из файла
Нарисна геометрія
Вступ
Засновником «Нарисної геометрії» є видатний французький геометр кінця VXIII – початку XIX століття Гаспар Монж. У своєму класичному творі «Geometry descriptive» (Нарисна геометрія), який був опублікований у 1798 р., Г. Монж розробив загальну геометричну теорію, яка надає можливість на плоскому аркуші, який містить ортогональні проекції тривимірного тіла, вирішувати різні стереометричні задачі. Винайдений ним метод, метод ортогонального проеціювання на дві взаємно перпендикулярні площини проекцій, до цього часу залишається єдиним способом створення креслення.
Предметом «Нарисна геометрія» є викладення та обґрунтування методів побудови зображень просторових фігур на площини проекцій та розв’язання задач геометричного характеру за побудованими зображеннями. Нарисна геометрія є кращим засобом розвитку в людини просторового уявлення, без якого неможлива інженерна діяльність. Нарисна геометрія є теоретичною базою для складання креслення. Креслення – це своєрідна мова, за допомогою якої можна отримати зображення геометричних фігур на площини проекцій, застосовуючи лише точки, прямі та обмежений набір геометричних індексів, букв та цифр. Мова ця інтернаціональна, оскільки зрозуміла будь – якому інженеру, незалежно від того, на якій мові він розмовляє та в якій точці Земної кулі він живе.
1. Проекції точки
Будь-яку геометричну фігуру розглядають як множину точок, які їй належать. Тому проекції геометричної фігури на площини проекцій отримують шляхом проеціювання належних їй точок на площини проекцій.
Усі побудови, які виконуються у нарисній геометрії, базуються на методі проеціювання. Залежно від апарату проеціювання проекції поділяють на центральні та паралельні (рис. 1.1).
Центральною проекцією точки називають точку перетину променя, проведеного через задану точку простору (А, В), та центр проекцій S з площиною проекцій (П1). (рис. 1.1 а).
Центральне проеціювання найчастіше застосовують у архітектурі, в машинобудуванні застосовується паралельне проеціювання.
а) б)
Рисунок 1.1 – Методи проеціювання: а) центральне; б) паралельне
Залежно від напрямку проеціювання паралельне проеціювання поділяють на косокутне (напрямок проеціювання не перпендикулярний площині проекцій) та прямокутне (напрямок проеціювання перпендикулярний площині проекцій). Прямокутне проеціювання найчастіше називають ортогональним. Ортогональною проекцією точки називають точку перетину променя, проведеного через точку простору перпендикулярно площині проекцій, з площиною проекцій.
Як для центрального, так і для паралельного проеціювання справедливе твердження, що будь-якій точці простору відповідає одна єдина центральна (або паралельна) її проекція. Але при такому апараті проеціювання по центральній (або паралельній) проекції точки однозначно неможливо встановити її положення у просторі. Необхідно мати якусь допоміжну умову. Такою допоміжною умовою є проеціювання на дві площини проекцій.
1.1 Проекції точки на дві взаємно перпендикулярні площини проекцій
Щоб отримати ортогональні проекції точки на дві взаємно перпендикулярні площини проекцій, необхідно з точки простору (точка А) послідовно провести перпендикуляри до перетину їх з горизонтальною та фронтальною площинами проекцій (рис. 1.2).На рисунку 1.2 використані такі позначення: П1 – горизонтальна площина проекцій; П2 – фронтальна площина проекцій; О – початок координат; Х, У, Z – осі координат; А – точка у просторі; А1 та А2 – відповідно горизонтальна та фронтальна проекції точки.
Рисунок 1.2 – Проекції точки на дві площини проекцій
Для побудови комплексного креслення або епюра Монжа (рис. 1.3) необхідно площину П2 залишити без змін, а площину П1 розвернути на 900 вниз до суміщення з площиною П2. Послідовно виміряти та відкласти на відповідних осях абсцису, ординату та аплікату точки (рис. 1.3).
Рисунок 1.3 – Побудова епюра Монжа
1.2 Проекції точки на три взаємно перпендикулярні площини проекцій
Щоб отримати ортогональні проекції точки на три взаємно перпендикулярні площини проекцій, необхідно через точку простору послідовно провести перпендикуляри на горизонтальну, фронтальну та профільну площини проекцій (рис. 1.4). У перетині проведених перпендикулярів з кожною з площин проекцій одержують ортогональні проекції точки А: горизонтальну (А1), фронтальну (А2) та профільну (А3) проекції точок.
Рисунок 1.4 – Проекції точки на три площини проекцій
На рисунку 1.4 використані такі позначення: П1, П2, П3 – відповідно горизонтальна, фронтальна та профільна площини проекцій; О – початок координат; Х, У, Z – осі координат; А – точка у просторі; А1, А2, А3 – проекції точки А відповідно на П1, П2, П3.
Для побудови комплексного креслення (епюр Монжа) необхідно площину П2 залишити без змін, площину П1 розвернути на 900 вниз, а площину П3 розвернути на 900 на право до суміщення з площиною П2 (рис. 1.5). Послідовно виміряти та відкласти на відповідних осях абсцису, ординату та аплікату точки А.
Рисунок 1.5 – Епюр Монжа
1.3 Основні властивості ортогонального проеціювання
-
Положення точки у просторі визначається трьома її координатами (X, Y, Z).
-
Горизонтальна проекція точки визначається її абсцисою (Х) та ординатою (У), фронтальна проекція точки – її абсцисою (Х) та аплікатою (Z), профільна проекція точки – її ординатою (У) та аплікатою (Z).
Наслідки:
-
Віддалення точки від площин проекцій визначається відповідними координатами:
-
координатою Х – від площини П3;
-
координатою У – від площини П2;
-
координатою Z – від площини П1.
-
Однойменні проекції точок знаходяться на одній лінії проеційного зв’язку, перпендикулярній до відповідної осі.
-
Положення точки у просторі визначається двома її проекціями, тому за двома проекціями точки завжди можна побудувати її третю проекцію.
Приклад 1 За двома проекціями точки А визначити її третю проекцію.
а) б) в)
Рисунок 1.6 – Побудова третьої проекції точки
За умовами задачі дані дві проекції точки: фронтальна та профільна (рис. 1.6а). Для побудови горизонтальної проекції точки А необхідно з фронтальної проекції точки провести лінію проеційного зв’язку, перпендикулярну до осі Х (рис. 1.6б), на якій відкласти ординату точки (рис. 1.6в), яка виміряється на профільній площині проекцій (відстань позначено двома штрихами).
Аналогічно можна побудувати фронтальну проекцію точки за її горизонтальною та профільною проекціями або профільну проекцію точки за горизонтальною та фронтальною проекціями.
2. Проекції прямої
Положення прямої у просторі визначається положенням двох точок, які їй належать. Тому для побудови комплексного креслення прямої достатньо мати проекції двох точок, які їй належать (рис. 1.7).
Рисунок 1.7 – Проекції прямої лінії
2.1 Положення прямої відносно площин проекцій
Залежно від положення прямої відносно площин проекцій прямі поділяють на прямі загального положення та особливого положення.
Прямими загального положення називають прям, не паралельні жодній з площин проекцій (рис. 1.7).
Прямі особливого положення поділяють на прямі рівня та прямі проеціювальні.
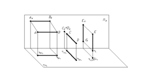
Прямі рівня – це прямі, які паралельні одній з площин проекцій. Залежно від того, якій площині проекцій пряма паралельна, їх поділяють на прямі горизонтального, фронтального та профільного рівня. На рисунку 1.8 наведені приклади прямих рівня: АВ – фронтальна пряма рівня, CD – горизонтальна пряма рівня, EF – профільна пряма рівня.
Рисунок 1.8 – Прямі рівня
Прямі проеціювальні (рис. 1.9) – це прямі, які паралельні одночасно двом площинам проекцій, тобто перпендикулярні до третьої, на яку вони проектуються у вигляді точки. Залежно від того, до якої площини проекцій прямі перпендикулярні, їх називають горизонтально-проеціювальними (відрізок EF), фронтально-проеціювальними (відрізок CD) та профільно-проеціювальними (відрізок AB).
Рисунок 1.9 – Прямі проеціювальні
Комплексне креслення (епюр Монжа) проеціювальних прямих наведене на рисунку 1.10.
Рисунок 1.10 – Комплексне креслення проеціювальних прямих
2.2 Визначення натуральної величини відрізка способом прямокутного трикутника
Аналізуючи положення відрізків прямої відносно площин проекцій, можна зробити висновок, що лише у тому випадку, коли відрізок прямої займає особливе положення, на комплексному кресленні маємо натуральну величину відрізка. Для прямих загального положення на площини проекцій відрізок прямої проектується із спотворенням. При розв’язанні багатьох задач нарисної геометрії досить часто виникає необхідність мати натуральні величини відрізків прямих ліній. Натуральну величину відрізка, який займає загальне положення, можна визначити способом прямокутного трикутника (рис. 1.11). Суть способу полягає в тому, що натуральну величину відрізка (НВ) визначають як гіпотенузу прямокутного трикутника, у якого один катет – це проекція відрізка на площину проекцій, а другий – різниця відстаней кінців відрізка від цієї площини проекцій. Цей спосіб проілюстрований на рисунку 1.11, де: АВ – відрізок у просторі; А1В1 – горизонтальна проекція відрізка;
Z – різниця відстаней кінців відрізка АВ від горизонтальної площини проекцій; – кут нахилу відрізка АВ до горизонтальної площини проекцій.
Рисунок 1.11 – Визначення натуральної величини відрізка
На рисунку 1.12 (а та б) наведений приклад визначення натуральної величини відрізків та кутів нахилу їх до відповідних площин проекцій.
а) б)
Рисунок 1.12 – Визначення натуральної величини відрізка та кутів нахилу його до площин проекцій
3. Проекції площини
Існують шість способів завдання площини у просторі: трьома точками, які не належать одній прямій, прямою та точкою, яка не належить цій прямій, двома паралельними прямими, двома прямими, які перетинаються, геометричною фігурою (відтинання площини), слідами площини.
3.1 Способи завдання площини на комплексному кресленні
На комплексному кресленні площина може бути задана:
-
проекціями трьох точок, які не належать одній прямій (рис. 1.13);
-
проекціями прямої та точки, яка не належить цій прямій (рис. 1.14);
Рисунок 1.13 Рисунок 1.14
-
проекціями двох паралельних прямих (рис. 1.15);
-
проекціями двох прямих, які перетинаються (рис. 1.16);
Рисунок 1.15 Рисунок 1.16
проекціями відтинання площини (рис. 1.17);
-
слідами площини (рис. 1.18).
Рисунок 1.17 Рисунок 1.18
3.2 Положення площини відносно площини проекцій
Залежно від положення заданих площин відносно площин проекцій їх поділяють на площини загального положення та площини особливого положення.
Площинами загального положення називають площини, які не перпендикулярні до жодної з площин проекцій. Приклади площин загального положення наведені на рисунках 1.13 – 1.18.
Характеристики
Тип файла документ
Документы такого типа открываются такими программами, как Microsoft Office Word на компьютерах Windows, Apple Pages на компьютерах Mac, Open Office - бесплатная альтернатива на различных платформах, в том числе Linux. Наиболее простым и современным решением будут Google документы, так как открываются онлайн без скачивания прямо в браузере на любой платформе. Существуют российские качественные аналоги, например от Яндекса.
Будьте внимательны на мобильных устройствах, так как там используются упрощённый функционал даже в официальном приложении от Microsoft, поэтому для просмотра скачивайте PDF-версию. А если нужно редактировать файл, то используйте оригинальный файл.
Файлы такого типа обычно разбиты на страницы, а текст может быть форматированным (жирный, курсив, выбор шрифта, таблицы и т.п.), а также в него можно добавлять изображения. Формат идеально подходит для рефератов, докладов и РПЗ курсовых проектов, которые необходимо распечатать. Кстати перед печатью также сохраняйте файл в PDF, так как принтер может начудить со шрифтами.















