66003 (611537), страница 3
Текст из файла (страница 3)
Время готовности – 16.00
| Наименование посуды и приборов | Количество, шт. |
Тарелки мелкие столовые Тарелки закусочные Тарелки пирожковые Тарелки десертные И т.д.
Фужеры Бокалы для шампанского И т.д.
Икорницы Блюда овальные шестипорционные Баранчики овальные шестипорционные Баранчики круглые шестипорционные Лопатки для икры Ножи, вилки столовые Ножи, вилки рыбные Ножи, вилки закусочные И т.д. | 82 62 103 24 30 30 4 4 4 4 4 30 30 58 |
«______»______________________20___г.
Метрдотель_______________________
(подпись)
Заявка на производство к банкету «____»__________________20__г.
Время готовности: холодных закусок – к 18.30
горячих закусок – к 19.20
вторых горячих блюд – к 19.35
| Наименование закусок и блюд | Кол-во порций | Кол-во посуды, ед. | Наименование посуды | |
| заказано | в посуде | |||
| Масло сливочное Икра зернистая осетровых рыб Расстегаи Помидоры Огурцы свежие Балык Ассорти мясное Соус хрен Шампиньоны в сметане Рыба в рассоле Картофель к рыбе Шницель из кур Орешки | 24 24 24 24 24 24 24 - 24 24 24 24 24 | 6 6 12 1 6 6 6 1 6 6 6 6 | 4 4 4 4 4 4 24 4 4 4 4 | Тарелки пирожковые Икорницы Ваза фарфоровая на низкой ножке Блюда овальные фарфоровые Блюда овальные фарфоровые Соусницы Кокотницы Баранчики овальные из металла Баранчики из металла с крышкой Блюда овальные из металла Закусочные тарелки |
«____»__________________________20__ г.
Метрдотель____________________________
(подпись)
Заявка в кофейный и чайный буфеты
«____»___________________20__ г.
Время готовности – 19.40
| Наименование продукции | Кол-во порций | Наименование посуды | Кол-во посуды |
| Мороженое Чай Кофе Пирожные | 24 24 24 24 | Кремакнки из стекла Чайники заварные (0,6 л) Чайники доливные (1,6 л) Коейники фарфоровые (1,4 л) Вазы фарфоровые на низкой ножке | 24 2 2 2 4 |
«_____»_____________________20___г.
Метрдотель____________________________
(подпись)
Заявка в буфет к банкету «___»________________20__ г.
Время готовности – 17.00
| Наименование товара | Единица измерения | Вместимость, л | Количество, шт. |
| Водка Вино: крепленое белое сухое Шампанское полусладкое Соки: томатный апельсиновый яблочный Боржоми Вода фруктовая Яблоки Банан Апельсины Сигареты «Ява» Спички | Бутылка То же -//- -//- -//- -//- -//- -//- -//- кг кг кг Пачки Коробки | 0,5 0,75 0,75 0,8 0,5 0,5 0,5 0,5 0,33 | 3 3 5 3 2 2 2 12 10 2 1,0 1,0 2 2 |
«___»_____________________20__ г.
Метрдотель_____________________
(подпись)
Перед составлением заявки в бельевую рассчитывают потребность в скатертях, салфетках, ручниках, полотенцах.
Длину стола определяют из расчета 0,7 пог. м на одного участника банкета. В приведенном примере общая длина стола составляет 0,7 х 24 = 16,8 пог. м. При двусторонней посадке гостей потребуется стол длиной 16,8 : 2 = 8,4 пог. м. Ширина стола должна быть не менее 1,2 м. Размер стандартного ресторанного стола 125x80 см. За ширину составленного стола принимают сторону, равную 1,25 м. В этом случае количество столов составит 8,4 : 0,8, т.е. 11 столов.
При расчете необходимого размера скатерти следует учесть ее спуск с торцов по 0,4 м с каждой стороны: 8,4 + 0,4x2 (спуск с торцов) = 9,2 м. Ширина скатерти составит 1,25 + 0,25x2.
Промышленность выпускает скатерти 5x1,73 м. Для покрытия стола размером 8,4x1,2 м потребуется заказать две такие скатерти.
Для лучшей организации обслуживания стол условно делят на четыре сектора.
Для официантов, работающих в каждом секторе, устанавливают по одному подсобному столику. Вдоль стен размещают восемь круглых столов для обеспечения подачи чая и кофе.
Для подсобных столиков потребуется четыре скатерти размером 1,5x1,5 м и две скатерти для резерва; для чайных столов — скатерти цветные того же размера 8 шт. (по количеству чайных столов) и две скатерти для резерва. Салфеток полотняных белых размером 46x46 см необходимо 24 шт. и шесть для резерва, цветных 35x35 си — 24 шт. и шесть для резерва. Ручников берется по два на официанта (6x2 =12 шт.), полотенец для протирки посуды по одному на каждого официанта, фартуков или курток для работы официантов в подготовительный период по одному.
Заявка в буфет к банкету «____»________________20__ г.
Время готовности
| Наименование белья | Количество, единиц |
| Скатерти банкетные 5х1,73 м Скатерти белые 1,5х1,5 м Скатерти цветные 1,5х1,5 м Салфетки полотняные белые 46х46 см Салфетки цветные 35х35 см Ручники 35х85 см Полотенца Халаты или куртки белые Фартуки | 2 6 10 30 30 12 6 6 6 |
«____»__________________________20__ г.
Метрдотель_______________________
(подпись)
-
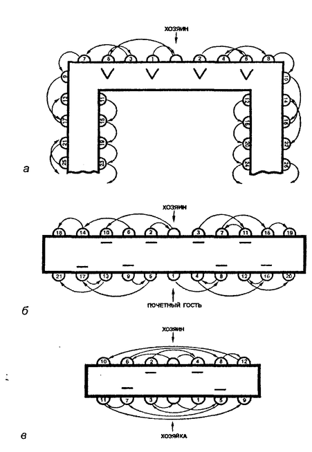
Схемы рассадки гостей за столом
Подойдя к подъезду ресторана, посетители должны сразу почувствовать, что здесь все готово к встрече гостей. У входных дверей их любезно приветствуют швейцары в униформе – ливреях, фуражках и белых перчатках.
В вестибюле навстречу посетителям выходят гардеробщики и, принимая от гостей верхнее платье, дают им фирменные номерки. Затем посетители перед зеркалом могут привести в порядок свой туалет. К этому времени выходит метрдотель, приветствует гостей и приглашает пройти в зал.
В зале метрдотель должен проводить гостей до стола и усадить их. В отсутствие метрдотеля эти функции осуществляет бригадир официантов. Предлагая посетителям занять места за столом, следует иметь в виду, что женщина должна сесть с правой стороны от мужчины, а при обслуживании ей нужно подавать блюда в первую очередь.
На приеме типа завтрак, обед или ужин гости рассаживаются за столом в соответствии с их рангом и согласно протоколу.
Места за столом подразделяют на почетные и менее почетные. Самое почетное место - справа от хозяйки (на приеме с участием женщин) и справа от хозяина (на мужском приеме), затем следуют почетные места слева от хозяйки, слева от хозяина. По мере удаления от хозяйки и хозяина места становятся менее почетными.
При рассадке за столом придерживаются следующих правил: справа от хозяйки рассаживают мужчин, хозяина окружают дамы; далее места чередуются (рядом с женщинами рассаживают мужчин, и наоборот); мужа никогда не сажают рядом с женой; два иностранных представителя из одной страны также не сидят вместе; крайние места за столом занимают
сотрудники фирмы, но не дамы. Гости занимают места после
того, как сядет хозяйка. По окончании приема хозяйка встает
из-за стола первой.
Варианты очередности обслуживания участников
банкета. На схемах обозначены: цифрами — места участников банкета; горизонтальными черточками — места женщин; уголком — места гостей хозяина; а — за столом присутствуют только мужчины, их обслуживают несколько официантов; б—за столом присутствуют мужчины и женщины, их обслуживают четыре официанта; в — за столом присутствуют мужчины и женщины, их обслуживают два официанта
-
Правила подачи вино-водочных изделий и напитков
Для подачи вин, ликеров, водочных изделий используется определенная посуда.
Водка подается в рюмках емкостью не более 50см3, крепкое вино — не более 75 см3,-столовое вино в бокалах емкостью 100—125 см3.
При индивидуальном заказе посетителя водка обычно подается в рюмках, стопках или небольших графинах; при обслуживании группы посетителей — в графинах.
2















