49861 (609337)
Текст из файла
Содержание
1.Задание на курсовую работу
2.Постановка задачи
2.1 Дано
2.2 Требуется
2.3 Ограничения
3.Внешние спецификации программы
3.1 Входные данные
3.2 Выходные данные
3.3 Сообщения
4.Метод решения
5.Структура программы
6.Описание алгоритма программы
7.Текст программы
8.Тестовые примеры
Выводы
-
Задание на курсовую работу
Написать программу, которая:
-
вводит из файла структуры вида:
Схема 1 – Задание
-
размещает их в двунаправленный линейный список,
-
создает новый список магазинов, имеющих продукты заданного наименования по цене, превышающей среднюю по списку больше, чем на 10%.
-
и результат записывает в файл.
Считывание до конца файла, а не по записям.
-
Постановка задачи
-
Дано
-
путь к исходному файлу;
-
исходный файл определённой структуры;
-
путь к результирующему файлу.
-
Требуется
-
прочитанный из файла и занесённый в память список исходных данных;
-
результирующий файл (возможно создание во время выполнения программы), в который заносятся исходные данные и новый список.
-
Ограничения
-
исходный файл должен быть определённой структуры описанной выше;
-
Значения всех числовых данных не должны выходить из диапазона целого типа данных (-32768…32767).
3. Внешние спецификации программы
3.1 Входные данные
Входной текстовый файл вида:
-
номер
-
город
-
улица
-
номер дома
-
наименование товара
-
цена
-
дата реализации
-
Выходные данные
Выходной текстовый файл вида:
-
номер
-
город
-
улица
-
номер дома
-
наименование товара
-
цена
-
дата реализации
-
Сообщения
| Menu | Выдаётся при запуске программы и после выполнения какого либо пункта из меню. |
| Enter path to file to open (ex. C:\\file.txt): | Запрос на ввод имени файла с исходными данными. |
| File readed succesfully! Press any key... | Выдаётся после успешного чтения файла. |
| Enter path to file to write (ex. C:\\file.txt): | Запрос на ввод имя выходного файла для записи выходной информации. |
| You must create new list! | Выдается если не был создан новый список. |
| Invalid filename or file is missing! | Выдаётся, если невозможно открыть входной файл. |
| You must open a file! | Выдаётся, при попытке распечатать пустой список, сохранить пустой список, обработать пустой список. |
| File is empty! | Выдаётся, если входной файл имеет нулевой размер. |
4. Метод решения
Реализовано меню, в зависимости от выбранного варианта ход выполнения программы может меняться;
-
Меню имеет вид:
1. Open file
2. Print list of markets
3. Create a new list
4. Print new list of markets
5. Save new list
6. Exit
-
При выборе пункта №1, у пользователя запрашивается путь к исходному файлу, затем происходит чтение записей из исходного файла и создание в памяти из этих записей двунаправленного линейного списка;
-
При выборе пункта №2, на экран выводятся записи, прочитанные из файла;
-
При выборе пункта №3, программа обработает список находящийся в памяти и запишет результаты в новый список
-
При выборе №4 программа выведет на экран записи, полученные после обработки списка.
-
При выборе №5 программа запросит путь к файлу в котором сохранит новые записи.
-
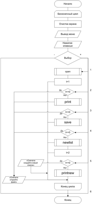
Структура программы
main - главная программа, содержащая меню, из которого осуществляется вызов всех остальных подпрограмм.
выбрали пункт меню №1 – запускается подпрограмма open -подпрограмма чтения записей из файла;
выбрали пункт меню №2 - запускается подпрограмма print – подпрограмма вывода записей на экран выбрали пункт меню №3 - запускается подпрограмма newlist – подпрограмма выполняет обработку списка выбрали пункт меню №4 - запускается подпрограмма printnew – подпрограмма вывода новых записей на экран.
выбрали пункт меню №5 - запускается подпрограмма save – подпрограмма сохранения результата в файл.
выбрали пункт меню №6 – выход из программы.
-
Описание алгоритма программы
Схема 1 - Main
Схема 2 - Функция open
Схема 3 - Функция print
Схема 4 - Функция printnew
Схема 5 - Функция newlist
Схема 6 - Функция save
-
Текст программы
#include
#include
#include
#include
#include
#include
#define mg struct mg
#define ad struct ad
#define pr struct pr
pr {
char name[20];
int price;
char time[20];
};
ad {
char city[20];
char str[20];
int dom;
};
mg {
int num;
ad adr;
pr pro[5];
mg *prev, *next;
};
///////////////////////////OPEN LIST FROM FILE///////////////////////////////
mg *open (mg *last) {
mg *p, *start;
FILE *f;
int n;
char filename[50];
start=NULL;
last=NULL;
clrscr();
printf("Enter path to file to open (ex. C:\\file.txt):\n");
scanf("%s", filename);
if((f=fopen(filename, "r"))==NULL) {
printf("(!) Invalid filename or file is missing! Press any key to return to menu.");
getch();
} else
if(filelength(fileno(f))==0) {
clrscr();
printf("File is empty! Press any key...");
getch();
goto end;
}
else {
while (!feof(f)) {
p=(mg*)malloc(sizeof(mg));
scanf(f, "%d", &(p->num));
fscanf(f, "%s", p->adr.city);
fscanf(f, "%s", p->adr.str);
fscanf(f, "%d", &(p->adr.dom));
for(n=0;n<5;n++) {
fscanf(f, "%s", p->pro[n].name);
fscanf(f, "%d", &(p->pro[n].price));
fscanf(f, "%s", p->pro[n].time);
}
p->prev=last;
p->next=NULL;
if(last!=NULL)
last->next=p;
last=p;
if(start==NULL) start=last;
}
fclose(f);
printf("File readed succesfully! Press any key...");
getch();
}
end:
return start;
}
//////////////////////PRINT OLD LIST ON SCREEN/////////////////////////////
void *print (mg *start) {
int n;
mg *p=start;
while(p->next!=NULL) {
clrscr();
printf("\nMAGAZINE #%d", p->num);
printf("\n Address");
printf("\n City: %s", p->adr.city);
printf("\n Street: %s", p->adr.str);
printf("\n House: %d", p->adr.dom);
printf("\nProducts");
for(n=0;n<5;n++) {
printf("\n %d)", n+1);
printf("\n Name: %s", p->pro[n].name);
printf("\n Price: %d", p->pro[n].price);
printf("\n Time: %s", p->pro[n].time);
printf("\n");
}
printf("\n\nAny key to next record...");
getch();
p=p->next;
}
return start;
}
///////////////////////////PRINT NEW LIST ON SCREEN//////////////////////////
void *printnew (mg *start2) {
int n;
mg *p2=start2;
clrscr();
while(p2!=NULL) {
clrscr();
printf("\nMAGAZINE #%d", p2->num);
printf("\n Address");
printf("\n City: %s", p2->adr.city);
printf("\n Street: %s", p2->adr.str);
printf("\n House: %d", p2->adr.dom);
printf("\nProducts");
for(n=0;n<5;n++) {
printf("\n %d)", n+1);
rintf("\n Name: %s", p2->pro[n].name);
printf("\n Price: %d", p2->pro[n].price);
printf("\n Time: %s", p2->pro[n].time);
printf("\n");
}
printf("\n\nAny key to continue...");
getch();
p2=p2->next;
}
return start2;
}
//////////////////////////SAVE NEW LIST//////////////////////////////////
void save (mg *start, mg *start2) {
mg *p, *p2;
FILE *f;
int n;
char filename[50];
clrscr();
printf("Enter path to file to write (ex. C:\\file.txt):\n");
scanf("%s",filename);
if((f=fopen(filename, "w"))==NULL) {
clrscr();
printf("Invalid filename or file is corrupt! Press any key...");
getch();
goto end;
}
p=start;
while(p->next!=NULL) {
clrscr();
fprintf(f, "%d\n", p->num);
fprintf(f, "%s\n", p->adr.city);
fprintf(f, "%s\n", p->adr.str);
fprintf(f, "%d\n", p->adr.dom);
for(n=0;n<5;n++) {
fprintf(f, "%s\n", p->pro[n].name);
printf(f, "%d\n", p->pro[n].price);
fprintf(f, "%s\n", p->pro[n].time);
}
p=p->next;
}
fprintf(f, "---------------\n");
p2=start2;
while(p2!=NULL) {
clrscr();
fprintf(f, "%d\n", p2->num);
fprintf(f, "%s\n", p2->adr.city);
fprintf(f, "%s\n", p2->adr.str);
fprintf(f, "%d\n", p2->adr.dom);
for(n=0;n<5;n++) {
fprintf(f, "%s\n", p2->pro[n].name);
fprintf(f, "%d\n", p2->pro[n].price);
fprintf(f, "%s\n", p2->pro[n].time);
}
p2=p2->next;
}
fclose(f);
printf("File created succesfully! Press any key...");
getch();
end:
}
////////////////////////////CREATING NEW LIST//////////////////////////////
mg *newlist (mg *start) {
mg *p, *p2, *start2, *last2;
FILE *f;
char prod[20];
int np, k=0, sump=0, n, count=0;
p2=last2=start2=NULL;
clrscr();
printf("Enter product's name: ");
scanf("%s", prod);
p=start;
while(p->next!=NULL) {
count++;
for(n=0;n<5;n++) {
if (strcmp(p->pro[n].name, prod)==0) {
np=n;
sump=p->pro[n].price+sump;
}
else { k++; }
}
if (k==5*count) {
printf("There is no such product. Press any key...");
getch();
goto end;
}
p=p->next;
}
p=start;
while(p->next!=NULL) {
if(p->pro[np].price > (sump/count))
if ((p->pro[np].price - (sump/count)) > ((sump/count)/10)) {
p2=(mg*)malloc(sizeof(mg));
p2->num=p->num;
strcpy(p2->adr.city,p->adr.city);
strcpy(p2->adr.str, p->adr.str);
p2->adr.dom=p->adr.dom;
for(n=0;n<5;n++) {
strcpy(p2->pro[n].name, p->pro[n].name);
p2->pro[n].price=p->pro[n].price;
strcpy(p2->pro[n].time,p->pro[n].time);
}
p2->prev=last2;
p2->next=NULL;
if(last2!=NULL)
last2->next=p2;
last2=p2;
5>5>5>5>5>5>5>Характеристики
Тип файла документ
Документы такого типа открываются такими программами, как Microsoft Office Word на компьютерах Windows, Apple Pages на компьютерах Mac, Open Office - бесплатная альтернатива на различных платформах, в том числе Linux. Наиболее простым и современным решением будут Google документы, так как открываются онлайн без скачивания прямо в браузере на любой платформе. Существуют российские качественные аналоги, например от Яндекса.
Будьте внимательны на мобильных устройствах, так как там используются упрощённый функционал даже в официальном приложении от Microsoft, поэтому для просмотра скачивайте PDF-версию. А если нужно редактировать файл, то используйте оригинальный файл.
Файлы такого типа обычно разбиты на страницы, а текст может быть форматированным (жирный, курсив, выбор шрифта, таблицы и т.п.), а также в него можно добавлять изображения. Формат идеально подходит для рефератов, докладов и РПЗ курсовых проектов, которые необходимо распечатать. Кстати перед печатью также сохраняйте файл в PDF, так как принтер может начудить со шрифтами.















