49186 (608981), страница 3
Текст из файла (страница 3)
Nexans производит кабели для всех областей промышленности, строительства и энергетики. Используя передовые технологии, компания Nexans производит полный спектр телекоммуникационных и энергетических кабелей и компонентов. Продукты компании используются в различных областях нашей повседневной жизни: телекоммуникации и энергетике, строительстве и автомобилестроении, аэронавтике, нефтехимии, медицине.
Кроме того, компания Nexans, являясь одним из лидеров в производстве Структурированных Кабельных Систем (СКС), предлагает сегодня широкий спектр передовых решений по построению СКС Классов D и E для различного рода предприятий нефтяной и газовой промышленности, телекоммуникационной сферы и госструктур. Экономичность, надежность и высокая производительность являются отличительными чертами продукции компании Nexans.
-
Exalan+
Кабельная система ExaLan+ (российский производитель )ориентирована на нижний сегмент среднего ценового диапазона [9]. Ее сопровождают гарантийная поддержка и пакет технической документации, призванные защитить инвестиции не только в СКС, но и в сеть в целом. Расширенная гарантия, которую предлагает ExaLan+ на зарегистрированную в установленном порядке СКС, подразумевает гарантии: на качество компонентов системы, характеристики системы как совокупности линий или каналов связи, поддержку работы сетевого оборудования определенных стандартов и трудозатраты компании-инсталлятора. Расширенная гарантия действует 20 лет[].
-
Legrand
СКС Legrand Cabling System (LCS) с маркировкой 5е и 6 включает все компоненты линии соответствующих категорий и имеет неэкранированный (UTP) и экранированные (FTP и SFTP) варианты. Система соответствует требованиям европейского качества. Продукцию Legrand характеризует простота использования, легкость установки, качество, оптимальная цена и современный дизайн. Свою разработку Legrand позиционирует как СКС для нижнего сегмента среднего ценового диапазона. На производительность и технические характеристики СКС предоставляется расширенная и системная гарантия сроком на 20 лет [10].
Поскольку рынок СКС в России в последние годы развивается «семимильными шагами», большое количество зарубежных фирм продвигают свое оборудование на российский рынок. Кроме того, создаются совместные предприятия по производству, среди них и фирмы Exalan+, Ай Ти и т.д. При проектировании данной курсовой я буду использовать продукцию следующих фирм - Legrand и Efapel.
5 Проектирование подсистем СКС
5.1 Горизонтальная подсистема
Как уже было сказано ранее, в п.1 в сентябре 2002 г. опубликован международный стандарт ISO/IEC 11801:2002 Edition 2 “Информационные технологии. Структурированная кабельная система для помещений заказчиков”. Он содержит спецификации конструктивных элементов категорий 3-7, линий и каналов классов А, В, С, D, E и F (Таблица 4.1) [2].
Таблица 4.1 - Классы приложений в соответствии с ISO/IEC 11801
| Класс линии | Определение и приложение |
| А | Телефонные каналы и низкочастотный обменный данными. Максимальная частота сигнала |
| В | Приложения со средней скоростью обмена. |
| С | Приложения с высокой скоростью обмена. |
| D | Приложения с очень высокой скоростью обмена. |
| E | Приложения с очень высокой скоростью обмена. |
| F | Приложения с очень высокой скоростью обмена. |
| Оптический | В качестве среды используют оптоволоконный кабель, частоты 10 МГц и выше |
Наиболее распространенным на данный момент является класс D, характеризующийся достаточно большими скоростями передачи информации и приемлемой ценой оборудования.
На горизонтальной подсистеме можно использовать:
-
Электрический кабель категории 5е, 6, 7.
-
Многомодовый оптоволоконный кабель.
Относительно первого варианта, для сетей СКС предприятий среднего и мелкого размера обычно применяется недорогой кабель категории 5е, позволяющий достигать скоростей передачи данных до 1000 Мбит/сек. Более высокие категории пока достаточно дорогие.
Что же касается второго варианта, то такие технологии уже на подходе и называются технологией «fiber to desk». Некоторые фирмы уже предоставляют возможность установки СКС на основе «fiber to desk», но цены на такую комплектацию слишком высокие, а затраты на прокладку такого волокна в горизонтальной подсистеме для нашей курсовой будут неприемлимы.
В соответствии с выбранным классом горизонтальную систему будем строить в соответствии со следующими рекомендациями [6]:
-
Максимальная длина горизонтального кабеля должна составлять 90 м, независимо от типа среды. Она измеряется от разъема (панели) в РП этажа до телекоммуникационного разъема на рабочем месте. Максимальная механическая длина абонентских, коммутационных (перемычек) и сетевых кабелей - не более 10 метров.
-
На каждом рабочем месте будет два телекоммуникационных разъема, обеспечивающие минимальные ресурсы рабочего места:
а) один телекоммуникационный разъем должен будет установлен на симметричном кабеле категории 3(телефонная связь);
б) второй телекоммуникационный разъем будет установлен на симметричном кабеле категории 5е (информационная сеть).
Рисунок 5.1 - Конфигурация горизонтальной подсистемы
-
На каждом рабочем месте будет две силовые розетки, подключенные к системе гарантированного энергоснабжения и одна розетка, подключенная к системе бытового энергоснабжения;
-
Как было оговорено ранее, структуры обоих зданий представляют собой офисный тип, поэтому нами будут созданы точки консолидации (к тому же это оговорено в международном стандарте). Точка консолидации считается основной и подлежит тестированию. Ограничения: точка консолидации не является пунктом администрирования и интерфейсом кабельной системы. Включение дополнительного разъема в СКС обеспечено за счет ограничения длины каналов данной модели.
Теперь определимся с кабельными трассами и каналами. Они необходимы для прокладки кабелей от РПЭ до рабочих мест. Мы уже говорили ранее, что кабельные трассы будут проложены под фальшпотолком в коридорах и некоторых комнатах, в остальных же местах мы будем использовать настенные каналы, т.е. декоративные короба. Общее требование ко всем методам прокладки – необходимость заземления всех их металлических элементов, что обеспечивается заземлением через РПЭ. Будем использовать металлических лотки и декоративные короба от фирмы EfaPel. Крепления для лотков и коробов в широком спектре также представлены фирмой EfaPel. Степень заполнения коробов и металлических лотков возьмем равным 0.6, поскольку это обеспечит достаточную гибкость всей подсистемы при необходимости установки дополнительных ТР. Полный перечень оборудования горизонтальной подсистемы приведен в приложении Б.
5.2 Подсистемы внутренних и внешних магистралей
Для подсистемы внутренних магистралей мы будем использовать оптоволоконный кабель, поскольку его применение позволяет добиться лучших характеристик передачи, обеспечивает большую долговечность всей системы, а также позволяет ослабить электромагнитную обстановку всего комплекса и облегчить прокладку кабеля между этажами. Волокно выберем в соответствии со стандартом Ethernet 1000Base-SX, п.2.4, как для системы внутренних, так и системы внешних магистралей [12].
Рисунок 5.5 - Общая система магистралей
Для размещения оборудования возьмем монтажный шкаф. Он обеспечивает компактное размещение оборудования практически любого назначения, его защиту от несанкционированного доступа, а также удобство эксплуатационного обслуживания. Использование монтажных шкафов позволяет реализовать для части сетевого оборудования подключение к кабельной системе коммутационным путем. Для проектируемой СКС возьмем 19 – дюймовый монтажный шкаф. Кроме того, в техническом помещении будут находится оконечные шнуры для подключения УАТС и для подключения рабочих мест к сетевому оборудованию ЛВС с вилками модульных разъемов. Для обеспечения работоспособности системы между зданиями проложим два многомодовых кабеля, один из которых будет резервным.
В качестве поставщика кроссового и аппаратного пассивного оборудования, а также креплений и стоек была выбрана томская фирма «Контур», что снижает затраты, как на покупку оборудования, так и на его доставку. Полный перечень применяемого в СКС оборудования представлен в приложении Б.
6 Выбор сетевого оборудования
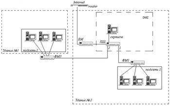
Основными мировыми производителями сетевого оборудования являются две фирмы – 3COM и Cisco. Вследствие того, что никаких дополнительных ограничений на выбор оборудования не наложен, я буду использовать оборудование фирмы 3COM. Исходя из требований ПБ, для обеспечения безопасности выбрана схема межсетевого экрана. Рассмотрим работу такой сети. Локальна сеть соединена с Internet через выделенный канал, проложенный от поставщика Интернет – услуг к зданию №2. Демилитаризованная зона включает в себя прикладной шлюз (ПШ) и сервер, предоставляющий услуги пользователям (например, SMTP). Прикладной шлюз регулирует доступ из подсетей 1, 2 (через фильтрующие маршрутизаторы ФМ1 и ФМ2), в DMZ и Internet [1, 2].
Достоинства системы:
-
Максимальная безопасность подсетей;
-
Журналирование всех соединений;
-
Средства аутентификации;
-
Быстродействие системы;
-
Дополнительное назначение ФМ1, ФМ2, ФМ3 – уменьшение широковещательных сообщений.
Недостаткисистемы:
-
Высокая стоимость;
-
Сложность настройки системы;
-
Нужно уделять внимание ФМ1, ФМ2, ВМ.
Рисунок 6.1 - Структура информационной сети
Таким образом, из сетевого оборудования необходимо: 3 маршрутизатора; прикладной шлюз; сервер, поддерживающий сервисы в DMZ. Фирма 3COM поставляет сетевое оборудование, выполняющее ряд функциональных задач, принадлежащие разным устройствам сети, поэтому четкого соответствия между описанным ранее оборудованием и применяемым на практике нет [3].
Коммутатор 3Com Security Switch 6200
Революционный коммутатор 3Com Security Switch 6200 поддерживает комплекс функций обеспечения безопасности, при этом его стоимость ниже, чем затраты на приобретение устройств, раздельно реализующих эти функции. Этот коммутатор идеально подходит для применения в крупных компаниях, например, в сетях региональных и центральных офисов, а также в центрах обработки данных. Коммутатор совместим с широким спектром надежных продуктов для обеспечения безопасности сторонних производителей. Поддерживая целый набор функций защиты, этот коммутатор обеспечивает значительную экономию по сравнению с решениями на базе нескольких устройств с распределением нагрузки между ними, причем без ущерба для качества защиты, производительности или готовности.
С появлением этого нового класса устройств обеспечения корпоративной безопасности такие средства, как брандмауэры, виртуальные частные сети, фильтры веб-информации, антиспамовые фильтры, антивирусные сканеры, системы обнаружения (IDS) и предотвращения (IPS) вторжений и т.д. могут быть беспрепятственно объединены на базе одной высокопроизводительной платформы с централизованным управлением и с распределением нагрузки. Осуществляя закупки, IT-менеджеры имеют возможность ограничиться только теми функциями, которые реально необходимы для защиты от конкретных угроз, или реализовать несколько уровней защиты для предохранения от изощренных и разнообразных атак, угрожающих современным сетям.















