48696 (608739), страница 3
Текст из файла (страница 3)
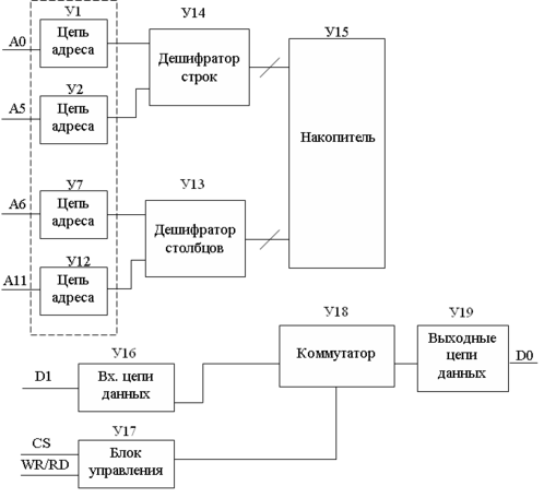
Режим записи: на адресные входы A0-A16 и на входы данных D0-D7 подаётся нужная комбинация, и данные записываются в накопитель.
Режим чтения: на адресные входы A0-A16 поступает нужный адрес, и данные считываются с выводов D0-D7.
При применении этой микросхемы запрещается подавать сигналы на входы микросхемы при отключенном напряжении питания. При включении БИС ОЗУ первым должно подаваться напряжение питания, а затем – входные сигналы. При выключении БИС ОЗУ сначала должны отключаться входные сигналы, а затем – напряжение питания. Напряжение входных сигналов не должно превышать напряжение питания микросхемы Vcc.
Таблица 4
| Режим работы | ВХОД | ВЫХОД | |||
| CE | WE | OE | An | Dn | |
| Запись | 0 | 0 | 1 | 0 | 1 |
| Считывание | 0 | 1 | 0 | 1 | 1 |
| Запрет записи | 1 | 0 | 0 | 0 | 1 |
| Отключение выходов | 0 | 0 | 0 | 0 | 0 |
| Хранение | 1 | 0 | 1 | 1 | 0 |
3. Конструкторская часть проекта
Существует четыре принципа конструирования печатных плат (ПП):
1) моносхемный
2) схемно-узловой
3) каскадно-узловой
4) функционально-узловой.
1) При моносхемном принципе конструирования полная электрическая принципиальная схема изделия располагается на одной печатной плате, все компоненты платы устанавливаются последовательно, в первую очередь размещаются цепи наиболее чувствительные к внешним воздействиям, плата имеет прямоугольную форму, на которой входы и выходы цепи разнесены по противоположенным сторонам платы.
Достоинства: простота, отсутствие блочных соединений, высокая надежность, низкий вес и низкая цена.
Недостатки: трудность обслуживания (при выходе из строя одного элемента необходимо заменить всю плату).
2) При схемно-узловом принципе конструирования на одной печатной плате располагается часть полной принципиальной схемы имеющие входные и выходные характеристики. Этот принцип аналогичен с моносхемным.
Достоинства: универсальность, простота, легкий ремонт изделий.
Недостатки: сложность соединения деталей, невысокая надежность и наличие паразитной емкости.
3) При каскадно-узловом принципе конструирования полная принципиальная схема разделяется на каскады специального назначения и каждый каскад устанавливается на отдельной ПП. Упрощение производительности ПП повышает число вспомогательных компонентов, что повышает стоимость изделия.
Достоинства: простота обслуживания, стойкость к механическим воздействиям. Недостатки: большой вес, наличие паразитной емкости.
4) При функционально-узловом принципе конструирования полная принципиальная схема делится на узлы. Узлы располагаются на отдельных ПП, что позволяет набирать из отдельных узлов принципиальные схемы любого назначения.
Достоинства: надежность, универсальность, большая плотность деталей. Недостатки: много механических соединений, что усложняет процесс монтажа и сборки изделия.
Более сложной и ответственной задачей при конструировании ЭВТ является компоновка разработанного изделия.
Компоновка – это размещение на плоскости или в пространстве различных элементов схемы и изделий. Элементами могут быть: ЭРЭ, функциональные узлы различных конструкций (микросхемы, блоки).
В результате компоновки должны быть определенны геометрические размеры и формы всех элементов конструкции. Компоновка производится по схеме электрической принципиальной. Конструктор должен создать модель изделия с учетом различных факторов и требований ТЗ. Конструктору необходимо принять решение и учесть условия производства и эксплуатации изделия, от того насколько правильно выполнена компоновка зависят технические и эксплуатационные характеристики изделия, его ремонтопригодность и надежность. При разработке и компоновке приходится учитывать сложную совокупность факторов, связанных с особенностью функционирования и эксплуатации изделия. Учитываются электрические параметры и тепловые режимы, определяются геометрические размеры и формы отдельных элементов конструкции.
Методы компоновки:
1) Натуральное объемное моделирование (использования реальных элементов).
2) Метод аппликации (все стандартные детали вырезаются из картона в реальном виде, затем конструктор располагает их на поле чертежа платы).
Компоновка должна удовлетворять следующим требованиям:
1) Между отдельными элементами, узлами, блоками должны отсутствовать паразитные электрические взаимосвязи, которые могут изменить характеристики и нарушить функционирование элементов.
2) Тепловые поля, возникающие в ЭВТ, вследствие перегрева отдельных элементов не должны нарушать технические характеристики аппарата.
3) Необходимо обеспечить легкий доступ к деталям, узлам, блокам в конструкции для контроля, ремонта и обслуживания.
4) Габариты и масса изделия должны быть небольшими.
Критерии качества компоновки конструкции.
Основными параметрами компоновки являются: объем, масса и площадь аппаратуры. Для определения качества компоновки необходимо оценивать как качество компоновки в целом, так и отдельные элементы.
В данном курсовом проекте используется моносхемный принцип конструирования, так как этот метод имеет низкую стоимость, достаточную надежность, а также отсутствуют блочные соединения. Шаг координатной сетки 2,5 мм. Методом компоновки выбрано натуральное объемное моделирование.
Конструкторский расчёт печатной платы УПМ
Конструкторский расчет производится по следующим формулам:
• Шаг координатной сетки 1,25 мм
• Определяем минимальную ширину печатного проводника по постоянному току:
bmin = Imax / Jдоп × t
• Определяем минимальную ширину проводника исходя из допустимой потери напряжения на нем:
bmin2 = Imax × I × p / Uдоп × t
• Номинальное значение диаметра монтажных отверстий для микросхем, резисторов, диодов, стабилитронов, транзисторов, конденсаторов:
d = dЭ + |6dИЭ| + Г
dЭ = 0,5 мм
d = 0,9 мм
для разъемов
dЭ = 1 мм
d = 1,4 мм
• Рассчитанные значения сводятся к предпочтительному ряду размеров монтажных отверстий: 0,7; 0,9; 1,1; 1,3; 1,5.
Номинальное значение диаметров монтажных отверстий для разъёма d = 1,5 мм.
• Минимальное значение диаметра металлизированного отверстия:
bmin ≥ HПЛ × γ
• Диаметр контактной площадки:
D = d + ΔdBO + 2bm + ΔbBO + (δ2d+ δ2p+Δb2HO)1/2
• Определение номинальной ширины проводника:
b = bMD + |bHO|
• Расчёт зазора между проводниками:
S = SMD + ΔbBO
• Расчёт минимального расстояния для прокладки двух проводников между отверстиями с контактными площадками диаметром DI 1) 2
L = (Dl + D2/2) + bN + S (n – 1) + δ1
Формулы для расчета размера элементов конструкции ПП (ОПП, ДПП, Г'ПП). Стандарт (25.347–82) устанавливает основные параметры конструкции ПП.
Наименьший номинальный диаметр контактной площадки расчитывают по формуле:
D = (d + ΔbBO) + 2b + ΔtBO + 2ΔdTP + (T2d + T2p + Δt2ПО)
ΔdBO – верхнее предельное отклонение диаметра отверстия.
ΔtBO – верхнее предельное отклонение диаметра контактной площадки
ΔdTP – значение подтравливания диэлектрика в отверстии (для ОПП и МПП) равно 0,03 мм; для ДПП и ГПК равно 0.
Δt2ПО – нижнее предельное отклонение диаметра контактной площадки.
Наименьшее номинальное расстояние 1 n-го количества проводников рассчитывают по формуле:
l = (Dl + D2/2) + th + S (n – 1) + T
D1 и D2 – диаметры контактных площадок
n – количество проводников
толщина многослойной печатной платы рассчитывают по формуле:
Hn = ΣHc + (0.6…0,9) ΣHnp
Нп – толщина МПП Не – толщина слоя МЛН
Нпр – толщина прокладки изоляционного основания (по стеклоткани)
4. Технологическая часть проекта
Процесс соединения отдельных деталей и материалов, обеспечивающий их взаимное расположение в сборочных единицах, системах, называется сборкой.
Закрепление деталей и материалов в необходимом положении, называется установкой.
Технологический процесс, включающий сборку и установку, называется монтажом. Формовка выводов элементов применяется с целью увеличения расстояния от корпуса элемента до места пайки. ИМС устанавливаются на расстоянии 1–1,5 мм от монтажной плоскости, с целью более эффективного охлаждения. Установка РЭ должна обеспечить надёжное механическое и электрическое соединение.
Пайка технологический процесс, при котором обеспечивается неразъёмное соединение металлических или металлизированных поверхностей деталей. Соединение осуществляется припоем. Прочность паяного соединения обеспечивается в результате взаимного растворения и диффузии металла соединяемых поверхностей и припоя. При пайке основной материал не плавится. От нагрева спаиваемых деталей зависит степень взаимного проникновения припоя и основного материала. С целью защиты от воздействия кислорода во время пайки используются флюсы.
В технологический процесс пайки входят следующие операции:
1. Подготовка спаиваемых поверхностей.
2. Прогрев спаиваемых поверхностей с одновременным нанесением на места пайки флюса и припоя.
3. Фиксация соединяемых деталей и выдержка в одном положении до полного застывания припоя.
4. Очистка места пайки от остатков флюса и других отходов процесса пайки.
К специальному контролю токоведущих частей монтажа относится проверка целости и соответствия цепей, состояния изоляции и величины переходных сопротивлений. Под целостью подразумевается отсутствие в ней обрыва. Целость цепей и правильность их проверяются прозвонкой. Для прозвонки используют тестеры, вольтметры, пробники.
По способам контроля различают:
1. визуальный.
2. геометрический.
3. механический.
4. электрический.
5. технологический.
Визуальным контролем выявляется наличие дефектов на поверхности детали, сборочной единицы. При визуальном контроле проверяются качества паек, состояние разъемных соединений, наличие изломов проводов и жил в многожильных кабелях, плавность хода переменных резисторов, конденсаторов.
Геометрическим контролем проверяют соответствие размеров и форм деталей, сборочных единиц образцам и чертежам.
Механический контроль выполняется для проверки прочности крепления деталей, сборочных единиц, а так же различных соединений электрического монтажа. Для проверки применяют различные динамометры.
Электрический контроль осуществляется путем проверки на соответствие картам сопротивлений или напряжений, а так же различных параметров на соответствие техническим требованиям или программе контроля.
Технологический контроль состоит в проверке правильности проведения всех операций технологического процесса. Этот контроль необходим для предотвращения нарушений технологических режимов из-за замены материалов, неисправного действия оборудования и так далее.
После завершения полного контроля изделия сравнивают полученные характеристики и параметры с заданными. Если отклонение заданных параметров от полученных больше 10%, то изделие бракуется и возвращается на доработку. Если изделие отвечает заданным параметрам, то оно запускается в эксплуатацию.
Этапами технологического процесса сборки монтажа и наладки макета для программирования и отладки программ является:
1) Входной контроль печатной платы и элементов на соответствие заданному качеству, производится на рабочем столе при помощи лупы с пятикратным увеличением.
2) Лужение выводов, устанавливаемых радиоэлементов. Производится на полуавтоматической линии лужения с применением припоя «ПОС-61» и флюса «ЛТИ-120».
3) Формовка и обрезка выводов устанавливаемых радиоэлементов производится на специализированной установке. Замеры производятся штангенциркулем.
4) Контроль подготовленных к пайке радиоэлементов на соответствие заданным параметрам производится на радиомонтажном столе с применением мультитестора и лупы с пятикратным увеличением.
















