48326 (608540), страница 2
Текст из файла (страница 2)
Данный микроконтроллер не подходит, т.к. не обладает АЦП.
Рассмотрим микроконтроллер 5.0.4.8XC51GB, имеющий следующие характеристики (согласно [9]):
ПЗУ – нет,
Напряжение питания - 5 В,
Порты ввода/вывода - 6,
Рабочая частота - 12 МГц,
16-разрядный таймер – 3
АЦП – 8-разрядов,
UART – 2;
Данный микроконтроллер не подходит, т.к. обладает 8-разрядным АЦП.
Рассмотрим микроконтроллер AT89C5AC2, имеющий следующие характеристики (согласно [11]):
ПЗУ – 32 Кб,
Напряжение питания - 3-5,5 В,
Порты ввода/вывода - 5,
Рабочая частота – 20 либо 40 МГц,
16-разрядный таймер – 3
АЦП – 10 разрядов,
UART – 1;
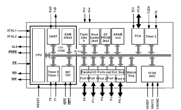
Рис. 10. Блок-схема микроконтроллера AT89C5AC2
Данный микроконтроллер подходит по всем критериям. Помимо вышеперечисленных характеристик AT89C5AC2 обладает:
ОЗУ 256 байт на кристалле,
PCA – Программируемый массив счётчиков,
Диапазон рабочих температур -40 – 85 °С.
3 Формирование принципиальной электрической схемы
На принципиальной электрической схеме должны быть отражены все электрические связи, т.е. датчика с микроконтроллером, микроконтроллера с индикатором, источника питания с датчиком и микроконтроллером. Также должна быть отражена кнопка “Reset”, сбрасывающая микроконтроллер.
Список выводов датчика давления:
Табл. 1. Распиновка датчика давления
| Название | Описание | Номер |
| Vcc | К этому выводу подключается напряжение питания (5 В) | 3 |
| +Vout | Выходной сигнал | 2 |
| -Vout | Выходной сигнал | 4 |
| Gnd | Заземление | 1 |
Вывод Vcc подсоединим к источнику питания, +Vout к 7 каналу АЦП, -Vout к контакту VAGND АЦП, Gnd к “земле”.
Список выводов микроконтроллера:
Табл. 2. Распиновка микроконтроллера
| Название | Описание | Номер |
| Vcc | Напряжение питания | 42 |
| VAREF | Опорное напряжение для АЦП | 2 |
| AN0..AN7 | Входы АЦП | 3..10 |
| XTAL1 | Подключение кварцевого резонатора | 41 |
| XTAL2 | Подключение кварцевого резонатора | 40 |
| Gnd | Заземление | 43 |
| VAGND | Аналоговая земля | 1 |
| P0 | Порт ввода/вывода | 30..37 |
| P1 | Порт ввода/вывода | 3..10 |
| P2 | Порт ввода/вывода | 29..22 |
| P3 | Порт ввода/вывода | 12..19 |
| P4 | Порт ввода/вывода | 20,21 |
| Rst | Вход сброса микроконтроллера | 44 |
К выводу опорного напряжения VAREF (это будет максимальное значение входного напряжения, т.е. “111111111b”) подключим 5 В.
К выводу напряжения питания Vcc подключим также 5 В.
К выводам XTAL1, XTAL2 подключим кварцевый резонатор, частотой 20 МГц.
Вывод Gnd подключим к “земле”.
На схеме присутствует кнопка “Reset”, сбрасывающая микроконтроллер (выполнение программы начинается сначала), это необходимо в случае зацикливания программы или какого-нибудь другого сбоя.
К порту P0 подключим 2-й разряд индикатора (сотни), сегменты с “a” по “g” (см. рис. 5). Если на соответствующем выводе P0 “единица”, то сегмент светится, если “ноль”, то нет.
К порту P1 подключим 1-й разряд индикатора (десятки), сегменты с “a” по “g” (см. рис. 5). Если на соответствующем выводе P1 “единица”, то сегмент светится, если “ноль”, то нет.
К порту P2 подключим 0-й разряд индикатора (единицы), сегменты с “a” по “g” (см. рис. 5). Если на соответствующем выводе P2 “единица”, то сегмент светится, если “ноль”, то нет. К выводу P2.7 вход десятичной точки 0-го разряда.
К порту P3 подключим -1-й разряд индикатора (десятые), сегменты с “a” по “g” (см. рис. 5). Если на соответствующем выводе P0 “единица”, то сегмент светится, если “ноль”, то нет.
Рис. 11. Схема электрическая принципиальная
Теперь рассмотрим индикатор:
Табл. 3. Распиновка индикатора
| Описание | Вывод |
| 4A | 21 |
| 4B | 20 |
| 4C | 19 |
| 4D | 18 |
| 4E | 17 |
| 4F | 22 |
| 4G | 23 |
| 3A | 25 |
| 3B | 24 |
| 3C | 15 |
| 3D | 14 |
| 3E | 13 |
| 3F | 26 |
| 3G | 27 |
| 2A | 30 |
| 2B | 29 |
| 2C | 11 |
| 2D | 10 |
| 2E | 9 |
| 2F | 31 |
| 2G | 32 |
| DP3 | 16 |
| 1A | 35 |
| 1B | 34 |
| 1C | 7 |
| 1D | 6 |
| 1E | 5 |
| 1F | 36 |
| 1G | 37 |
4. Разработка алгоритма
Алгоритм работы электронных весов должен быть следующим:
Подготовка АЦП – настройка АЦП (номер канала AN1..AN7, режим работы: стандартный или точный, прерывания), старт преобразования.
Считывание данных с АЦП. Преобразованное число хранится в регистрах ADDH и ADDL (старший и младший байты соответственно)
Преобразование кода младшего разряда в код семисегментного индикатора. Так как по техническому заданию необходимо обеспечить точность 0,5 кг., младший разряд (десятые) будет принимать значения “0” или “5”. Код, который нужно преобразовать находится в двух младших разрядах ADDL.
Вывод младшего разряда. Выводим преобразованное число на порт P3, т.е. на -1-й разряд индикатора.
Преобразование кода остальных разрядов в двоично-десятичный код. То есть преобразование двоичного восьмиразрядного числа в двоично-десятичное (число, в котором каждая десятичная цифра представлена четырьмя битами).
Преобразование кода остальных разрядов в код семисегментного индикатора. Каждая цифра двоично-десятичного должна быть представлена семиразрядным эквивалентом, для последующего вывода на индикатор.
Вывод остальных разрядов. Вывод 2-го, 1-го и 0-го разрядов на индикатор.
Переход на пункт 4.2 и повторение алгоритма.
Блок-схема алгоритма имеет следующий вид:
Рис. 12. Блок-схема алгоритма
5. Построение программы
Настройка АЦП заключается в записи данных в соответствующие регистры (согласно [11]). Регистр ADCF (конфигурация АЦП):
Табл. 4. Регистр ADCF
| 7 | 6 | 5 | 4 | 3 | 2 | 1 | 0 |
| CH7 | CH6 | CH5 | CH4 | CH3 | CH2 | CH1 | СH0 |
| Номер бита | Название бита | Описание | |||||
| 7-0 | CH 0:7 | При установленном бите P1.x используется в качестве входа АЦП, при сброшенном бите P1.x используется в качестве стандартного порта ввода/вывода. | |||||
В данном регистре установим бит 7, т.к. будем использовать P1.7 в качестве входа АЦП.
Регистр IEN0 (регистр прерываний):
Табл.5 Регистр IEN0
| 7 | 6 | 5 | 4 | 3 | 2 | 1 | 0 | ||
| EA | EC | ET2 | ES | ET1 | EX1 | ET0 | EX0 | ||
| Номер бита | Название бита | Описание | |||||||
| 7 | EA | Разрешение всех прерываний | |||||||
| 6 | EC | Разрешение прерывания от PCA | |||||||
| 5 | ET2 | Разрешение прерывания от таймера 2 | |||||||
| 4 | ES | Разрешение прерывания от UART | |||||||
| 3 | ET1 | Разрешение прерывания от таймера 1 | |||||||
| 2 | EX1 | Разрешение внешнего прерывания INT1 | |||||||
| 1 | ET0 | Разрешение прерывания от таймера 2 | |||||||
| 0 | EX0 | Разрешение внешнего прерывания INT2 | |||||||
В данном регистре установим бит 7, разрешив этим самым все прерывания.
Регистр IEN1 (регистр прерываний):
Табл.6 Регистр IEN1
| 7 | 6 | 5 | 4 | 3 | 2 | 1 | 0 |
| - | - | - | - | - | - | EADC | - |
| Номер бита | Название бита | Описание | |||||
| 7-2 | - | Зарезервировано. Эти биты нельзя устанавливать | |||||
| 1 | EADC | Разрешение прерывания от АЦП | |||||
| 0 | - | Зарезервировано. Этот бит нельзя устанавливать | |||||
В данном регистре установим бит 1, разрешив этим самым прерывание от АЦП.
Регистр ADCON (регистр управления АЦП):
Табл.6 Регистр ADCON
| 7 | 6 | 5 | 4 | 3 | 2 | 1 | 0 |
| - | PSIDLE | ADEN | ADEOC | ADSST | SCH2 | SCH1 | SCH0 |
| Номер бита | Название бита | Описание | |||||
| 6 | PSIDLE | Режим псевдо холостого хода | |||||
| 5 | ADEN | Включение АЦП | |||||
| 4 | ADEOC | Преобразование завершено | |||||
| 3 | ADSST | Старт преобразования | |||||
| 2 | SCH2 | Выбор аналогового входа | |||||
| 1 | SCH1 | ||||||
| 0 | SCH0 | ||||||
В данном регистре будем задавать 7-й аналоговый вход (SCH2=”1”, SCH1=”1”, SCH0=”1”). Далее нужно перевести контроллер в режим псевдо холостого хода PSIDLE=”1”(это необходимо для более точного преобразования, уменьшаются шумы) и начать преобразование ADSST=”1”.
После завершения преобразования сработает прерывание от АЦП и контроллер выйдет из режима холостого хода, и нужно будет переписать преобразованное число из регистров ADDH и ADDL в регистры R2 и R1.
















