47604 (608312), страница 2
Текст из файла (страница 2)
Дешифратор К155ИДЗ потребляет ток 56 мА. Время задержки распространения сигнала для цепи "вход А – выход" составляет 36 нс. Внешний вид и обозначения контактов приведены на рис. 4.5.
| 1 | Номинальное напряжение питания | 5 В |
| 2 | Выходное напряжение низкого уровня | не более 0,4 В |
| 3 | Выходное напряжение высокого уровня | не менее 2,4 В |
| 4 | Входной ток низкого уровня | не более -1,6 мА |
| 5 | Входной ток высокого уровня | не более 0,04 мА |
| 6 | Ток потребления | не более 56 мА |
| 7 | Время задержки распространения при включении по входам 20 - 23 по входам 18, 19 | не более 33 нс не более 27 нс |
| 8 | Время задержки распространения при выключении по входам 20 - 23 по входам 18, 19 | не более 36 нс не более 30 нс |
| 9 | Время дешифрации | не более 35 нс |
| 10 | Потребляемая мощность | не более 294 мВт |
Разработка принципиальной схемы
С компьютера необходимые данные, сформированные программным путем, посылаются в порт на 8- разрядную шину данных D0-D7. Через интерфейсный кабель они попадают на микросхему DD1 – шинный формирователь, выполняющий 2 функции усиление сигнала, защиту LPT порта от высокого потенциала в случае пробоя одного из транзисторов.
С выхода DD1 усиленный по уровню сигнал подается на микросхему DD4 – регистр данных, куда они записываются по управляющему сигналу (С1) из порта и хранятся до подачи нового управляющего сигнала. С выхода DD4 данные поступают прямиком на регистры DD5-DD6 данных выбранной группы устройств.
Программа формирует следующий пакет данных, отвечающих за выбор микросхемы на платах управления, в которую будут записаны переданные ранее данные. Снова происходит посылка в порт, и данные через DD1 попадают одновременно на входы регистра данных DD4, по управляющему сигналу (С0) данные записываются в регистр. Регистр DD4 разрешает запись в один из двух регистров данных (DD5-DD6), которые идут с регистра DD4.
Информация с регистров DD5 – DD6 подается на транзисторы VT1-VT16. При подаче на эти транзисторы напряжения высокого уровня они открываются.
При контроле состояния объектов данные, сформированные компьютером, поступают через порт на DD1 - шинный формирователь, а с него на дешифраторы DD7-DD8, которые подключены к горизонтальным линейкам матрицы объектов. Вертикали подключены к шинному формирователю DD3 (через который осуществляется контроль) с одной стороны, а с другой стороны на них подается +5В (логическая 1).
Разработка программного обеспечения
Для разработки программного обеспечения для обеспечения функций управления и контроля воспользуемся средой Delphi. В среде разработки создадим форму и добавим на неё 3 объекта типа TEdit и 2 объекта типа TButton:
Для управления регистрами LPT порта будем использовать библиотеку inpout32.dll. Необходимо в заголовке программы, в секции uses поместить прототипы функций Out32 и Inp32 со специальной директивой компилятора external, говорящей откуда нужно эти функции брать:
function Inp32(PortAdr: word): byte; stdcall; external 'inpout32.dll';
function Out32(PortAdr: word; Data: byte): byte; stdcall; external 'inpout32.dll';
Создадим обработчик кнопки "Считать", код которого будет реализовывать считывание данных по адресу, указанному в поле Edit1 и вывод считанных данных в поле Edit2:
procedure TForm1.Button1Click(Sender: TObject);
var
Data: Byte;
i: integer;
begin
Out32($37A, 12); //разрешаем дешифрацию DD7
for i:=0 to 3 do
begin
out32($378,i); //записываем в регистр данных
Data:= Inp32($379); //считываем с регистра управления
Edit2.Text:=IntToStr(Data);
end;
Out32($37A, 4); //запрещяем выполнение каких-либой действий
end;
Создадим обработчик кнопки "Записать", код которого будет реализовывать запись указанных данных (0-255) по указанному адресу (0-15):
procedure TForm1.Button2Click(Sender: TObject);
var
data:string;
adress:string;
begin
adress:=edit3.Text;
data:=edit4.Text;
Out32($378, StrtoInt(data)); //Записываем в регистр DD5
Out32($37A ,6); //разрешаем запись в DD5
Out32($37A, 4); //запрещяем выполнение каких-либой действий
Out32($378, StrtoInt(adress)); //Записываем в регистр DD4
Out32($37A, 5); //разрешаем запись DD4
Out32($37A, 4); //запрещяем выполнение каких-либой действий
Out32($37A, 0); //разрешаем дешифрацию DD6
Out32($37A, 4); //запрещяем выполнение каких-либой действий
end;
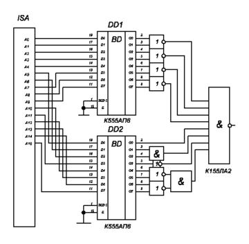
Построение селектора адреса для Системного интерфейса ISA
Расчет базового адреса порта
44*8+300Н = 352(160Н)+768(300Н)= 460Н
В двоичной системе исчисления: 0000 0100 0110 0000
A0 – 0
A1 – 0
A2 – 0
A3 – 0
A4 – 0
A5 – 1
A6 – 1
A7 – 0
A8 – 0
A9 – 0
A10 – 1
A11 – 0
А12 – 0
А13 – 0
А14 – 0
А15 – 0
Список литературы
1.Меркулов, А. В., Микропроцессорная система управления на базе интерфейсов персонального компьютера[Текст]:: Учеб. пособие. – Хабаровск: Изд-во ДВГУПС, 2004. – 70 с.: ил.
2. Программирование LPT портов на Delphi Электронный ресурс].- Электрон.дан. .- Режим доступа: http://radiolomaster.net
3. Якубовсий, С.В. Цифровые и аналоговые интегральные микросхемы[Текст]: Справочник / С.В. Якубовский, Л.И. Ниссельсон, В.И. Кулешова и др. – М.: Радио и связь, 1089. – 496 с.
4. "Интегральные микросхемы: Справочник" / Б. В. Тарабин, Л.Ф. Лунин, Ю. Н. Смирнов и др.; под ред. Б. В. Тарабрина. – М.: Радио и связь, 1984 – 528с., ил.
5. Работа с LPT под Win 2000, XP: библиотека inpout32.dll[Электронный ресурс].- Электрон.дан. .- Режим доступа: http://www.pcports.ru/articles/2.php
















