5190 (600248), страница 3
Текст из файла (страница 3)
Оценка воздействия ЭМИ радиочастот на человека согласно СанПиН 2.2.2/2.4.1340-03 осуществляется по следующим параметрам:
- По энергетической экспозиции. Определяется интенсивностью ЭМИ радиочастот и временем его воздействия на человека. Применяется для лиц, работа и обучение которых связаны с необходимостью пребывания в зонах влияния источников ЭМИ радиочастот.
- По значениям интенсивности ЭМИ радиочастот. Применяется для лиц, работа и обучение которых не связаны с необходимостью пребывания в зонах влияния источников ЭМИ радиочастот.
Предельно допустимые уровни ЭМИ радиочастот должны, как правило, определяться, исходя из предположения, что воздействие имеет место в течение всего рабочего дня (рабочей смены) [17,25].
1.1.5 Производственная вибрация
Вибрация представляет собой процесс распространения механических колебаний в твердом теле. Она характеризуются частотой и амплитудой смещения, скоростью и ускорением. Вибрации могут быть непреднамеренными (например, из-за плохой балансировки и центровки вращающихся частей машины и оборудования, работы перфоратора и др.) и специально используемые в технологических процессах (вибропогрузители свай, специальное оборудование для ускорения химических реакций и др.). Длительное воздействие вибрации ведет к развитию профессиональной вибрационной болезни. Особенно вредны вибрации с вынужденной частотой, совпадающей с частотой собственных колебаний тела человека или его отдельных органов (для тела человека 6..9 Гц, головы 6 Гц, желудка 8 Гц, других органов в пределах 25 Гц). При частоте колебаний рабочих мест, близкой к собственным частотам внутренних органов, возможны механические повреждения или даже разрывы.
Общая вибрация нормируется с учетом свойств источника ее возникновения и делится на вибрацию:
-
транспортную, которая возникает в результате движения машин по местности и дорогам;
-
транспортно-технологическую, которая возникает при работе машин, выполняющих технологическую операцию в стационарном положении, а также при перемещении по специально подготовленной части производственного помещения, промышленной площадке или на оптовых базах;
-
технологическую, которая возникает при работе стационарных машин или передается на рабочие места, не имеющие источников вибраций (например, от работы холодильных, фасовочно-упаковочных машин).
Систематическое воздействие общих вибраций, характеризующихся высоким уровнем виброскорости, приводит к вибрационной болезни, которая характеризуется нарушениями физиологических функций организма, связанными с поражением центральной нервной системы. Эти нарушения вызывают головные боли, головокружения, нарушения сна, снижение работоспособности, ухудшение самочувствия, нарушения сердечной деятельности.
Различают гигиеническое и техническое нормирование вибраций. Гигиенические – ограничивают параметры вибрации рабочих мест и поверхности контакта с руками работающих, исходя из физиологических требований, исключающих возможность возникновения вибрационной болезни. Технические – ограничивают параметры вибрации не только с учетом указанных требований, но и исходя из достижимого на сегодняшний день для данного типа оборудования уровня вибрации.
Вибрация по способу передачи телу человека подразделяется на общую (воздействие на все тело человека) и локальную (воздействие на отдельные части тела – руки или ноги). Для санитарного нормирования и контроля вибраций используются среднеквадратичные значения виброускорения и виброскорости, а также их логарифмические уровни в децибелах (ГОСТ 12.1.047-85) [22].
Для измерения вибрации применяются виброметры и шумомеры с дополнительным приспособлением – предусилителем, устанавливаемый вместо микрофона. Широкое распространение получили приборы ВШВ-3М2 – измерители шума и вибраций.
1.2 Проведение аттестации рабочих мест по условиям труда
Аттестация рабочего места – система анализа оценки рабочего места, применяемая для охраны здоровья рабочего, ознакомления его с условиями труда, а также сертификации производственных объектов для подтверждения или отмены действующих компенсаций и льгот работникам, занятых на тяжёлых работах с вредными и опасными условиями труда.
Аттестация рабочих мест по условиям труда является важной составляющей организации охраны труда на предприятии. Проведение аттестации рабочих мест определяется «Положение о порядке проведения аттестации рабочих мест по условиям труда» Минтруда России. Задачами аттестации рабочих мест являются:
-
Определение фактических значений опасных и вредных производственных факторов на этих рабочих местах;
-
Оценка фактического состояния условий труд на рабочих местах;
-
Предоставление льгот и компенсаций за работу с вредными и тяжелыми условиями труда;
-
Разработка мероприятий по улучшению и оздоровлению условий труда [16].
Аттестация проводится специально созданной аттестационной комиссией, которая оформляет результаты своей работы общим протоколом аттестации рабочих мест по условиям труда, к которому прилагаются все материалы аттестации и план мероприятий по улучшению условий труда.
Аттестация рабочих мест начинается с определения фактических значений опасных и вредных производственных факторов на рабочих местах. При аттестации рабочего места по условиям труда оценке подлежат все имеющиеся на рабочем месте опасные и вредные производственные факторы (физические, химические, биологические), тяжесть и напряженность труда.
Уровни опасных и вредных производственных факторов определяются на основе инструментальных измерений. Инструментальные измерения ОВПФ, эргономические исследования должны выполняться в процессе работы, то есть при проведении производственных процессов в соответствии с технологическим регламентом, при исправных и эффективно действующих средствах коллективной и индивидуальной защиты.
Аттестация рабочих мест по условиям труда проводится 1 раз в 5 лет. Обязательной аттестации подлежат рабочие места после замены оборудования, изменения технологического процесса, реконструкции помещения, а также по требованию органов государственной экспертизы условий труда [4].
1.3 Аттестация рабочих мест по санитарно-гигиеническим условиям
Исходя из гигиенических критериев и принципов, классификации условия труда подразделяются на 4 класса:
1-й класс — оптимальные (комфортные) условия труда обеспечивают максимальную производительность труда и минимальную напряженность организма человека. Этот класс установлен только для оценки параметров микроклимата и факторов трудового процесса (тяжесть и напряженность труда). Для остальных факторов условно оптимальными считаются такие условия труда, при которых неблагоприятные факторы не превышают допустимых пределов для населения;
2-й класс — допустимые условия труда характеризуются такими уровнями факторов среды и трудового процесса, которые не превышают гигиенических нормативов для рабочих мест. Возможные изменения функционального состояния организма восстанавливаются во время регламентированного отдыха или к началу следующей смены и не должны оказывать неблагоприятное воздействие в ближайшем и отдаленном периоде на состояние здоровья работающего и его потомство. Оптимальные и допустимые условия труда безопасны;
3-й класс — вредные условия труда характеризуются наличием вредных производственных факторов, превышающих гигиенические нормативы и оказывающих неблагоприятное воздействие на организм работающего и/или его потомства. В зависимости от уровня превышения нормативов факторы этого класса подразделяются на четыре степени вредности:
3.1 — вызывающие обратимые функциональные изменения организма;
3.2 — приводящие к стойким функциональным изменениям и росту заболеваемости;
3.3 — приводящие к развитию профессиональной патологии в легкой форме и росту хронических заболеваний;
3.4 — приводящие к возникновению выраженных форм профессиональных заболеваний, значительному росту хронических и высокому уровню заболеваемости с временной утратой трудоспособности;
4-й класс — травмоопасные (экстремальные) условия труда. Уровни производственных факторов этого класса таковы, что их воздействие на протяжении рабочей смены или ее части создает угрозу для жизни и/или высокий риск возникновения тяжелых форм острых профессиональных заболеваний [16].
2. Идентификация опасных и вредных производственных факторов в лаборатории вибродиагностики
2.1 Характеристика аттестуемого объекта
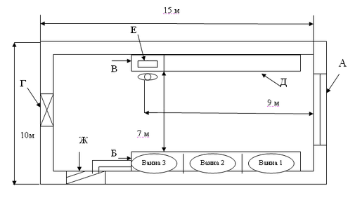
На рисунке 1 изображена планировка лаборатории вибродиагностики. Аттестуемым местом является место инженера-механика.
Рисунок 1 – Планировка лаборатории вибродиагностики
А – окно; Б – отсек с ваннами; В – компьютерный стол; Г – выход из лаборатории; Д – установка для вибродиагностики; Е – компьютер; Ж – вентиляция.
2.2 Характеристика выполняемой работы
Станок для вибродиагностики предназначен для проверки качества подшипников, поступающих на предприятие. Входной контроль включает в себя следующие этапы:
1. Визуальный контроль качества;
2. Снятие с консервации подшипников в первой ванне с мыльным раствором;
3. Промывка во второй ванне с водой;
4. Смазка подшипников в третьей ванне с техническим маслом при повышенной температуре 80°С;
5. Загрузка в виброустановку, которая представляет собой станок КВП-508. При этом на подшипники оказывается радиальное и осевое давление.
6. Показания датчика обрабатываются на компьютере.
Работа инженера-механика категории IIa, т.е. средней тяжести – с расходом энергии 175…290 Вт (постоянная ходьба и перемещение мелких предметов (до 1 кг). 8-часовой рабочий день включает перерыв продолжительностью 1 час. Так как есть необходимость работы с ПЭВМ, зрительным работам присвоена категория IIIв – высокой точности.
3. Измерение и оценка опасных и вредных производственных факторов на рабочем месте в лаборатории вибродиагностики
При работе в лаборатории диагностики подшипников выделяют следующие опасные и вредные производственные факторы (ГОСТ 12.0.003-74) [18]:
-
повышенный уровень шума на рабочем месте;
-
несоответствие нормам параметров микроклимата;
-
повышенное содержание вредных веществ в воздухе рабочей зоны (выделение нефтепродуктов);
-
недостаточная освещенность рабочей зоны;
-
повышенный уровень электромагнитного излучения.
3.1 Измерение и оценка уровня шума
Шум измеряется с помощью шумомера (ВШВ – 003 с октавными фильтрами). Допустимый уровень звука регламентируется в соответствии с СН 2.2.4/2.1.8.562-96 «Санитарные нормы допустимых уровней шума на рабочих местах». При нормирование шума определяют следующие параметры:
уровни звукового давления (дБ) в октавных полосах частот со среднегеометрическими частотами 31.5, 63, 125, 250, 500, 1000, 2000, 4000, 8000 Гц;
уровни звука (дБА);
На рассматриваемом рабочем месте шум непостоянный. Источником шума является вибродиагностический станок КВП-508. Шум действует на рабочего в течение 5 часов. Получены следующие значения уровней звукового давления (таблица 1):
Таблица 1. Уровни звукового давления.
| Уровни звукового давления, дБ, в октавных полосах со среднегеометрическими частотами, Гц. | Уровень звука, дБА | ||||||||||
| 31.5 | 125 | 250 | 500 | 1000 | 2000 | 4000 | 8000 | ||||
| Допустимый уровень звукового давления | 103 | 91 | 83 | 77 | 73 | 70 | 68 | 66 | 64 | 75 | |
| Фактический уровень звукового давления | 80 | 79 | 79 | 81 | 76 | 75 | 78 | 79 | 76 | 84 | |
Из приведенных выше данных видно, что уровень звукового давления и эквивалентный уровень звука не соответствуют требованиям СН 2.2.4/2.1.8.562-96.
Уровень шума в лаборатории в течение рабочего дня непостоянен. При этом в течение одного часа действует шум с уровнем звука 83 дБА, в течение следующих двух часов с уровнем звука 86 дБА, остальное время 81 дБА. Учитывая данный факт, гигиеническую оценку уровня шума необходимо производить по эквивалентному уровню шума.
L ЭКВ = 10 * lg
,
где
















