5175 (600244), страница 7
Текст из файла (страница 7)
Кроме того, системой кондиционирования воздуха должна регулироваться концентрация газов, паров и пыли в помещении. Если система предназначена для создания комфортных условий людям, то она должна также уменьшать запахи, выделяемые человеческим телом.
Кондиционером называют техническое устройство (рис.10), которое с помощью приборов автоматического регулирования поддерживает в помещении заданные параметры воздушной среды. В зависимости от предъявляемых требований по обеспечению необходимого состояния воздуха помещений кондиционеры бывают двух типов: полного кондиционирования (обеспечивают постоянными температуру, относительную влажность, скорость движения и чистоту воздуха) и неполного кондиционирования (поддерживают постоянными только часть параметров или один из них - чаще всего температуру).
По способу холодоснабжения различают автономные и неавтономные кондиционеры. В автономные кондиционеры для охлаждения воздуха встроены холодильные агрегаты, а неавтономные снабжают холодоносителем централизованно.
По способу подготовки и распределения воздуха кондиционеры делят на центральные и местные.
Конструкция центральных кондиционеров предполагает приготовление воздуха вне пределов обслуживаемых помещений и распределение его по системам воздуховодов. Их применяют в помещениях большого объема, так как производительность таких кондиционеров по воздуху сравнительно высока и составляет 30...250 тыс. м3/ч.
Местные кондиционеры подготавливают воздух непосредственно в обслуживаемых помещениях и подают его сосредоточенно в определенную зону. Их применяют в сравнительно небольших помещениях (объемом до 500 м3). Производительность таких кондиционеров по воздуху 1,5...20 тыс. м3/ч.
Кондиционирование воздуха по сравнению с вентиляцией требует больших капитальных вложений и эксплуатационных затрат, но вложенные денежные средства окупаются за счет повышения производительности труда и качества выпускаемой продукции, снижения заболеваемости работающих и процента бракованных изделий.
Рис. 10. Схема кондиционера:
1- заборный воздуховод; 2- фильтр; 3- соединительный воздуховод; 4- калорифер; 5- форсунки увлажнителя воздуха; 6- каплеуловитель; 7- калорифер второй ступени; 8- вентилятор; 9- отводной воздуховод.
6.2.3 Отопление производственных помещений
Отопление предназначено для поддержания нормируемой температуры воздуха в производственных помещениях в холодное время года. Кроме того, оно способствует лучшей сохранности зданий и оборудования, так как одновременно позволяет регулировать и влажность воздуха. С этой целью сооружают различные системы отопления.
В холодный и переходный периоды года следует отапливать все здания и сооружения, в которых время пребывания людей превышает 2 ч, а также помещения, в которых поддержание температуры необходимо по технологическим условиям. Это требование не распространяется на помещения, где работа по условиям труда приравнивается к работе вне зданий или постоянное пребывание людей необязательно (например, склады, кладовые и т. п.). В последней ситуации следует предусмотреть специальные устройства на рабочих местах или дополнительные помещения для обогревания работающих.
В нерабочее время в отапливаемых помещениях зданий и сооружений различного назначения в холодный и переходный периоды года должна поддерживаться температура 5 °С, если это необходимо и допустимо по условиям производства. В данном случае мощность системы отопления должна быть достаточной для восстановления нормального температурного режима в помещениях к началу рабочего времени.
К системам Отопления предъявляют следующие санитарно-гигиенические требования: равномерный прогрев воздуха помещений; возможность регулирования количества выделяемой теплоты и совмещения процессов отопления и вентиляции; отсутствие загрязнения воздуха помещений вредными выделениями и неприятными запахами; пожаро- и взрывобезопасность; удобство в эксплуатации и ремонте.
Отопление производственных помещений по радиусу действия бывает местное и центральное.
Местное отопление устраивают в одном или нескольких смежных помещениях площадью менее 500 м2. В системах такого отопления генератор теплоты, нагревательные приборы и теплоотдающие поверхности конструктивно объединены в одном устройстве. Воздух в этих системах чаще всего нагревается за счет использования теплоты сгорающего в печах топлива (дров, угля, торфа и т. д.). Значительно реже в качестве своеобразных отопительных приборов применяются полы или стеновые панели со встроенными электронагревательными элементами, а иногда — электрорадиаторы. Существуют также воздушные (основной элемент — калорифер) и газовые (при сжигании газа в отопительных приборах) системы местного отопления.
Центральное отопление по виду используемого теплоносителя может быть водяное (рис. 11), паровое (рис. 12), воздушное и комбинированное. Системы центрального отопления включают в себя генератор теплоты, нагревательные приборы, средства передачи теплоносителя (трубопроводы) и средства обеспечения работоспособности (запорная арматура, предохранительные клапаны, манометры и пр.). Как правило, в таких системах теплота вырабатывается за пределами отапливаемых помещений.
Системы отопления должны компенсировать теплопотери через строительные ограждения, расход теплоты на нагрев нагнетаемого холодного воздуха, поступающих извне сырья, машин, оборудования и на технологические нужды.
При отсутствии точных данных о строительном материале ограждений, толщине слоев материалов ограждающих конструкций и вследствие этого невозможности определения термического сопротивления стен, потолков, полов, окон и прочих элементов расход теплоты приближенно определяют с помощью удельных характеристик.(5)
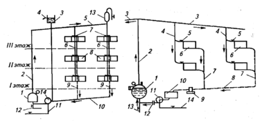
| Рис. 11. Схема системы центрального водяного отопления с искусственным побуждением: / — котел; 2— главный горячий стояк; 3— расширительный сосуд; 4 — сливная труба; 5—водяная магистраль; б—горячие стояки; 7—вентили; 8— приборы отопления; 9 — стояки охлажденной воды; 10 — обратная магистраль; 11 — центральный водопровод; 12— канализация; 13— воздухосборник; 14— насос | Рис. 12. Схема системы центрального парового отопления: I — паровой котел; 2— главный паровой стояк; 3 — паровая магистраль; 4 — паровые стояки; 5— паровые вентили; 6—нагревательные приборы; 7— конденсационные стояки; —конденсационная магистраль; 9— конденсационный горшок; 10 — сливной бак; II — насос; 12— обратный клапан; 13 — канализация; 14— центральный водопровод |
Расход теплоты через наружные ограждения зданий, кВт,
где q0 — удельная отопительная характеристика здания, представляющая собой поток теплоты, теряемой 1 м3 объема здания по наружному обмеру в единицу времени при разности температур внутреннего и наружного воздуха в 1 К, Вт/(м3 • К): в зависимости от объема и назначения здания q0 = 0,105...0,7 Вт/(м3 • К); Vн — объем здания без подвальной части по наружному обмеру, м3; Тв — средняя расчетная температура внутреннего воздуха основных помещений здания, К; Тн — расчетная зимняя температура наружного воздуха для проектирования систем отопления, К: для Волгограда 248 К, Кирова 242 К, Москвы 247 К, Санкт-Петербурга 249 К, Ульяновска 244 К, Челябинска 241 К.
Q0=10-3*0,5*500*(295-248)=11,75 кВт
Расход теплоты на вентиляцию производственных зданий, кВт,
где qв — удельная вентиляционная характеристика, т. е. расход теплоты на вентиляцию 1 м3 здания при разности внутренней и наружной температур в 1 К, Вт/ (м3 • К): в зависимости от объема и назначения здания qв = 0,17...1,396 Вт/(м3 * К); Тн.в — расчетное значение температуры наружного воздуха для проектирования систем вентиляции, К: для Волгограда 259 К, Вятки 254 К, Москвы 258 К, Санкт-Петербурга 261 К, Ульяновска 255 К, Челябинска 252 К.
Qв=10-3*1,2*500*(295-260)=21 кВт
Количество теплоты, поглощаемое ввозимыми в помещения материалами, машинами и оборудованием, кВт,
где см — массовая теплоемкость материалов или оборудования, кДж/(кг-К): для воды 4,19, зерна 2,1...2,5, железа 0,48, кирпича 0,92, соломы 2,3; m — масса ввозимых в помещения сырья или оборудования, кг; Тм — температура ввозимых в помещение материалов, сырья или оборудования, К: для металлов Тм = Тн, для несыпучих материалов Ти = Ти + 10, сыпучих материалов Тм = Тн + 20; τ — время нагрева материалов, машин или оборудования до температуры помещения, ч.
Qм=0,48*500*(295-282)/3600*1,5=0,58 кВт
Количество теплоты, потребляемой на технологические нужды, кВт,
определяют через расход горячей воды или пара:
где Gr — расход на технологические нужды воды или пара, кг/ч: для ремонтных мастерских 100...120, на одну корову 0,625, на теленка 0,083 и т. д.; i — теплосодержание воды или пара на выходе из котла, кДж/кг; kв — коэффициент возврата конденсата или горячей воды, изменяющийся в пределах 0...0,7: в расчетах обычно принимают kв = 0,7; iB — теплосодержание возвращаемых в котел конденсата или воды, кДж/кг: в расчетах можно принять равным 270...295 кДж/кг.
Qт=100*(270-0,7*280)/3600=5,45 кВт
Тепловая мощность котельной установки РК с учетом расхода теплоты на собственные нужды котельной и потерь в теплосетях принимается на 10...15 % больше суммарного расхода теплоты:
Рк=(1,1...1,15)( Q0+ QB+ QM+ QT).
Рк=1,12*(11,75 +21+0,58 +5,45)=43,5 кВт
По полученному значению Рк подбирают тип и марку котла. Рекомендуется устанавливать однотипные котельные агрегаты с одинаковой тепловой мощностью. Число стальных агрегатов должно быть не менее двух и не более четырех, чугунных — не более шести. Следует учитывать, что при выходе из строя одного котла оставшиеся должны обеспечить не менее 75...80 % расчетной тепловой мощности котельной установки.
Для непосредственного обогрева помещений применяют нагревательные приборы различных видов и конструкций: радиаторы, чугунные ребристые трубы, конвекторы и пр.
Общую площадь поверхности нагревательных приборов, м2, определяют по формуле
где k — коэффициент теплопередачи стенок нагревательных приборов, Вт/(м2 • К): для чугуна 7,4, для стали 8,3; Тr — температура воды или пара на входе в нагревательный прибор, К: для водяных радиаторов низкого давления 338...348, высокого давления 393...398; для паровых радиаторов 383...388; Tх — температура воды на выходе из нагревательного прибора, К: для водяных радиаторов низкого давления 338...348, для паровых и водяных радиаторов высокого давления 368.
F=1000*(11,75 +21+0,58 +5,45)/7.4*(0.5*(345+339)-295)=30 м2
По известному значению F находят требуемое число секций нагревательных приборов:
где f— площадь одной секции нагревательного прибора, м2, зависящая от его типа: 0,254 у радиаторов М-140; 0,299 у М-140-АО; 0,64 у МЗ-500-1; 0,73 у конвектора плинтусного типа 15КП-1; 1 у чугунной ребристой трубы диаметром 500 мм.
При использовании радиаторов МЗ-500-1 необходимо:
n=30/0,64=47 секций
Заключение
Микроклимат производственных помещений определяется сочетанием температуры, влажности, подвижности воздуха, температуры окружающих поверхностей и их тепловым излучением, а также атмосферного давления. Параметры микроклимата определяют теплообмен организма человека и оказывают существенное влияние на функциональное состояние различных систем организма, самочувствие, работоспособность и здоровье. Параметры микроклимата производственных помещений зависят от теплофизических особенностей технологического процесса, климата, сезона года, условий отопления и вентиляции.
Борьба с неблагоприятным влиянием производственного микроклимата осуществляется с использованием архитектурно-планировочных, инженерно-технологических, санитарно-технических, медико-профилактических и организационных мероприятий.
В профилактике вредного влияния высоких температур инфракрасного излучения ведущая роль принадлежит технологическим мероприятиям: замена старых и внедрение новых технологических процессов и оборудования, автоматизация и механизация процессов, дистанционное управление, использование систем вентиляции и кондиционирования.
Для предупреждения попадания в производственные помещения холодного воздуха необходимо оборудовать у входных ворот воздушные завесы, тамбуры-шлюзы.
При невозможности обогрева всего здания применяется воздушное и лучистое отопление. При работе на открытом воздухе в холодных климатических зонах страны устраиваются перерывы на обогрев в специально оборудованных тепловых помещениях.
В профилактике переохлаждения важную роль играет спецодежда, обувь, рукавицы (из шерсти, меха, искусственных тканей с теплозащитными свойствами, обогревающая одежда).
Способами улучшения метеорологических условий на рабочем месте является устройство систем искусственной вентиляции, кондиционирования и отопления производственных помещений.
Список литературы
-
Безопасность жизнедеятельности (медико-биологические основы) /Феоктистова О.Г., Феоктистова Т.Г, Экзерцева Е.В., М.:Феникс, 2006.
-
Безопасность жизнедеятельности. Учебник для студентов средних проф. учеб. Заведений // Под ред. С.В. Белова.—М.: Высш. шк., 2000.—343с.: ил.
-
Гигиенические требования к организации технологических процессов, производственному оборудованию и рабочему инструменту. СП 2.2.2.1327-03
-
ГОСТ 12.1.005-88 "Общие санитарно-гигиенические требования к воздуху рабочей зоны".
-
Б.И. Зотов, В.И. Курдюмов Безопасность жизнедеятельности на производстве. – М.: КолосС, 2004.
-
Методические рекомендации "Оценка теплового состояния человека с целью обоснования гигиенических требований к микроклимату рабочих мест и мерам профилактики охлаждения и перегревания" N 5168-90 от 05.03.90.
-
Мучин П.В. Безопасность жизнедеятельности: Учебное пособие для вузов. Новосибирск: СГГА, 2003.
-
Охрана окружающей среды: учеб. для техн. спец. вузов/ С. В. Белов, Ф.А. Барбинов, А.Ф. Козьяков и др./ под ред. С.В.Белова.- М.: Высшая школа, 1991.
-
Руководство Р 2.2.013-94. Гигиена труда. Гигиенические критерии оценки условий труда по показателям вредности и опасности факторов производственной среды, тяжести и напряженности трудового процесса. Госкомсанэпиднадзор России, М, 1994.
9. Руководство Р 2.2.4/2.1.8. Гигиеническая оценка и контроль физических факторов производственной и окружающей среды
10. Санитарные правила и нормы СанПиН 2.2.4.548-96 "Гигиенические требования к микроклимату производственных помещений"
11. Седельников Ф.И. Безопасность жизнедеятельности (охрана труда)/ Учебное пособие (электронная версия). – Вологда, 2001.
12. Строительные нормы и правила. СНиП 2.01.01. "Строительная климатология и геофизика".
13. Строительные нормы и правила. СНиП 41.01-2003 "Отопление, вентиляция и кондиционирование".
14.Титов И.К. Основы безопасности жизнедеятельности. - М., 1996
15. http://truddoc.narod.ru
Приложение
Таблица 1
Время пребывания на рабочих местах при температуре воздуха выше допустимых величин
Таблица 2
Время пребывания на рабочих местах при температуре воздуха ниже допустимых величин
Таблица 3
Требования к измерительным приборам















