4861 (600202), страница 2
Текст из файла (страница 2)
(4)
где В2 и В1 — постоянные помещения до и после проведения акустической обработки. Величину В определяют по СНиП П-12—77 в зависимости от вида помещения.
1 — защитный перфорированный слой; 2 — звукопоглощающий материал;
3 — защитная стеклоткань; 4 — стена или потолок; 5 — воздушный промежуток;
6 — плита из звукопоглощающего материала.
Рисунок 2 – Акустическая обработка помещений
Уменьшение шума на пути его распространения применяют, когда перечисленные выше методы не обеспечивают требуемого снижения шума. Снижение шума достигается за счет уменьшения интенсивности прямого шума lпр путем установки звукоизолирующих перегородок, кожухов, экранов (рисунок 3) и т.п. Сущность звукоизоляции ограждения состоит в том, что падающая на него энергия звуковой волны отражается в значительно большей степени, чем проходит за ограждение. Звукоизолирующая способность (дБ) перегородки выражается величиной:
(5)
где
— интенсивность шума за перегородкой. В качестве звукоизолирующих материалов для перегородок применяют бетон, кирпич, дерево и т. п. Эффективность звукоизоляции (дБ) однородной перегородки может быть определена по формуле:
, (6)
где т — масса 1 м2 перегородки, кг, зависящая от плотности материала и толщины перегородки;
/ — частота, Гц;
рс — акустическое сопротивление воздуха.
Анализ этой формулы позволяет сделать два основных вывода: звукоизоляция ограждений тем выше, чем они тяжелее, и на высоких частотах эффект от установки ограждения будет значительно выше, чем на низких.
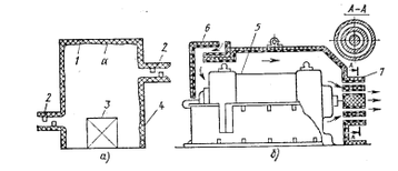
Наиболее шумные машины и механизмы закрывают кожухами, которые обычно изготовляют из конструкционных материалов — стали, сплавов алюминия, пластмасс и др. и облицовывают изнутри звукопоглощающим материалом толщиной 30 ... 50 мм (рисунок 5).
а – схема кожуха; б – конструкция кожуха электродвигателя: 1 – звукопоглощающий материал; 2 – глушитель шума; 3 – источник шума; 4 – стенка;
5 – электродвигатель; 6, 7 – каналы с глушителями для входа и выхода воздуха
Рисунок 3 – Звукоизолирующий кожух
а – схема экрана; б – расположение экранов в вычислительных центрах;
в – экранирование источников механического шума; 1 – шумное оборудование;
2 – экран со звукопоглощающей облицовкой; 3 – рабочее место; 4 – дисковая пила
Рисунок 4 – Экранирование источников шума
4 Расчет глушителей шума
На машиностроительных предприятиям повышенный шум на рабочих местах и в жилой застройке часто создается при работе вентиляторных, компрессорных и газотурбинных установок, систем сброса сжатого воздуха, стендов для испытаний различных двигателей. Снижение шума аэродинамического происхождения достигается установкой глушителей в каналах и воздуховодах на пути распространения шума от его источника до места всасывания или выброса воздуха и газов. Глушители подразделяются на абсорбционные, реактивные (рефлексные) и комбинированные. Снижение шума в абсорбционных глушителях происходит за счет поглощения звуковой анергии применяемыми в них звукопоглощающими материалами и конструкциями, а в реактивных – в результате отражения звука обратно к источнику. Комбинированные глушителя обладают свойством как поглощать, так и отражать звук. Выбор типа глушителя зависит от конструкции заглушаемой установки (стенда, системы и т.д.), спектра и требуемого снижения шума. Применение глушителей для различных установок и систем рассмотрено ниже.
При распространении шума по трубопроводам, воздуховодам, каналам для его уменьшения широко применяют глушители различных конструкций, выбор которых определяется спектром шума, необходимым глушением и условиями эксплуатации конкретной установки. Реактивные глушители используют для снижения шума с резко выраженными дискретными составляющими и в узких частотных диапазонах. Важно, чтобы применение глушителей любого типа не ухудшало работу заглушаемой машины. Эффективность глушителей шума может достигать 30—40 дБ и более. Если в рабочей зоне не удается уменьшить шум до допустимых величин общетехническими средствами, то администрация обязана обеспечить работающих в этой зоне средствами индивидуальной защиты и обозначить ее знаками безопасности. К средствам индивидуальной противошумовой защиты относятся вкладыши (Снижение шума на 5 ... 20 дБ); наушники (эффективность на высоких частотах до 45 дБ); шлемы, применяемые при высоких уровнях шума (более 120 дБ).
а – трубчатый; б – пластинчатый; в – сотовый; г – звукопоглощающая облицовка поворота; 1 – трубопровод; 2 – корпус глушителя; 3 – перфорированная стенка;
4 – стеклоткань; 5 – звукопоглощающий материал.
Рисунок 5 – Глушители абсорбционного типа
а – камерный; б – резонансный; в – четвертьволновой; е – глушитель шума выпуска мотоциклетного двигателя
Рисунок 6 –Реактивные глушители
Защита от шума может обеспечиваться и такими организационными мероприятиями, как сокращение времени пребывания в условиях повышенного шума, правильный выбор режима труда и отдыха, лечебно-профилактические и другие мероприятия. Контроль уровней шума на рабочих местах регламентирован ГОСТ 12.1.050—86. В настоящее время для измерения шума и вибраций используют акустические комплекты «ШУМ-1М» и «ВШВ-003» (бывш.СССР), КРТ (Германия) и «Брюль и Къер» (Дания).
Глушители вентиляционных установок. Наибольшее распространение в вентиляторных установках общепромышленного назначения получили глушителя абсорбционного типа — трубчатые, пластинчатые, цилиндрические, облицованные изнутри ЗПМ повороты воздуховодов (рисунок 8), поскольку вентиляторы имеют широкополосный спектр шума. Конструкции глушителей подбирают в зависимости от поперечных размеров воздуховода, допустимой скорости воздушного потока, требуемого снижения УЗД и места для установки глушителя.
Трубчатые глушителя обычно применяются при поперечном сечении воздуховодов до 500 X 500 им или диаметре до 500 мм, цилиндрические — при диаметре до 700 мм, а пластинчатые — при больших размерах. В глушителях пластины устанавливают параллельно потоку воздуха на определенном расстоянии друг от друга. Толщину пластин выбирают исходя из максимума а спектре шума — чем выше частота заглушаемого звука, тем толще должны быть пластины глушители. Обычно толщина пластин составляет 100–200 мм, реже 400–600 мм.
1 — корпус; 2 — штуцер; 3 и 4 — пористые перегородки; 5 — замкнутая полость;
6 — звукопоглощающий сыпучий материал
Рисунок 7 – Комбинированный глушитель
Необходимое свободное сечение глушителя находят из соотношения:
, (7)
где Q – расход воздуха через глушитель, м3/с;
– допустимая скорость воздуха в глушителе, м/с.
Поток воздуха, проходя через глушитель, генерирует так называемый собственный шум глушителя, звуковая мощность которого зависит от скорости потока, конструкции глушителя и его размеров. Особенно важно учитывать то обстоятельство, когда глушитель устанавливается непосредственно перед помещением. В этом случае допустимую скорость воздуха можно принимать в зависимости от допустимого уровня звука в помещении.
Для ориентировочной оценки допустимой скорости движения воздуха в вентиляционных глушителях при определении их конкретных габаритов допускается пользоваться данными табл. 1.
а–трубчатый круглый, сварной сварной; б – трубчатый прямоугольный, сварной;
в – пластинчатый;
г – цилиндрический; 3 – цилиндрический комбинированный; 1 – перфорированная обечайка; 2 – звукопоглощающий холст; 1 – короб наружный; 4 – диафрагма;
5 – пластина; 6–цилиндр; 7 – обтекатель; 8 – крепление цилиндра
Рисунок 8 – Глушители шума вентиляционных установок
Таблица 1 – Допускаемая скорость движения воздуха в глушителях систем вентиляции, м/с
| Индекс предельного спектра шума в обслуживаемом помещении | ПС-25 | ПС-35 | ПС-40 | ПС-50 |
| Допускаемая скорость движения воздуха, м/с | 4 | 6 | 8 | 10 |
Необходимую длину глушителя определяют для каждой октавной полосы по формуле:
, (8)
где
— требуемое заглушение шума в глушителе, дБ;
— табличное значение заглушения шума в глушителе, (дБ) длиной 1 м.
Длину глушителей следует принимать по наибольшему из всех значений Lтр, полученных в результате расчета для отдельных октавных полос.
Требуемая длина глушителя может быть уменьшена в результате применения облицованных отводов и звукопоглощающих облицовок в поворотах и прямых участках каналов.
При компоновке вентиляционных установок целесообразно устанавливать центральный глушитель и предусматривать для него место по возможности ближе к вентилятору в начале вентиляционной сети, чтобы ограничить до минимума шум, проникающий через стенки воздуховодов в помещения, через которые они проходят.
Уровни звуковой мощности шума вентилятора перед дросселирующим устройством определяют по формуле:
, (9)
где
— октавный уровень звуковой мощности шума, излучаемого вентилятором в сеть, дБ;
=
, (10)
где
– суммарное снижение уровня (потери) звуковой мощности (дБ) в элементах сети по пути распространения шума от вентилятора до дросселирующего устройства;
— снижение уровня звуковой мощности (дБ) в запроектированном центральном глушителе (эффективность глушителя).
При акустическом расчете вентиляционной системы шум, излучаемый дросселирующими устройствами в воздуховод, можно не учитывать лишь в том случае, когда уровни звуковой мощности этого шума во всех октавных полосах по крайней мере на 5 дБ ниже, чем уровни звуковой мощности шума от вентилятора (с учетом снижения шума в глушителе) перед этим устройством. В остальных случаях необходимо рассчитать требуемое снижение шума дросселирующего устройства и подобрать глушитель, который должен быть установлен после дросселирующего устройства.















