166340 (599196)
Текст из файла
4
Определенная часть электромагнитного излучения, которую мы условно называем светом (независимо от того, видимый это свет или невидимый) используется для физических и химических исследований, в частности, для качественного (т.е. получения сведений о строении соединений) и количественного анализа. Эта часть электромагнитного излучения используется в тех методах, которые мы называем оптической спектроскопией.
участок спектра электромагнитного излучения, используемый в аналитических целях в методах оптической спектроскопии, показан на рис. F1.
Поглощение света веществом в ультрафиолетовой и видимой областях спектра зависит от электронной структуры молекул. При этом избирательность поглощения световой энергии является большим достоинством метода, так как характеристические группы могут быть определены в молекулах, сложность которых меняется в широких пределах. С этой целью используется сравнение спектров различных молекул.
Спектром называется зависимость интенсивности поглощения (пропускания или оптической плотности) от длины волны или волнового числа падающего на образец света, выраженную в числовом или в графическом виде.
Значительная часть относительно сложной молекулы может быть прозрачна и поэтому спектр получается сходным со спектром гораздо более простой молекулы. В качестве примера можно сопоставить спектры гормона тестостерона и окиси мезитила (рис. 2). На основании идентичности этих спектров можно сделать вывод, что в молекуле гормона содержится такая же группировка, ответственная за поглощение в этой области спектра, что и в окиси мезитила.
Группы атомов, обусловливающие поглощение в видимой и ультрафиолетовой областях спектра, имеют определенные названия.
Сформулируем определение некоторых терминов.
Хромофор. Ковалентно ненасыщенная группа, обусловливающая поглощение в видимой или ультрафиолетовой областях спектра (например, С=С, С=О и NO2).
Ауксохром. Насыщенная группа, которая, будучи присоединена к хромофору, изменяет как длину волны, так и интенсивность максимума поглощения (например, ОН, NH2 и Сl).
Батохромный сдвиг. Сдвиг поглощения в сторону более длинных волн вследствие замещения или влияния растворителя (красный сдвиг).
Гипсохромный сдвиг. Сдвиг поглощения в сторону более коротких волн вследствие замещения или влияния растворителя (синий сдвиг).
Гиперхромный эффект. Увеличение интенсивности поглощения.
Гипохромный эффект. Уменьшение интенсивности поглощения.
Максимумы полос поглощения, соответствующих некоторым изолированным связям и различным хромофорам приведены в таблицах 1 и 2 (F 3).
Теория
Полная энергия молекулы равна сумме энергий ее связей, т.е. сумме электронной, колебательной и вращательной энергий. Величина этих энергий убывает в следующем порядке: Еэл Екол Евр (Рис. 4).
Энергия поглощенного молекулой фотона, соответствующая УФ или видимой области спектра, изменяет электронную энергию молекулы, возбуждая ее валентные электроны. При этом электрон переходит с заполненной молекулярной орбитали на следующую орбиталь с более высокой энергией (разрыхляющую *- или σ*-орбиталь). Разрыхляющие орбитали отмечаются звездочкой. Так, переход электрона со связывающей -орбитали на разрыхляющую *-орбиталь обозначается как π*.
Диаграмма энергетических уровней двухатомной молекулы показана на следующей схеме (Рис. 4). Изменение конфигурации π-орбитали при электронном возбуждении молекулы этилена показано на следующем рисунке (Рис. 5).
Ясно видно различие между связывающей орбиталью, объединяющей атомы углерода, и разрыхляющей, две части которой сосредоточены на отдельных атомах, не связывая их.
На следующем рисунке (рис. F 6) показаны энергетические уровни молекулы бутадиена. Видно, что уровни энергии связывающих орбиталей лежат в отрицательной области, а энергия разрыхляющих (несвязывающих) орбиталей положительна.
Соотношение между энергией, поглощенной при электронном переходе, частотой, длиной волны и волновым числом выражается следующим образом (F 4):
ΔE = h = hc/ = h c
(1)
Здесь h – постоянная Планка, равная 6,62610-34 Дж с.
Что происходит при поглощении молекулой кванта энергии?
Мы видели, что молекула, находящаяся в основном электронном состоянии переходит в возбужденное состояние. Существенно, что невозбужденная молекула находится также и на основном колебательном уровне. Однако при поглощении кванта света происходит не только переход на более высокий электронный уровень, но молекула может одновременно переходить и на более высокие колебательные уровни. Схема этого процесса показана на следующем рисунке (рис. 7).
Из схемы, приведенной на следующем рисунке (рис. 8) видно, что переход молекулы при электронном возбуждении на все более высокие колебательные уровни приводит к возникновению спектра с выраженной колебательной структурой.
При регистрации спектров растворов могут быть получены спектры как с колебательной структурой, так и без нее (рис. 9). Отсутствие структуры может быть связано как со свойствами самой молекулы, так и со свойствами среды, температурой.
Характерный спектр бензола позволяет обнаружить его присутствие в различных растворителях даже в следовых количествах. Например, для абсолютировании этанола часто используется ректификация его с добавкой бензола, так как бензол дает с водой азеотроп, который и отделяется от этанола. Однако в УФ спектре такого этанола всегда видна картина, показанная на этом рисунке, что доказывает присутствие в нем следов бензола.
Из формулы (1) видно, что длина волны обратно пропорциональна, а волновое число прямо пропорционально энергии излучения. Т.е. с ростом энергии излучения соответствующая длина волны уменьшается, а волновое число возрастает пропорционально энергии. Поэтому многие современные приборы сконструированы таким образом, что регистрируемые спектры представляют собой функцию волнового числа, а не длины волны.
Рассмотрим теперь принципиальные схемы спектрофотометров и принципы их функционирования. Спектрофотометры могут быть диспергирующими и недиспергирующими. Диспергирующий спектрофотометр состоит из следущих основных частей: 1. Источник излучения; 2. Монохроматор с диспергирующим элементом (призмой или диффракционной решеткой); 3. Кюветного отделения, куда помещается исследуемый образец; 4. Приемника излучения и 5. Регистрирующего устройства.
На следующем рисунке (Рис. 10) приведена схема простейшего однолучевого спектрофотометра.
Запись результатов производится вручную путем считывания показаний регистрирующего прибора (стрелочного или цифрового) для каждого значения длины волны.
Следующий этап развития – это двухлучевые регистрирующие спектрофотометры, автоматически записывающие спектры в заданном интервале длин волн или волновых чисел. оптическая схема такого прибора показана на следующем рисунке. (Рис. 10). При работе такого прибора происходит автоматическое сканирование спектра в заданном диапазоне. Результаты фиксируются на самописце или запоминаются компьютером. Скорость записи полного спектра в диапазоне длин волн от 200 до 900 нм или в шкале волновых чисел от 50000 до 11000 см-1 занимает несколько минут в зависимости от скорости сканирования. Двухлучевая схема обладает рядом преимуществ. Так, компенсируются любые флуктуации интенсивности источника излучения, повышается воспроизводимость получаемых результатов.
Наконец, в последнее время произошел возврат к несканирующим приборам, в которых в качестве приемника излучения используется так называемая диодная матрица. Это тоже однолучевые приборы. Оптическая схема такого прибора представлена на следующем рисунке (Рис. 11). Продолжительность регистрации полного спектра во всем диапазоне не превышает 1 секунды.
Особенностью спектров, получаемых на таких приборах, является их прерывность. Это значит, что значения оптической плотности изменяются не непрерывно в определенном интервале длин волн или волновых чисел, а скачкообразно, с заранее заданным шагом. Принцип получения такого спектра на спектрофотометре с диодной матрицей показан на рис. 12. Точно такой же вид имеет спектр, записанный на компьютере, т.е. после оцифровки. При этом чем меньше шаг изменения длины волны или волнового числа при регистрации спектра, тем выше, при прочих равных условиях, точность результата.
Рис. 3. Энергетические уровни молекулярных орбиталей
Рис. 4
Рис. 5
Р
ис. 7. Схема электронного возбуждения молекулы, приводящая к получению спектра с выраженной колебательной структурой
Рис. 8. Вид спектров поглощения без и с выраженной колебательной структурой (раствор бензола в гексане или в этаноле)
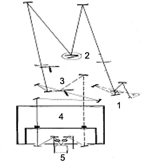
Рис. 10. Схема двухлучевого спектрофотометра:
1 – источник излучения; 2 – диспергирующий элемент; 3 – модулятор;
4 – кюветное отделение; 5 – приемник излучения.
Рис. 11. Схема спектрофотометра с диодной матрицей
Р
ис. 12. Зависимость максимума поглощения незамещенного полиена от числа сопряженных связей с = с
Характеристики
Тип файла документ
Документы такого типа открываются такими программами, как Microsoft Office Word на компьютерах Windows, Apple Pages на компьютерах Mac, Open Office - бесплатная альтернатива на различных платформах, в том числе Linux. Наиболее простым и современным решением будут Google документы, так как открываются онлайн без скачивания прямо в браузере на любой платформе. Существуют российские качественные аналоги, например от Яндекса.
Будьте внимательны на мобильных устройствах, так как там используются упрощённый функционал даже в официальном приложении от Microsoft, поэтому для просмотра скачивайте PDF-версию. А если нужно редактировать файл, то используйте оригинальный файл.
Файлы такого типа обычно разбиты на страницы, а текст может быть форматированным (жирный, курсив, выбор шрифта, таблицы и т.п.), а также в него можно добавлять изображения. Формат идеально подходит для рефератов, докладов и РПЗ курсовых проектов, которые необходимо распечатать. Кстати перед печатью также сохраняйте файл в PDF, так как принтер может начудить со шрифтами.












