150687 (598885), страница 11
Текст из файла (страница 11)
6 Определяется коэффициент превышения амплитуды
:
где
– собственная частота отключаемой цепи, в кГц
7 Определяется коэффициент схемы
, который учитывает количество полюсов аппарата и схему отключаемой цепи.
Таблица 1.4 – Значение
для типичных случаев в соответствии с векторной диаграммой напряжения
| Типичные случаи | |
| Отключение трёхфазной цепи трехполюсный аппаратом | 1,5 |
| Тоже, но при глухом заземлении нейтрали, источника и приёмника | 1 |
| Отключение однофазной цепи двухполюсным аппаратом | 0,865 |
| Тоже, но однополюсным аппаратом | 1,73 |
8 Определяется индуктивность отключаемой цепи:
где:
– начальный угол сдвига фаз между током и напряжением;
– угловая частота:
9 Определяется коэффициент
:
10 Определяется коэффициент
, характеризующий скорость роста восстанавливающейся прочности между контактными промежутками для медных контактов.
11 В случае использования контактов из серебра, металлокерамических контактов при определении
вводится поправочный коэффициент
.
12 Определяется коэффициент
, характеризующий максимальную скорость восстановления напряжения при апериодическом процессе восстановления напряжения:
13 Определяется длина дуги
на один разрыв.
При токах до 80 А длина дуги на одном разрыве должна приниматься равной конечному раствору контактов
, если
, то
должна быть равна 1 см.
Для токов в диапазоне от 80 до 200 А
определяется по формуле:
Для токов более 200 А
определяется по формуле:
где:
– отключаемый ток в А, в соответствии с рекомендациями п.3;
– конечный раствор контактов, см
Время горения дуги на данном этапе расчёта принимается ориентировочно с учётом категории применения проектирования аппарата. Например,
;
;
14 Определяется начальная восстанавливающаяся прочность промежутка
от величины отключаемого тока, отнесённую к моменту перехода тока через 0.
Например, см. [1, стр.168, расчёт 4.23]
15 Определяется усреднённая величина
эквивалентная сопротивлению дуги
, приходящаяся на один сантиметр длины дуги.
16 Определяется число разрывов
при апериодическом процессе восстановления напряжения:
В реальной конструкции аппарата число разрывов на полюс может быть равно лишь конечным значениям:
поэтому расчётные значения
округляются до целого числа в большую сторону.
17 Проверяем условие возможности перехода колебательного процесса восстановления напряжения в апериодический по формуле:
Если условие выполняется, то в рассматриваемом случае наблюдается апериодический процесс восстановления напряжения и число разрывов на полюс аппарата может быть принято
.
18 Определяем каким бы было число разрывов при колебательном процессе восстановления напряжения:
Полученное расчётное значение
округляется до целого числа в большую сторону.
19 После указанных расчётов выполняют мотивированное заключение:
а) – если число разрывов
или
> 1, но < 2 , то принимают мостиковые контакты. Если они не предусматривались ранее в токоведущем контуре, то соответственно в него вносятся коррективы.
б) – если число разрывов
или
< 1, то целесообразно принимать рычажные контакты, но с оговоркой. Однако если требуется упрощённая кинематическая схема аппарата, предпочтение отдаётся мостиковым контактам.
в) – если число разрывов
или
> 2, то приступают к расчёту специального дугогасительного устройства (дугогасительной решётки или щелевой камеры). К расчёту специального дугогасительного устройства приступают и в том случае, если
> 30.
16.11 Гашение дуги постоянного тока в камере с продольной щелью в поперечном магнитном поле
1) Производится выбор вида дугогасительной камеры с учётом имеющихся конструкций, [1, стр.134].
2) Выбирается ширина щели
и рекомендуемые значения:
3) Выполняется эскизная проработка конструкции дугогасительного устройства в определённом масштабе. По эскизу с учётом масштаба определяется площадь пластин
магнитопровода системы магнитного дутья и расстояния между ними
При определении величины
учитывают возможную траекторию движения дуги, чтобы она надёжно входила в щель камеры под действием внешнего магнитного поля
При определении величины
учитывают ширину подвижного контакта, а также зазоры между ним и стенками камеры и также учитывают толщину стенок камеры. Здесь же предварительно выбирается материал для изготовления щелевой камеры из рекомендуемых. Впоследствии уточняется материал после расчёта нагрева камеры.
Рисунок 1.41 – Эскизная проработка конструкции дугогасительного устройства
4 Производится выбор величины напряжённости магнитного поля в зоне размыкания контактов для номинального тока, см. [1, стр.158, рис.6.14].
При выборе напряжения поля необходимо принимать минимально возможный линейный износ контактов.
Рисунок 1.42 – Зависимость линейного износа от напряженности магнитного поля
5 Производится проектный расчёт электромагнитной системы дугогасительного устройства. Задачами данного расчёта являются: определение диаметра сердечника системы магнитного дутья
; числа витков катушки системы магнитного дутья
; корректировка величин
и
. Построение зависимости напряжённости магнитного поля в магнитном зазоре
от величины отключаемого тока
, которая используется для определения параметров дугогасительного устройства.
В зоне размыкания контактов обычно действует суммарная напряжённость магнитного поля
, которая имеет две составляющие: собственную напряжённость магнитного поля
, созданную элементами токоведущего контура и рычажными контактами, а также напряжённость магнитного поля
, созданную электромагнитной системой магнитного дутья, т.е. общая напряжённость будет определяться суммой этой напряжённости.
Исходную величину напряжённости
устанавливают по графической зависимости, с учётом минимального линейного износа контактов для номинального тока. Собственная напряжённость магнитного поля определяется по формуле:
где
– ток отключения (из принятого ряда отключаемых токов).
– это раствор контактов, в метрах
–это ширина токоведущей контактной детали (ширина подвижного контакта), в метрах
Зная величины напряжённостей магнитного поля
и
можно определить напряжённость магнитного поля
, которую должна создать система магнитного дутья при номинальном токе
. Полученное значение
должно быть использовано для расчётов параметров системы магнитного дутья. Однако необходимо выполнить сопоставление перед расчётом параметров системы магнитного дутья. При достаточно больших
может оказаться, что напряжённость магнитного поля
уже достаточно велика и может примерно достигать значений требуемой напряжённости
. Если
находится в пределах
, то необходимость в использовании системы магнитного дутья отпадает, в этом случае условно принимают, что
и для аппарата можно использовать щелевую камеру без катушки магнитного дутья. Если величина
находится в пределах:
, то в практических расчётах
не используется, т.е.
, и считают, что необходимую величину напряжённости магнитного поля должна создать система магнитного дутья. Если значения
находятся в пределах
, то в расчётах учитывают обе составляющие напряжённости магнитного поля. В этом случае, расчёт параметров электромагнитной системы магнитного дутья выполняют на величину напряжённости магнитного поля, полученную по формуле:
, для номинального тока, а затем для всего диапазона отключаемых токов.
16.11.1 Порядок расчёта электромагнитной системы магнитного дутья
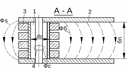
1 – сердечник; 2 – полюс системы магнитного дутья; 3 – катушка магнитного дутья 4 – изоляционная трубка.
Рисунок 1.43 – Эскиз системы магнитного дутья
1 С учётом указанных рекомендаций определяется необходимая напряжённость магнитного поля Нб для номинального тока. С целью упрощения расчётов будем считать, что собственная проводимость поля Нс в данном случае очень мала и ей можно пренебречь Нс ≈ 0 .
2 Выбирается материал магнитопровода для сердечника и пластин полюсов с учётом имеющихся рекомендаций. Следовательно, для данного материала будет известна кривая намагничивания .
3 По нижнему значению величины Нб для номинального тока определяется число витков катушки магнитного дутья.
Число витков катушки:















