144043 (598795), страница 4
Текст из файла (страница 4)
Напряжения в элементе конструкции при действии динамической нагрузки состоят из напряжения от статической нагрузки, включая собственный вес элемента, сложенного с динамическим напряжением вызванным вибрацией:
В этом случае учитываются только те динамические напряжения, которые имеют одинаковый знак с напряжениями от статической нагрузки. Например, если рассматривается изгибаемая балка, то к напряжениям от статической нагрузки прибавляются напряжения, вызываемые динамической нагрузкой, при деформации балки в сторону статического прогиба.
Для определения
необходимо вычислить инерционную силу, действующую на исследуемый элемент. Инерционная сила равна массе, умноженной на ускорение:
.
Ускорение можно измерить акселерометром или получить из виброграммы, пользуясь формулой:
,
где
- период колебания;
- наибольшая амплитуда;
- ускорение элемента конструкции. Отсюда
Отсюда
,
где
- частота колебаний элемента.
Во всех точках, где требуется определить ускорение, надо установить акселерометры, вибрографы, динамические прогибомеры или прогибомеры с проволочными датчиками и записать виброграммы или осциллограммы.
При действии на элемент осевой силы динамическое напряжение
.
В случае действия на балку на двух шарнирных опорах сосредоточенной силы
, приложенной в середине пролета, динамическое напряжение равно:
.
Если вибрирует балка на двух шарнирных опорах под действием собственного веса и равномерно распределенной нагрузки, то динамическое напряжение можно вычислить по формуле:
.
где
- масса, приходящаяся на единицу длины балки;
- ускорение, определенное на середине пролета балки.
При вибрации балки, несущей равномерно распределенную нагрузку и сосредоточенный груз посередине пролета, динамическое напряжение найдется по формуле
/
Когда вибрирующая балка несет сложную нагрузку, состоящую из ряда сосредоточенных сил и сплошных неравномерных нагрузок, теоретическое вычисление приведенной массы которых представляет некоторые затруднения, рекомендуется следующий прием. Балка вместе с приходящейся на нее нагрузкой разбивается на ряд участков, в пределах которых просто вычислить величины масс
каждого участка. В центрах каждого участка устанавливаются акселерометры, вибрографы или прогибомеры с петлевыми тензорезисторами и записываются осциллограммы или виброграммы, по которым определяются ускорения
. Перемножив массы на соответствующие ускорения, находят инерционные силы
, действующие в каждом участке балки. Зная величины инерционных сил и точки их приложения, принимаемые в центрах отдельных участков, можно вычислить изгибающие моменты, действующие на балку, и определить динамические напряжения в любом сечении по ее пролету.
Определение напряжений в конструкции от динамической нагрузки можно также произвести с помощью петлевых тензорезисторов, наклеенных в тех местах, где необходимо найти эти напряжения, и просуммировать их с напряжениями от статической нагрузки. При таком определении напряжений надо знать величину модуля упругости материала конструкции.
Вибрационные колебания конструкции непрерывно меняют величину суммарного напряжения. В большинстве случаев знаки напряжений остаются постоянными, так как напряжения от статической нагрузки превалируют над напряжениями от динамической нагрузки. Однако возможны случаи, когда суммы напряжений от статической и динамической нагрузок будут переходить через нуль и напряжения станут знакопеременными. В том и другом случаях возможно возникновение усталости материала, причем во втором случае, когда имеются знакопеременные напряжения, явление усталости проявляется в большей степени, чем в первом.
Для возникновения усталости материала необходимо большое число циклов изменений напряжений, исчисляемое сотнями тысяч и миллионами.
4. ЛАБОРАТОРНАЯ РАБОТА. "ДИНАМИЧЕСКОЕ ИСПЫТАНИЕ СТАЛЬНОЙ БАЛКИ. ОПРЕДЕЛЕНИЕ ПОГРЕШНОСТИ РЕЗУЛЬТАТОВ ИСПЫТАНИЙ"
4.1. Виброизмерительные приборы
-
Сведения о теории и классификация приборов
Динамические испытания строительных конструкций отличаются от статических тем, что величина и направление нагрузки не остаются постоянными на этапах загружения, они сравнительно быстро изменяются во времени и вызывают линейные и угловые перемещения.
Параметрами линейной вибрации являются; перемещения, скорость, ускорения и резкость (первая производная от ускорения).
К параметрам угловой вибрации относятся: угол поворота, угловая скорость, угловое ускорение, угловая резкость.
Параметрами обеих видов вибрации служат: фаза, частота и коэффициент нелинейных искажений. Для их измерения необходима внешняя неподвижная система координат, относительно которой крепятся виброизмерительные приборы, фиксирующие абсолютные перемещения. Если создание такой системы затруднительно, применяют подвижную систему отсчета и вибропреобразователи инерционного действия. Основным элементом вибропреобразователя является инерционная масса m, соединенная с корпусом прибора пружиной жесткостью к и демпфирующим элементом с коэффициентом успокоения с (рис. 2). Корпус прибора совершает колебания у вместе с исследуемой конструкцией. Масса перемещается относительно корпуса прибора на величину z, которая может быть записана на вращающемся с заданной скоростью барабане. Перемещение пружины — х. Следовательно, z = х + у.
Для определения закономерностей движения системы запишем дифференциальное уравнение движения массы m по времени t:
(14)
П
(15)
одставив значение z, получим
,
где точки над буквами обозначают дифференцирование по времени.
Для анализа работы вибропреобразователя введем в уравнение (15) следующие обозначения:
- частота собственных колебаний системы;
- коэффициент затухания.
Т
(16)
огда
. Если в приборе нет демпфирующего элемента
и частота собственных колебаний незначительная
, то
. Пренебрегая произвольными постоянными, получим
, и показания прибора будут соответствовать действительным перемещениям испытываемой конструкции. Такой прибор называется виброметром.
Инерционная масса (или сейсмомасса) при податливой пружине практически не меняет своего положения в пространстве.
Если при низкой частоте собственных колебаний
в прибор ввести хорошо гасящий колебания демпфирующий элемент, то из уравнения (16), пренебрегая первым и третьим слагаемыми, получим
, откуда
. Такой прибор служит для определения скорости колебаний и его называют виброметром скорости (вибровелосиметром).
При отсутствии демпфера и высокий частоте колебаний перемещение массы пропорционально ускорению;
и такой прибор является виброметром ускорения (виброакселерометром).
Виброизмерительные приборы можно разделить на две основные группы: контактные и дистанционные (рис.8). К контактным приборам относятся механические и оптические приборы, применяемые чаще при освидетельствовании конструкций для приближённого определения параметров колебаний (амплитуд и частот). Аналогично назначение и оптических приборов. Более точные измерения могут быть получены приборами с регистрацией показаний на специальной ленте или бумаге ручным вибрографом или вибрографом Гейгера.
Бесспорными преимуществами обладают дистанционно работающие вибропреобразователи, устанавливаемые на испытываемой конструкции (первичные приборы), сигнал которых записывается вторичными приборами, установленными на определенном расстоянии от испытываемой конструкции.
Процесс измерения динамических характеристик испытываемой конструкции обычно состоит из следующих операций:
-
преобразование измеряемой величины в другую физическую величину более удобную для измерения;
-
измерение вторичной физической величины;
-
регистрация измерений;
-
обработка результатов измерений.
4.1.2. Характеристики используемых приборов
4.1.2.1. Вибромарка
Вибромарка инженера Р.И. Аронова (рис. 7) служит для измерения вибрации с постоянной амплитудой. Принцип действия прибора основан на оптическом эффекте человеческого глаза, т. е. на слитности восприятий явлений, чередующихся быстрее 7 раз в 1 секунду. Следовательно, вибромарка применима при колебаниях с частотой 17 циклов в секунду с малой амплитудой или 8 циклов в секунду при большей амплитуде, так как при меньшем числе колебаний наблюдатель не может надёжно видеть фигуру возникающего клина. Чем больше амплитуда вибрации, тем ближе к основанию расположится остриё клина (рис. 9). Таким образом, вибромарка может быть протарирована как приспособление для измерения амплитуд.
Вибромарка вычерчивается на бумаге в виде острого угла с основанием b=5...20 мм и L=50...200 мм и наклеивается на поверхность конструкции, размах колебаний которой требуется определить. Колебания совершаются в направлении стрелок (Рис. 10). Наблюдатель может измерить расстояние l до пересечения сдвоенных треугольников, а затем определить амплитуду колебаний по формуле
(17)
.
4.1.2.2. Ручной виброграф
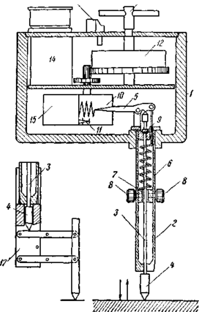
Для записи колебаний высокой частоты могут с успехом применяться ручные вибрографы. Среди них нашел большое распространение ручной виброграф марки ВР-1, который при записи виброграммы удерживается непосредственно в руках экспериментатора и не требует никакой подставки.
Виброграф (рис. 11) состоит из корпуса 1, в который запрессована трубка 2. Внутри трубки расположен стержень 3 с выступающим наружу наконечником 4. Верхний конец стержня проходит в корпус и упирается своим наконечником в рычаг 5, оттягиваемый книзу концом спиральной пружины 6, прикрепленной к поводку 7. Поводок может передвигаться вдоль трубки и закрепляться в желаемом положении двумя винтами 8. Передвигая поводок книзу, можно увеличить давление пружины на стержень. Чтобы давление пружины не вытолкнуло стержень вниз, в верхней его части, под наконечником насажена сферическая шайбочка 9, упирающаяся в соответствующее гнездо.
Н
а свободном конце рычага имеется острие, которое производит запись виброграммы путем царапания воскового слоя, покрывающего бумажную ленту 10 шириной 24 мм.
На этой же ленте рядом с виброграммой наконечник 11 (отметчик времени) делает отметку времени в виде черточек, наносимых с интервалом в 1 секунду. Лентопротяжный механизм приводится в действие часовой пружиной 12, заводимой ключом 13.
Отметчик времени может работать от собственной батареи, помещающейся в отсеке 14, или от внешнего источника электрического тока, включаемого в соответствующее штепсельное гнездо. Реле отметчика времени, и приводное устройство помещены в отсеке 15. Ручка 16 для приведения вибрографа в действие расположена на крышке корпуса.
Общие габариты прибора: 80 X 130X230 мм. Вес прибора с рычажным приспособлением равен 1.7 кг. Амплитуды колебаний от 0.05 до 1.5 мм записываются с шестикратным увеличением; амплитуды колебаний от 1, 5 до 6 мм записываются в натуральную величину или с двукратным увеличением, для чего на конец трубки надевается специальное рычажное приспособление 17, состоящее из шарнирного параллелограмма, в верхний стержень которого упирается наконечник 4.
Для записи амплитуд и марок времени следует наконечник 4 или рычажное приспособление 17 привести в соприкосновение с вибрирующим элементом конструкции, ориентировав стержень 3 по направлению колебаний исследуемого элемента, и включить виброграф, повернув ручку 16. При самом сильном натяжении пружины стержень 3 с наконечником 4 может следовать за элементом, имеющим ускорение до 20 g.
















