101026 (598127), страница 7
Текст из файла (страница 7)
1) подетальную, 2) комплектную; 3) позаказную системы планирования.
Видно, что система планирования получает название по избранной для целей планирования учетной единице (деталь, комплект, заказ). Пояснения требует комплектная система. которая в качестве планово-учетной единицы представляет комплект деталей. Различают: 1) комплектно-узловую систему— комплект состоит из деталей, входящих в один узел или даже в целое изделие: 2) комплектно-групповую систему — в группу объединяются детали различных узлов, но имеющие одинаковые КПН (сбережения выпуска, ритмы партий). Дифференциация плановых периодов в дискретных типах производства предполагает планирование до часа, а в единичном производстве — до пяти дней, смены.
ОПП состоит из двух этапов. Первый этап—это разработка оперативных планов и графиков изготовления и выпуска продукции, он называется оперативно-календарным планированием (ОКП). Второй этап связан с контролем и регулированием выполнения оперативных планов или хода производства и называется диспетчированием.
По охвату производственного процесса в пространстве ОПП делится на заводское (межцеховое) и цеховое планирование. Заводское планирование заключается в разработке, контроле и учете планов го заводу в целом и по отдельным цехам, а цеховое планирование — в составлении, учете и контроле выполнения планов по цеху в целом, отдельным участкам и бригадам вплоть до рабочих мест. Планирование осуществляется соответствующими службами заводоуправления и цехов. Этими же службами реализуются основные функции планирования, которые различаются лишь степенью детализации планов (для завода— цех, для цеха — участок, бригада, рабочее место).
В серийном производстве основной особенностью ОКП является необходимость обеспечения строгой повторяемости изготовления партий деталей, сборки узлов и изделий. Поэтому межцеховое планирование начинается с расчета КПН на основе использования постоянного значения среднерасчетного ритма r. В серийном производстве к КПН относятся:
1) размеры партий (n) и ритмов (R) запуска—выпуска партий изделий:
2) длительность производственных циклов обработки партий деталей, сборки узлов (Тц_);
3) опережение запуска (О3) и выпуска (ОВ) партий деталей;
4) размеры заделов (Н).
Расчет размеров и ритмов партий деталей. Размер партий является основой расчета КПН, от него зависят величины всех остальных нормативов, в частности: 1) величина нормативной длительности производственного цикла и календарных опережений в работе последовательных производственных звеньев; 2) сроки запуска деталей в обработку, их выпуска и комплектования перед сборкой, которые используются при построении календарных планов; 3) величина нормативного среднего уровня незавершенного производства и величины переходящих заделов на конец планового периода.
Рассмотренный подход к определению п основан на учете составляющих затрат в денежной форме. В то же время большой интерес для операционных менеджеров представляет влияние временных затрат на величину размера партии. Это связано с тем, что в настоящее время большинство предприятий, диверсифицируя портфель заказов, стремится работать небольшими размерами партии. Однако стремление работать небольшими партиями встречает ограничение, связанное с возрастанием совокупной длительности производственного цикла изготовления изделия, в основе которого лежит рост суммарных затрат на переналадку оборудования.
Как осуществляется расчет длительности производственного цикла
Расчет длительности производственного цикла обработки партий деталей, сборки узлов. Знать величину Тц в серийном производстве необходимо для определения размеров НЗП, для расчета опережений и сроков запуска—выпуска партий деталей. Расчет Тц можно проводить аналитически, графически и графо-аналитически (для сборочных процессов).
Аналитический метод
За основу берется расчет, который соответствует последовательной обработке партий деталей на технологических операциях:
где n — размер партии;
Коп— количество операций;
tшкj— штучно-калькуляционное время на j-операции;
Рвыпj— процент выполнения норм времени;
qpmj— число рабочих мест на операции;
tмо— межоперационное время;
te— время естественных процессов (сушка, старение и т. д.).
Штучно-калькуляционное время (tшк) состоит из нормы времени обработки одной штуки и нормы подготовительно-заключительного времени, приходящегося на партию в целом, отнесенного к эазмеру партии. Штучно-калькуляционное время задается таблично или, при отсутствии табличных данных, расчет tшк ведется на основе установленного процента времени на подготовительно-заключительные действия (Рпз) от нормы штучного времени (tшк).
Межоперационное время tмо складывается из времени транспортировки tтр, контроля t кон и пролеживания t прол
Обычно Тсм и Ксм— величины постоянные, а количество мест qpm на каждой операции равно единице.
Рис. 3. График Тц для последовательной обработки партии деталей по операциям
В том случае, когда операции выполняются параллельно, с различной степенью перекрытия, в выражение добавляется коэффициент параллельности f равный 0,3—0,9. Тогда расчетное выражение примет вид:
Из всех составляющих длительности производственного цикла наибольшую сложность составляет определение t мо. Значение остальных составляюших определяется сравнительно легко.
Литература:
Козловский В.А. и др. Производственный и операционный менеджмент.
Учебник – СПб: «Специальная Литература», 1998. с. 276
6. Управление проектами
Планирование, расписание и контроллинг проектов
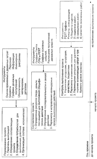
Управление большими проектами включает три фазы: 1) планирование; 2) составление расписания; 3) контроль.
Проектная организация работает успешно, когда:
— определен результат работы и продолжительность ее выполнения;
— работа нова и в каком-то смысле незнакома для существующей организации;
— работа объединяет комплекс взаимосвязанных задач, требующих для их решения знаний специалистов;
— проект временный, но требует организации его выполнения.
Пример упрощенной проектной организации успешной фирмы показан на рис. 2. Состав исполнителей проекта временно назначается для ведения проекта и доводится до сведения управляющего проектом. Менеджер, возглавляющий проект, коорди-
Рис. 2. Типовая проектная организация
Одним из популярных приемов составления расписаний проектов являются графики Гантта (названные по имени Генри Гантта). Графики Гантта отражают временные оценки и могут быть легко понимаемы.
Можно сказать: какой бы подход при планировании ни использовал управляющий проекгом, расписание проекта служит нескольким целям:
1. Оно устанавливает связи каждой работы с другими работами и проектом в целом.
2. Оно идентифицирует последовательность связей среди работ.
3. Оно способствует установлению реалистических временных и денежных оценок для каждой работы.
4. Оно помогает улучшать использование людских, денежных и материальных ресурсов посредством выявления «узких мест» проекта.
Контроль большего проекта, как контроль любой управляемой системы, включает непосредвственное и быстрое управление ресурсами, денежными затратами, качеством и бюджетом. Контроль также означает использование обратной связи для оценки состояния выполнения плана и для того, чтобы перемещать ресурсы туда, где они наиболее нужны. Компьютеризация сообщений и графиков сегодня широко доступны в связи с использованием компьютеров.
Эти программы позволяют получать различные сообщения о проекте, включая:
1) детальные денежные затраты, необходигшыедля решения каждой отдельной задачи,
2) кривые, обобщающие затраты труда на программу,
3) таблицы распределения затграт,
4) функциональные затраты и почасовые затраты,
5) сырье и прогноз потребности в нем,
6) сообщения о возможных вариантах решений,
7) сообщение об анализе временных характеристик проекта,
8) сообщение о состоянии выполнения работ проекта.
Техника управления проектами РЕRТ и СРМ
Метод программы развития и обзора (РЕRТ) и метод критического пути (СРМ) были разработаны в 1950-х годах, чтобы помочь менеджерам составлять расписания, управлять и контролировать большие и сложные проекты. СРМ появился первым в 1957 году, чтобы помочь в строительстве и ремонте химических заводов Дю Пона. РЕRТ разрабатывался независимо в 1958 году военно-морским флотом и использовался в управлении крупными проектами.
Структура РЕRТ и СРМ. Шесть шагов, обычные для обоих методов. Процедура следующая.
1. Определить проект и все его основные работы или задачи.
2. Установить все связи между работами. Определить, какие работы должны предшествовать и какие должны следовать за рассматриваемыми работами.
3. Вычертить сеть, содержащую все работы.
4. Определить время и(или) денежные затраты, относящиеся к каждой работе.
5. Рассчитать самый длинный путь на сети от начала исполнения проекта до его окончания (он называется критическим путем).
6. Использовать сеть для реализации плана, расписания выполнения работ, управления и контроля за развитием проекта.
Шаг 5 — нахождение критического пути — является важнейшей частью контролирования проекта. Работы на критическом пути представляют задачи, задержка в решении которых приводит к задержке выполнения проекта. Менеджеры пользуются гибкостью управления проектом с помощью работ, лежащих на некритических путях, которые допускают в известных пределах возможность осуществлять изменения в планировании, расписании выполнения работ и перераспределении людских и денежных ресурсов.
Хотя РЕRТ и СРМ несколько различаются по терминологии и в построении сети, их цели одинаковы. Более того, анализ, используемый б обоих методах, очень схож. Главное различие состоит в том, что РЕRТ использует три временных оценки для каждой работы. Продолжительность работ имеет случайный характер, что, в свою очередь, требует расчета числовых характеристик в виде математического ожидания и дисперсии для временной оценки каждой работы. СРМ имеет допущение, что времена работ определенно известны, и поэтому только один временной параметр характеризует каждую работу.
РЕRТ, РЕRТ/Соst и СРМ чрезвычайно важны, поскольку они могут помочь ответить на вопросы о проекте, состоящем из тысяч работ:
1. Когда будет завершен проект в целом?
2. Какие работы или задачи являются критическими в проекте? Те. задержка в выполнении которых определяет задержку в выполнении проекта в целом.
3. Какие работы не являются критическими? Те, которые могут протекать медленнее, без задержки завершения проекта в целом .
4. Какова вероятность того, что проект будет завершен к конкретной дате?
5. Относительно любой даты можно получить ответ: исполняется проект в соответствии с расписанием, отстает от расписания или опережает расписание?
6. На любую дату можно получить ответ: расходуются ли деньги в соответствии со сметой на проект, затрачено меньше предусмотренных средств или затраты превосходят то, что предусмотрено системой?
7. Достаточно ли ресурсов, чтобы закончить проект вовремя?
8. Если проект должен быть закончен в более короткий срок. каким является путь, обеспечивающий его завершение с наименьшими затратами?
Существенное различие между РЕRТ и СРМ заключается в использовании трех временных оценок для каждой работы в методе РЕRТ и только одной временной оценки для каждой работы в СРМ.
Для каждой работы в РЕRТ мы должны определить оптимистическое, наиболее вероятное и пессимистическое время ее выполнения. Затем мы используем три временных оценки для расчета ожидаемого времени свершения работы и величины отклонения от ожидаемого времени продолжительности каждой работы.
















