163611 (595505), страница 10
Текст из файла (страница 10)
Ставку дисконта можно рассчитать по формуле:
где:
R – требуемая инвестором ставка дохода (на собственный капитал);
Rf = 13 (безрисковая ставка дохода);
β=1 - коэффициент бета (отраслевой);
Rm – общая доходность рынка в целом;
S1 – премия для вложения денег в малое предприятие;
S2 – премия для вложения денег в большое предприятие.
С – страновой риск
Можно рассчитать методом кумулятивного построения.
| Расчет ставки дисконта для определения стоимости бизнеса (Экспертная оценка величины премии за риск, связанный с инвестированием в конкретную компанию) | |
| Вид риска | Величина премии, % |
| Безрисковая ставка | 13 |
| Качество управления | 2 |
| Финансовая структура | 2 |
| Размер предприятия | 1 |
| Территориальная диверсификация | 1 |
| Дивесифицированность клиентуры | 1 |
| Уровень и прогнозируемость прибыли | 6 |
| Прочие риски | 2 |
| Итого, ставка дисконта | 28 |
Расчет текущих стоимостей будущих денежных потоков
и стоимости в постпрогнозный период.
| Показатель | 1кв 2003 | 2кв 2003 | 3кв 2003 | 4кв 2003 | 1кв 2004 | 2кв 2004 |
| Денежный поток | 330,08 | 407,35 | 483,55 | 585,2 | 667,16 | 733,6 |
| Коэффициент текущей стоимости при заданной ставке дисконта | 0,9346 | 0,8734 | 0,8163 | 0,7629 | 0,7130 | 0,6663 |
| Текущая стоимость денежных потоков | 308,49 | 355,78 | 394,72 | 446,45 | 475,69 | 488,80 |
| Сумма текущих стоимостей денежных потоков | 2469,93 | |||||
| Выручка от продажи фирмы в конце последнего прогнозного года |
| |||||
| Текущая стоимость выручки от продажи фирмы | 4,08*0,6663= 2,72 | |||||
| Рыночная стоимость собственного капитала фирмы | 2469,93 + 2,72 = 2472,65 | |||||
Заключение
о величине стоимости предприятия, исчисленной в рамках доходного подхода
Рыночная стоимость предприятия, исчисленная в рамках доходного подхода, составляет 2 472 600 руб
2.6 З А К Л Ю Ч Е Н И Е
об итоговой величине стоимости объекта оценки «Предприятие А»:
Итоговая таблица результатов оценки по трем подходам:
| Наименование | Стоимость по | Стоимость | Стоимость | Утилиза- | Рыночная |
| «Предприятие А» | 1 322 300 руб | 2 472 600 - | руб | Не рассчитывалась | 2 012 500 руб |
| Весовой коэффициент | 0,4 | 0,6 | 0 | 1,0 |
Рыночная стоимость объекта оценки «Предприятие А»
по состоянию на 23.03.03г
составляет _ _ _ _ _ 2 012 500_ _ _ _ _ _руб
(Два миллиона двенадцать тысяч пятьсот рублей)
в том числе НДС 20% _ _ 335 417_ _ _ _ руб
Сведения, являющиеся, по мнению оценщика, существенно важными:
Ограничения и пределы применения полученного результата.
В процессе оценки специальная юридическая экспертиза документов, касающихся прав собственности на оцениваемое имущество, не проводится. Оценщик не несет ответственности за юридическое описание прав оцениваемой собственности или за вопросы, связанные с рассмотрением прав собственности. Право оцениваемой собственности считается достоверным.
Техническое описание состояния объектов составлено по данным наружного осмотра, Оценщик не несет ответственности за дефекты имущества, которые невозможно обнаружить иным путем, кроме как путем визуального осмотра, либо изучения предоставленной документации или другой информации.
оценщик =Недоростков М.И.=
Список использованной литературы
-
Личный Конспект занятий по предметам обучения.
-
Учебник «Оценка бизнеса», А.Г. Грязнова, М.А.Федотова, изд. Финансы и статистика, г. Москва, 2002г.,508стр.
-
Учебник «Оценка недвижимости», А.Г. Грязнова, М.А. Федотова, изд. Финансы и статистика, г. Москва, 2003г.,493стр.
-
Учебник для ВУЗов «Оценка бизнеса», В Есипов, Г. Маховикова, В. Терехов, изд. Санкт-Петербург, 2001г., 415стр
-
«Оценка рыночной стоимости машин и оборудования», учебно-практическое пособие, Коллектив авторов под общей редакцией Назарова О.С. и Третьякова Э.А., изд. «Дело», г. Москва, 1998г
-
Методическое Руководство по определению стоимости автотранспортных средств с учетом естественного износа и технического состоянию на момент предъявления, РД-37.009.015-98 с изменениями №1, №2, №3, изд. Москва, 2001г
-
Методическое руководство для экспертов «Определение стоимости, затрат на восстановление и утраты товарной стоимости автомототранспортных средств», изд. г. Санк-Петербург 2001г, Российский Федеральный Центр Судебной Экспертизы (РФЦСЭ), 2001г, 62стр
-
Федеральный Закон от 29.07.98 N 135-ФЗ" Об оценочной деятельности в Российской Федерации", "Собрание законодательства РФ", 03.08.98, N 31, ст. 3813 с изменениями и дополнениями № 143-ФЗ от 14.11.2002г
-
Гражданский Кодекс РФ, часть первая, часть вторая, изд. ТД «Герда», Москва,98г.
-
Налоговый Кодекс РФ, часть I и часть II,
-
Постановление Правительства РФ от 6 июля 2001 г. № 519 "Об утверждении стандартов оценки", изд. Москва,2001г
-
ГОСТ 25478-91 Автотранспортные средства. Требования к техническому состоянию по условиям безопасности движения. Методы проверки.: Госстандарт России, 1995г, 36с.
-
«Международные стандарты оценки», книга 1. Г.И. Микерин, М.И. Недужий, Н.В. Павлов, Н.Н. Яшина. Книга подготовлена и выпущена в рамках совместного проекта Государственного университета управления и Национального фонда подготовки финансовых и управленческих кадров. Москва,: ОАО "Типография "Новости", 2000. - 264 с.
-
Рынок и оценка недвижимости, Новиков Б.Д., изд. Москва, 2000г, 510 стр.
-
«Введение в оценку транспортных средств», Ю.В. Андрианов, изд. Москва,1996г
-
Общая теория статистики, И.И. Елисеева, М.М. Юзбашев, изд. «Финансы и статистика», г. Москва, 2002г.
-
«Определение рыночной цены товара» В.Г. Рольгайзер, судья Федерального арбитражного суда Западно-Сибирского округа, «Арбитражная налоговая практика», 2001, № 3.
-
Руководство по чтению отчетов по оценке бизнеса для непрофессионалов, Филип Д. Пардо, МБА, АМ и Джеймс С. Ригби, Мл., ДГБ, МБА, АОО, http://www.appraiser.ru/info/method/BusinessValuation120900_rus.rtf от 26.07.2001г
-
Систематика оценочной деятельности, основные понятия, классификации и система показателей, Трейер В.В., Фадеев П.В. http://www.appraiser.ru от 06.12.01г
-
История городов Прикамья «Нытва – уголок России», изд. ООО Раритет-Пермь, 2002г. 240стр., ил.
-
Справочник Административно-территориального деления РСФСР по состоянию на 01.07.68 года, изд Известия Совета Народных Депутатов Трудящихся СССР, Москва, 1968г, 497стр.
Приложение № 1
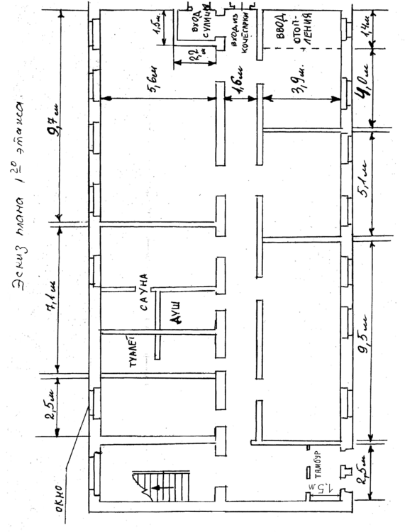
Рис.1 Эскиз плана первого этажа здания.
рис.2 Эскиз плана второго этажа здания.
Приложение № 7
ЗАКЛЮЧЕНИЕ ПО АНАЛИЗУ ФИНАНСОВОГО СОСТОЯНИЯ ПРЕДПРИЯТИЯ
Предприятие: ~AEMacro(Company{ООО "Предприятие А"})
~AEMacro(Settings{266,275, 0,Период анализа: с 1кв. 2002г. по 4кв. 2002г.
Валюта: руб.})
Финансовое состояние является важнейшей характеристикой деловой активности и надежности предприятия. Оно определяется имеющимся в распоряжении предприятия имуществом и источниками его финансирования, а также финансовыми результатами деятельности предприятия.
Баланс (Абсолютные значения)
| Наименование статей баланса | ~AEMacro(Period(first){1кв. 2002г.}), ~AEMacro(Currency{ руб.}) | ~AEMacro(Period(last){4кв. 2002г.}), ~AEMacro(Currency{ руб.}) | Прирост, ~AEMacro(Currency{ руб.}) | Прирост, % |
| ~AEMacro(TitleRow(B,1){Текущие активы:}) | ~AEMacro(Cell(B,1,first){32 027,00}) | ~AEMacro(Cell(B,1,last){335 763,00}) | ~AEMacro(CellDelta(B,1,first,B,1,last){303 736,00}) | ~AEMacro(IfCellDelta(B,1,first,<>,B,1,last,B,1,first,B,1,last,%){948,37}) |
| ~AEMacro(TitleRow(B,2){ Денежные средства}) | ~AEMacro(Cell(B,2,first){6 501,00}) | ~AEMacro(Cell(B,2,last){11 870,00}) | ~AEMacro(CellDelta(B,2,first,B,2,last){5 369,00}) | ~AEMacro(IfCellDelta(B,2,first,<>,B,2,last,B,2,first,B,2,last,%){82,59}) |
| ~AEMacro(TitleRow(B,3){ Краткосрочные инвестиции}) | ~AEMacro(Cell(B,3,first){0,00}) | ~AEMacro(Cell(B,3,last){0,00}) | ~AEMacro(CellDelta(B,3,first,B,3,last){0,00}) | ~AEMacro(IfCellDelta(B,3,first,<>,B,3,last,B,3,first,B,3,last,%){86,15}) |
| ~AEMacro(TitleRow(B,4){ Краткосрочная дебиторская задолженность:}) | ~AEMacro(Cell(B,4,first){24 729,00}) | ~AEMacro(Cell(B,4,last){124 408,00}) | ~AEMacro(CellDelta(B,4,first,B,4,last){99 679,00}) | ~AEMacro(IfCellDelta(B,4,first,<>,B,4,last,B,4,first,B,4,last,%){403,09}) |
| ~AEMacro(TitleRow(B,5){ Счета и векселя к получению}) | ~AEMacro(Cell(B,5,first){11 230,00}) | ~AEMacro(Cell(B,5,last){57 999,00}) | ~AEMacro(CellDelta(B,5,first,B,5,last){46 769,00}) | ~AEMacro(IfCellDelta(B,5,first,<>,B,5,last,B,5,first,B,5,last,%){416,46}) |
| ~AEMacro(TitleRow(B,6){ Межфирменная дебиторская задолженность}) | ~AEMacro(Cell(B,6,first){0,00}) | ~AEMacro(Cell(B,6,last){0,00}) | ~AEMacro(CellDelta(B,6,first,B,6,last){0,00}) | ~AEMacro(IfCellDelta(B,6,first,<>,B,6,last,B,6,first,B,6,last,%){9,12}) |
| ~AEMacro(TitleRow(B,7){ Прочая дебиторская задолженность}) | ~AEMacro(Cell(B,7,first){13 499,00}) | ~AEMacro(Cell(B,7,last){66 409,00}) | ~AEMacro(CellDelta(B,7,first,B,7,last){52 910,00}) | ~AEMacro(IfCellDelta(B,7,first,<>,B,7,last,B,7,first,B,7,last,%){391,95}) |
| ~AEMacro(TitleRow(B,8){ Долгосрочная дебиторская задолженность}) | ~AEMacro(Cell(B,8,first){0,00}) | ~AEMacro(Cell(B,8,last){0,00}) | ~AEMacro(CellDelta(B,8,first,B,8,last){0,00}) | ~AEMacro(IfCellDelta(B,8,first,<>,B,8,last,B,8,first,B,8,last,%){295,07}) |
| ~AEMacro(TitleRow(B,9){ Товарно-материальные запасы:}) | ~AEMacro(Cell(B,9,first){0,00}) | ~AEMacro(Cell(B,9,last){198 750,00}) | ~AEMacro(CellDelta(B,9,first,B,9,last){198 750,00}) | ~AEMacro(IfCellDelta(B,9,first,<>,B,9,last,B,9,first,B,9,last,%){0,00}) |
| ~AEMacro(TitleRow(B,10){ Сырье, материалы и комплектующие}) | ~AEMacro(Cell(B,10,first){0,00}) | ~AEMacro(Cell(B,10,last){66,00}) | ~AEMacro(CellDelta(B,10,first,B,10,last){66,00}) | ~AEMacro(IfCellDelta(B,10,first,<>,B,10,last,B,10,first,B,10,last,%){0,00}) |
| ~AEMacro(TitleRow(B,11){ Незавершенное производство}) | ~AEMacro(Cell(B,11,first){0,00}) | ~AEMacro(Cell(B,11,last){654,00}) | ~AEMacro(CellDelta(B,11,first,B,11,last){654,00}) | ~AEMacro(IfCellDelta(B,11,first,<>,B,11,last,B,11,first,B,11,last,%){0,00}) |
| ~AEMacro(TitleRow(B,12){ Готовая продукция}) | ~AEMacro(Cell(B,12,first){0,00}) | ~AEMacro(Cell(B,12,last){198 030,00}) | ~AEMacro(CellDelta(B,12,first,B,12,last){198 030,00}) | ~AEMacro(IfCellDelta(B,12,first,<>,B,12,last,B,12,first,B,12,last,%){0,00}) |
| ~AEMacro(TitleRow(B,13){ Прочие запасы}) | ~AEMacro(Cell(B,13,first){0,00}) | ~AEMacro(Cell(B,13,last){0,00}) | ~AEMacro(CellDelta(B,13,first,B,13,last){0,00}) | ~AEMacro(IfCellDelta(B,13,first,<>,B,13,last,B,13,first,B,13,last,%){9,12}) |
| ~AEMacro(TitleRow(B,14){ Расходы будущих периодов}) | ~AEMacro(Cell(B,14,first){797,00}) | ~AEMacro(Cell(B,14,last){735,00}) | ~AEMacro(CellDelta(B,14,first,B,14,last){-62,00}) | ~AEMacro(IfCellDelta(B,14,first,<>,B,14,last,B,14,first,B,14,last,%){-7,78}) |
| ~AEMacro(TitleRow(B,15){ Прочие текущие активы}) | ~AEMacro(Cell(B,15,first){0,00}) | ~AEMacro(Cell(B,15,last){0,00}) | ~AEMacro(CellDelta(B,15,first,B,15,last){0,00}) | ~AEMacro(IfCellDelta(B,15,first,<>,B,15,last,B,15,first,B,15,last,%){9,12}) |
| ~AEMacro(TitleRow(B,16){Долгосрочные активы:}) | ~AEMacro(Cell(B,16,first){67 384,00}) | ~AEMacro(Cell(B,16,last){100 330,00}) | ~AEMacro(CellDelta(B,16,first,B,16,last){32 946,00}) | ~AEMacro(IfCellDelta(B,16,first,<>,B,16,last,B,16,first,B,16,last,%){48,89}) |
| ~AEMacro(TitleRow(B,17){ Земля, здания и оборудование}) | ~AEMacro(Cell(B,17,first){31 128,00}) | ~AEMacro(Cell(B,17,last){52 276,00}) | ~AEMacro(CellDelta(B,17,first,B,17,last){21 148,00}) | ~AEMacro(IfCellDelta(B,17,first,<>,B,17,last,B,17,first,B,17,last,%){67,94}) |
| ~AEMacro(TitleRow(B,18){ Нематериальные активы}) | ~AEMacro(Cell(B,18,first){0,00}) | ~AEMacro(Cell(B,18,last){0,00}) | ~AEMacro(CellDelta(B,18,first,B,18,last){0,00}) | ~AEMacro(IfCellDelta(B,18,first,<>,B,18,last,B,18,first,B,18,last,%){3,51}) |
| ~AEMacro(TitleRow(B,19){ Долгосрочные инвестиции}) | ~AEMacro(Cell(B,19,first){0,00}) | ~AEMacro(Cell(B,19,last){0,00}) | ~AEMacro(CellDelta(B,19,first,B,19,last){0,00}) | ~AEMacro(IfCellDelta(B,19,first,<>,B,19,last,B,19,first,B,19,last,%){34,56}) |
| ~AEMacro(TitleRow(B,20){ Незавершенные инвестиции}) | ~AEMacro(Cell(B,20,first){36 256,00}) | ~AEMacro(Cell(B,20,last){48 054,00}) | ~AEMacro(CellDelta(B,20,first,B,20,last){11 798,00}) | ~AEMacro(IfCellDelta(B,20,first,<>,B,20,last,B,20,first,B,20,last,%){32,54}) |
| ~AEMacro(TitleRow(B,21){ Прочие долгосрочные активы}) | ~AEMacro(Cell(B,21,first){0,00}) | ~AEMacro(Cell(B,21,last){0,00}) | ~AEMacro(CellDelta(B,21,first,B,21,last){0,00}) | ~AEMacro(IfCellDelta(B,21,first,<>,B,21,last,B,21,first,B,21,last,%){9,12}) |
| ~AEMacro(TitleRow(B,22){СУММАРНЫЙ АКТИВ}) | ~AEMacro(Cell(B,22,first){99 411,00}) | ~AEMacro(Cell(B,22,last){436 093,00}) | ~AEMacro(CellDelta(B,22,first,B,22,last){336 682,00}) | ~AEMacro(IfCellDelta(B,22,first,<>,B,22,last,B,22,first,B,22,last,%){338,68}) |
| ~AEMacro(TitleRow(B,23){Текущие обязательства:}) | ~AEMacro(Cell(B,23,first){123 567,00}) | ~AEMacro(Cell(B,23,last){463 563,00}) | ~AEMacro(CellDelta(B,23,first,B,23,last){339 996,00}) | ~AEMacro(IfCellDelta(B,23,first,<>,B,23,last,B,23,first,B,23,last,%){275,15}) |
| ~AEMacro(TitleRow(B,24){ Краткосрочные займы}) | ~AEMacro(Cell(B,24,first){84 000,00}) | ~AEMacro(Cell(B,24,last){40 077,00}) | ~AEMacro(CellDelta(B,24,first,B,24,last){-43 923,00}) | ~AEMacro(IfCellDelta(B,24,first,<>,B,24,last,B,24,first,B,24,last,%){-52,29}) |
| ~AEMacro(TitleRow(B,25){ Кредиторская задолженность:}) | ~AEMacro(Cell(B,25,first){39 567,00}) | ~AEMacro(Cell(B,25,last){423 486,00}) | ~AEMacro(CellDelta(B,25,first,B,25,last){383 919,00}) | ~AEMacro(IfCellDelta(B,25,first,<>,B,25,last,B,25,first,B,25,last,%){970,30}) |
| ~AEMacro(TitleRow(B,26){ Счета и векселя к оплате}) | ~AEMacro(Cell(B,26,first){33 859,00}) | ~AEMacro(Cell(B,26,last){399 614,00}) | ~AEMacro(CellDelta(B,26,first,B,26,last){365 755,00}) | ~AEMacro(IfCellDelta(B,26,first,<>,B,26,last,B,26,first,B,26,last,%){1 080,23}) |
| ~AEMacro(TitleRow(B,27){ Налоги к уплате}) | ~AEMacro(Cell(B,27,first){1 193,00}) | ~AEMacro(Cell(B,27,last){11 044,00}) | ~AEMacro(CellDelta(B,27,first,B,27,last){9 851,00}) | ~AEMacro(IfCellDelta(B,27,first,<>,B,27,last,B,27,first,B,27,last,%){825,73}) |
| ~AEMacro(TitleRow(B,28){ Межфирменная кредиторская задолженность}) | ~AEMacro(Cell(B,28,first){0,00}) | ~AEMacro(Cell(B,28,last){0,00}) | ~AEMacro(CellDelta(B,28,first,B,28,last){0,00}) | ~AEMacro(IfCellDelta(B,28,first,<>,B,28,last,B,28,first,B,28,last,%){9,12}) |
| ~AEMacro(TitleRow(B,29){ Полученные авансы}) | ~AEMacro(Cell(B,29,first){0,00}) | ~AEMacro(Cell(B,29,last){0,00}) | ~AEMacro(CellDelta(B,29,first,B,29,last){0,00}) | ~AEMacro(IfCellDelta(B,29,first,<>,B,29,last,B,29,first,B,29,last,%){530,61}) |
| ~AEMacro(TitleRow(B,30){ Дивиденды к выплате}) | ~AEMacro(Cell(B,30,first){0,00}) | ~AEMacro(Cell(B,30,last){0,00}) | ~AEMacro(CellDelta(B,30,first,B,30,last){0,00}) | ~AEMacro(IfCellDelta(B,30,first,<>,B,30,last,B,30,first,B,30,last,%){-12,17}) |
| ~AEMacro(TitleRow(B,31){ Прочая кредиторская задолженность}) | ~AEMacro(Cell(B,31,first){4 515,00}) | ~AEMacro(Cell(B,31,last){12 828,00}) | ~AEMacro(CellDelta(B,31,first,B,31,last){8 313,00}) | ~AEMacro(IfCellDelta(B,31,first,<>,B,31,last,B,31,first,B,31,last,%){184,12}) |
| ~AEMacro(TitleRow(B,32){ Доходы будущих периодов}) | ~AEMacro(Cell(B,32,first){0,00}) | ~AEMacro(Cell(B,32,last){0,00}) | ~AEMacro(CellDelta(B,32,first,B,32,last){0,00}) | ~AEMacro(IfCellDelta(B,32,first,<>,B,32,last,B,32,first,B,32,last,%){9,31}) |
| ~AEMacro(TitleRow(B,33){ Резервы предстоящих расходов и платежей}) | ~AEMacro(Cell(B,33,first){0,00}) | ~AEMacro(Cell(B,33,last){0,00}) | ~AEMacro(CellDelta(B,33,first,B,33,last){0,00}) | ~AEMacro(IfCellDelta(B,33,first,<>,B,33,last,B,33,first,B,33,last,%){-100,00}) |
| ~AEMacro(TitleRow(B,34){ Прочие текущие обязательства}) | ~AEMacro(Cell(B,34,first){0,00}) | ~AEMacro(Cell(B,34,last){0,00}) | ~AEMacro(CellDelta(B,34,first,B,34,last){0,00}) | ~AEMacro(IfCellDelta(B,34,first,<>,B,34,last,B,34,first,B,34,last,%){9,12}) |
| ~AEMacro(TitleRow(B,35){Долгосрочные обязательства:}) | ~AEMacro(Cell(B,35,first){0,00}) | ~AEMacro(Cell(B,35,last){0,00}) | ~AEMacro(CellDelta(B,35,first,B,35,last){0,00}) | ~AEMacro(IfCellDelta(B,35,first,<>,B,35,last,B,35,first,B,35,last,%){0,00}) |
| ~AEMacro(TitleRow(B,36){ Долгосрочные займы}) | ~AEMacro(Cell(B,36,first){0,00}) | ~AEMacro(Cell(B,36,last){0,00}) | ~AEMacro(CellDelta(B,36,first,B,36,last){0,00}) | ~AEMacro(IfCellDelta(B,36,first,<>,B,36,last,B,36,first,B,36,last,%){0,00}) |
~AEMacro(TitleRow(B,37){ Прочие долгосрочные обязательства}) | ~AEMacro(Cell(B,37,first){0,00}) | ~AEMacro(Cell(B,37,last){0,00}) | ~AEMacro(CellDelta(B,37,first,B,37,last){0,00}) | ~AEMacro(IfCellDelta(B,37,first,<>,B,37,last,B,37,first,B,37,last,%){9,12}) |
| ~AEMacro(TitleRow(B,38){Собственный капитал:}) | ~AEMacro(Cell(B,38,first){-24 156,00}) | ~AEMacro(Cell(B,38,last){-27 470,00}) | ~AEMacro(CellDelta(B,38,first,B,38,last){-3 314,00}) | ~AEMacro(IfCellDelta(B,38,first,<>,B,38,last,B,38,first,B,38,last,%){-13,72}) |
| ~AEMacro(TitleRow(B,39){ Акционерный капитал}) | ~AEMacro(Cell(B,39,first){800,00}) | ~AEMacro(Cell(B,39,last){800,00}) | ~AEMacro(CellDelta(B,39,first,B,39,last){0,00}) | ~AEMacro(IfCellDelta(B,39,first,<>,B,39,last,B,39,first,B,39,last,%){0,00}) |
| ~AEMacro(TitleRow(B,40){ Резервы и фонды}) | ~AEMacro(Cell(B,40,first){0,00}) | ~AEMacro(Cell(B,40,last){0,00}) | ~AEMacro(CellDelta(B,40,first,B,40,last){0,00}) | ~AEMacro(IfCellDelta(B,40,first,<>,B,40,last,B,40,first,B,40,last,%){-5,45}) |
| ~AEMacro(TitleRow(B,41){ Добавочный капитал}) | ~AEMacro(Cell(B,41,first){0,00}) | ~AEMacro(Cell(B,41,last){0,00}) | ~AEMacro(CellDelta(B,41,first,B,41,last){0,00}) | ~AEMacro(IfCellDelta(B,41,first,<>,B,41,last,B,41,first,B,41,last,%){56,42}) |
| ~AEMacro(TitleRow(B,42){ Нераспределенная прибыль}) | ~AEMacro(Cell(B,42,first){-24 956,00}) | ~AEMacro(Cell(B,42,last){-28 270,00}) | ~AEMacro(CellDelta(B,42,first,B,42,last){-3 314,00}) | ~AEMacro(IfCellDelta(B,42,first,<>,B,42,last,B,42,first,B,42,last,%){-13,28}) |
| ~AEMacro(TitleRow(B,43){ Прочий собственный капитал}) | ~AEMacro(Cell(B,43,first){0,00}) | ~AEMacro(Cell(B,43,last){0,00}) | ~AEMacro(CellDelta(B,43,first,B,43,last){0,00}) | ~AEMacro(IfCellDelta(B,43,first,<>,B,43,last,B,43,first,B,43,last,%){8,13}) |
| ~AEMacro(TitleRow(B,44){СУММАРНЫЙ ПАССИВ}) | ~AEMacro(Cell(B,44,first){99 411,00}) | ~AEMacro(Cell(B,44,last){436 093,00}) | ~AEMacro(CellDelta(B,44,first,B,44,last){336 682,00}) | ~AEMacro(IfCellDelta(B,44,first,<>,B,44,last,B,44,first,B,44,last,%){338,68}) |
Анализ состава и структуры актива баланса
~AEMacro(If("@IF(B16,B16,ERROR,B16)",last,>,0){В структуре актива баланса на конец анализируемого периода долгосрочные активы составили }) ~AEMacro(IfCalc("@IF(B16,B16,ERROR,B16)",last,>,0,"B16/B22*100",last){23,01}) ~AEMacro(If("@IF(B16,B16,ERROR,B16)",last,>,0){%, а текущие активы - }) ~AEMacro(IfCalc("@IF(B1,B1,ERROR,B1)",last,>,0,"B1/B22*100",last){76,99}) ~AEMacro(If("@IF(B1,B1,ERROR,B1)",last,>,0){%.}) ~AEMacro(If("@IF(B22,B22,ERROR,B22)",first,<,"@IF(B22,B22,ERROR,B22)",last){















