150059 (594518), страница 7
Текст из файла (страница 7)
Рисунок 4.1 – Общий алгоритм работы системы регистрации данных
Система регистрации данных будет функционировать в двух основных режимах:
– режим записи данных;
– режим обмена с ПК.
На рисунке 4.2 приведен общий алгоритм работы системы регистрации данных в режиме записи.
В этом режиме контроллер осуществляет формирование «записей испытаний», прием данных и запись принятых данных.
При включении питания контроллер считывает таблицу записей. Если она заполнена, то контроллер устанавливает соответствующий флаг и выходит из режима записи данных. Если таблица записей не заполнена, то контроллер начинает поиск конца записи испытания. Если найденный конец записи уже занесен в таблицу записей, то ее обновление не происходит, иначе в таблицу записей дописывается найденный конец записи. После чего вычисляется адрес начала новой записи с учетом недопустимых блоков, запускается прием данных через Link и начинается запись принимаемых данных в основной накопитель.
Рисунок 4.2 – Алгоритм работы системы регистрации данных в режиме записи
Запись данных происходит параллельно в четыре банка. Перед началом записи нового блока (64 страницы) каждой микросхемы контроллер проверяет этот блок на допустимость для записи. Если блок допустим, контроллер начинает запись блока. В противном случае микроконтроллер переходит на следующий блок и производит повторную проверку. Запись данных прекращается при заполнении накопителя, либо при выключении питания.
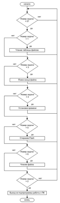
На рисунке 4.3 приведен общий алгоритм работы системы регистрации данных в режиме обмена с персональным компьютером.
В режиме работы с персональным компьютером контроллер постоянно смотрит принятые данные и в зависимости от принятой команды выполняет одну из 6 задач.
Задача 1. Чтение таблицы файлов. Контроллер читает таблицу файлов и передает ее в персональный компьютер.
Задача 2. Перейти в режим работы без персонального компьютера. Контроллер выходит из режима 2.
Задача 3. Поиск конца файла. Контроллер ищет конец файла и передает его в персональный компьютер.
Задача 4. Установка часов. Контроллер получает от персонального компьютера текущее время в двоично-десятичной системе исчисления и прописывает его в часы (через ПЛИС).
Задача 5. Стирание Flash. Контроллер стирает накопитель параллельно 4 банка начиная с первого блока (40h), т.е. стирает данные и таблицу файлов оставляя информацию о недопустимых блоках которая хранится в 0 блоке каждой микросхемы.
Задача 6. Чтение файла. Контроллер получает от персонального компьютера адрес начала файла и адрес конца файла. После этого контроллер ищет первый допустимый блок и начинает читать данные, передавая их в персональный компьютер параллельно с четырех банков по одной странице.
Рисунок 4.3 – Алгоритм работы системы регистрации данных в режиме обмена с персональным компьютером
5. ЭКОНОМИЧЕСКИЕ РАСЧЕТЫ
В данной части проекта произведем экономический расчет себестоимости встраиваемой системы регистрации входных сигналов и промежуточных результатов обработки сигналов для специализированного вычислителя. Данная система представляет собой новый, сложный прибор с большими функциональными возможностями.
Разработка новой техники и освоение её производства есть сложный многогранный процесс, трудоемкость и продолжительность которого зависит от многих факторов. Главным из них является сложность, новизна и область применения разрабатываемой техники, уровень квалификации и творческий потенциал исполнителей, участвующих в разработке, уровень развития сложных областей, в частности тех, которые обеспечивают радиопромышленность современной элементной базой и материалами.
Себестоимость продукции также является одним из важных факторов, характеризующих эффективность работы предприятия. В ней находят отражения качественные изменения в технике, технологии, организации труда и производства. Планирование себестоимости необходимо для выявления наиболее эффективных направлений капитальных вложений; определения оптимальных вариантов специализации производства на предприятии и внедрения новой техники; установления экономически оправданных границ повышения качества продукции.
5.1 Расчет прямых расходов на производство системы
5.1.1 Расчет затрат на сырье и материалы
Потребность в сырье и материалах рассчитывается в натуральном и стоимостном выражении. Материальные затраты состоят из затрат на основные и вспомогательные материалы, а также на покупные детали и полуфабрикаты.
Обобщенная формула затрат на сырье и материалы выглядит следующим образом:
, (5.1)
где Цм – цена единицы данного вида материальных ресурсов;
Нр.м – норма расхода материала; Цо – цена отходов; Но – норма отходов.
При изготовлении системы отходы малы, поэтому примем Ho = 0. Тогда формула (8.1) будет иметь вид:
. (5.2)
В таблице 5.1 приведен расчет затрат на необходимые сырье и материалы, которые используются для изготовления системы регистрации данных.
Таблица 5.1 – Расчет потребности в материалах
| Наименование | Ед. изм. | Кол- во | Цена, руб. | Сумма, руб. | Обоснование цены | Поставщик |
| Цветные металлы | ||||||
| Медный прокат: | ||||||
| Проволока ММ-0,3 | кг | 0,005 | 162,28 | 0,81 | Счет №26 от 11.01.05 | ОАО "КУЗОЦМ" |
| Припой ПОС61 | кг | 0,05 | 245,76 | 12,29 | Счет № 1492 от 26.08.05 | ООО ПКП "Спецсталь" |
| Припой ПОСК50-18 | кг | 0,005 | 135,21 | 0,68 | Счет № 390 от 17.07.04 | ООО "Уралцвет-метопт-торг" |
| Прочие материалы | ||||||
| Вата х/б | кг | 0,0002 | 163,92 | 0,08 | Протокол цены | ООО "ТПК Стильнотекс" |
| Спирт этиловый ректификованный технический | кг | 0,003 | 68,50 | 0,21 | Счет № 00996 от 01.01.05 | ОАО "Лобвинский биохимический завод" |
| Лак УР-231 | кг | 0,03 | 74,59 | 2,27 | Счет № 002425-05 от 18.04.05 | ОАО "Русские краски" |
| Клей ВК-9 | кг | 0,001 | 860,20 | 0,86 | Счет № 1095 от 07.10.04 | ООО "Расмахим" |
| Нитрид бора | кг | 0,001 | 1856,00 | 1,86 | Счет № 27 от 25.03.03 | ООО "Химмед-Приборы" |
| ИТОГО: материалы на изделие на 1 комплект, руб. | 19,06 | |||||
| Транспортно-заготовительные расходы (0,08%), руб. | 1,53 | |||||
| ИТОГО: материалы на изделие на 1 комплект, руб. | 20,59 | |||||
5.1.2 Расчет затрат на комплектующие системы и полуфабрикаты (покупные)
Расчет затрат определяется по формуле:
, (5.3)
где КД – количество покупных деталей на одну систему;
ЦД – цена одной покупной детали данного вида.
В таблице 5.2 приведен расчет затрат на покупные изделия.
Таблица 5.2 – Расчет потребности в покупных изделиях
| Наименование комплектующего изделия | Кол-во, шт. | Цена за единицу, руб. (без НДС) | Сумма затрат, руб. | Обоснование цены | Поставщик | |||||||||
| Конденсаторы | ||||||||||||||
| CТ 227 K 006 D P | 2 | 43,14 | 86,28 | Счет № 402 от 28.02.06 | ООО "Радиоэлектроника" | |||||||||
| СС 0805 В104 250 | 52 | 0,42 | 21,84 | Счет № 2268 от 06.10.06 | ООО "Радиоэлектроника" | |||||||||
| DB-5R5D105 | 4 | 31,20 | 124,8 | Протокол цены | ЗАО "Промэлектроника" | |||||||||
| Микросхемы | ||||||||||||||
| EPF10K30AQI240-3 | 1 | 3614,65 | 3614,65 | Счет № 3007 от 13.03.07 | ООО "Радиоэлектроника" | |||||||||
| EPC2TI32 | 1 | 1665,97 | 1665,97 | Счет № 216 от 31.01.07 | ООО "Радиоэлектроника" | |||||||||
| IDT71V424S15YI | 1 | 439,63 | 439,63 | Счет-фактура №6076/04 | ООО "Радиоэлектроника" | |||||||||
| RTC-4543SA | 1 | 150,20 | 150,20 | Протокол цены | ЗАО "Промэлектроника" | |||||||||
| K9K4GO8UOM-YIBO | 16 | 1167,46 | 18679,36 | Счет-фактура № 2421 от 23.12.06 | ЗАО "Промэлектроника" | |||||||||
| AT89C5131-RDTIL | 1 | 125,63 | 125,63 | Протокол цены | ЗАО "Промэлектроника" | |||||||||
| Резисторы | ||||||||||||||
| Р1-16П-0,062 | 23 | 43,29 | 995,67 | Счет № 00001258 от 05.09.05 | ОАО "КБ "Икар" | |||||||||
| С2-33Н-0,125 | 4 | 1,73 | 6,92 | Счет № 468855 от 08.12.06 | ЗАО "Резистор-НН" | |||||||||
| Полупроводниковые приборы | ||||||||||||||
| Диод 2Д522Б | 1 | 3,24 | 3,24 | Счет-фактура № 10216/387 от 20.03.07 | ООО "Орбита" | |||||||||
| Светодиод КР-1608 | 4 | 5,20 | 20,8 | Протокол цены | ЗАО "Промэлектроника" | |||||||||
| Соединители | ||||||||||||||
| ESQT-130-02-G-Q-368 | 2 | 1158,05 | 2316,1 | Счет № 2913 от 25.09.06 | ООО "Радиоэлектроника" | |||||||||
| Разъем MiniUSB | 1 | 63,72 | 63,72 | Протокол цены | ЗАО "Промэлектроника" | |||||||||
| Вилка IDC10M | 1 | 5,09 | 5,09 | Протокол цены | ЗАО "Промэлектроника" | |||||||||
| Прочее | ||||||||||||||
| Переключатель SWD-10 | 1 | 15,85 | 15,85 | Протокол цены | ЗАО "Промэлектроника" | |||||||||
| Дроссель ДМ-2,4-20+5%-В | 1 | 22,05 | 22,05 | Счет № 36 от 16.01.07 | ОАО "ГТЗ" | |||||||||
| Дроссель ДМ-0,2-60+5%-В | 1 | 20,35 | 20,35 | Счет № 139 от 19.10.06 | ОАО "ГТЗ" | |||||||||
| Кварцевый генератор SG8002САSCM-80M | 1 | 220,34 | 220,34 | Счет № 3007 от 13.03.07 | ООО "Радиоэлектроника" | |||||||||
| Плата печатная МАВИ. 687253.005 | 1 | 2234,92 | 2234,92 | Счет № 935 от 11.12.06 | АОЗТ "Рязанские телефонные технологии" | |||||||||
| ИТОГО: комплектующие на 1 комплект устройства управления, руб. | 30833,71 | |||||||||||||
| Транспортно-заготовительные расходы – 0,08% | 2466,7 | |||||||||||||
| ИТОГО: комплектующие на 1 комплект устройства управления, руб. | 33300,41 | |||||||||||||
5.1.3 Расчет заработной платы производственных рабочих















