148286 (594481), страница 3
Текст из файла (страница 3)
Відновлення розподільчого вала.
Опірні шийки розподільчого вала шліфують під зменшений ремонтний розмір а в блок встановлюють втулки ремонтного розміру. Кулачки шліфують до видалення слідів спрацювань і відновлення профілю кулачка. Спрацьовану шийку під розподільну шестерню відновлюють насталюванням і обробкою піл номінальний розмір. Шпонкову канавку фрезерують під збільшений розмір або наплавляють спрацьовані краї та фрезерують під номінальний розмір.
Спрацьовану різьбу наплавляють, потім нарізують нову номінальну різьбу або проточують і нарізують різьбу зменшеного розміру з виготовленням нової гайки.
Вигин розподільчого вала усувають випрямлянням холодним методом на призмах під пресом.
Відновлення штовхачів.
Спрацьований стержень штовхача шліфують під зменшений ремонтний розмір або наносять шар вібродуговим наплавленням після чого обробляють під номінальний розмір.
Відновлення коромисла та осі коромисел.
Отвір коромисла під вісь відновлюють розвертанням до збільшеного ремонтного розміру, встановленням втулки і обробкою її до нормального або зменшеного розміру.
Спрацьований бойок коромисла шліфують по шаблону до видалення слідів спрацювань;при висоти бойка його наварюють та обробляють по шаблону до нормального розміру.
Вісь коромисел відновлюють шліфуванням під зменшений ремонтний розмір або нарощують (вібродуговим наплавленням, хромуванням, насталюванням) і обробляють під нормальний або збільшений ремонтний розмір. Погнуту вісь вирівнюють холодним способом. Шліфовка фасок головок клапанів.
Як що на фасках головок клапанів значне спрацювання, раковини, невеликі ділянки прогару або другі пошкодження, порушуючи щільність посадки клапанів до сідел, то для видалення їх необхідно прошліфувати фаски. Сліди точкової ерозії на робочій фасці не являються основою для шліфовки клапанів, якщо вони не порушають ущільнення.
Робочі фаски клапанів шліфують на шліфувальних станках або на універсальному обладнані з допомогою супортно-шліфувального приспособлення. Робочу поверхню шліфують під кутом 45° до осі стержня. При шліфуванні знімають мінімальну кількість металу, необхідне для того, щоб вивести знос. Перевіряють висоту циліндричного пояска головки клапана. Якщо після шліфуванні фаски ця висота стане меншою до 0,3 мм, то клапан замінюють. При виявленні згину стержня клапана його також слід замінити. Перевіряють концентричність робочої фаски клапана відносно його стержня на приспособлені з індикаторними головками. Взаємне биття поверхні фаски відносно стержня клапана повинно бути не більше 0,025 мм.
Шліфовка фасок сідел клапанів.
Таку операцію виконують при заміні направляючих втулок, клапана, а також при зносі фасок і для встановлення концентричності фасок відносно отворів у направляючих втулках. Сідла впускних і випускних клапанів виготовляють із спеціального чавуну високої твердості, тому їх обробляють тільки шліфуванням. Для шліфування застосовують шліфувальну машинку з електричним приводом. Машинка повинна бути споряджена набором абразивних кругів з конусами 60, 90 и 120° і зовнішнім діаметром 31...32 мм, набором оправок, які вставляються в отвори направляючих втулок, і пристроєм для правки абразивних кругів. Перед шліфуванням фаски підбирають оправку, яка повинна міцно входити в отвір втулки. Шліфувальний камінь заправляють під кутом 89°±30. Шліфування сідла клапана проводять до тих пір, поки інструмент не почне знімати метал рівномірно по всій площині. При цьому слід запобігати зайвого зняття металу. Перевіряють концентричність шліфованої фаски сідла клапана і осі направляючої втулки пристроєм з індикаторною головкою. Допустиме биття для фасок сідел впускних і випускних клапанів повинно бути не більше 0,05 мм. При відсутності пристрою можна обійтись перевіркою прилягання фаски клапана до сідла по красці Після перевірки концентричності перевіряють ширину і місце розташування на фасці поверхні дотику головки клапана з сідлом. Для цього наносять на сідлі клапана тонкий шар краски (суміш масла з лазур’ю або ультрамарином). Встановлюють клапан в направляючу втулку і, притискаючи до сідла, провертають його.
Поясок краски на робочій фасці клапана повинен розташовуватись по середині по всій площині, а ширина пояска повинна бути 1,4...2,0 мм як для впускного, так і для випускного клапанів (мал. 12). Якщо вказані тренування не виконані, необхідно пошліфувати додатково сідло клапана. При цьому абразивний інструмент повинен мати кут 60 або 120° в залежності від того, куди потрібно змістити робочу фаску сідла клапана.
Мал. 12 - Кути шліфування сідла клапана
Притирання клапанів до сідел.
Для забезпечення герметичності після шліфування робочих фасок клапанів або сідел, при заміні направляючої втулки або при незначних зносах сідел і головок клапанів, клапани притирають до сідел. Таку операцію виконують в наступному порядку.
Наносять на фаску головки клапана тонкий шар притирочної пасти, приготовленої у вигляді суміші мілкого шліфувального порошку (шлиф-порошок електрокорунд М14) з маслом для двигуна. Змазують стержень клапана веретьонним маслом, встановлюють його в направляючу втулку, закріплюють в пристрої для притирання клапанів і, провертаючи по черзі в обоє сторони, легенько прижимаючи до сідла. При притиранні клапанів не слід знімати з робочих фасок клапанів і сідел надто багато металу, так як це скорочує число ремонтів сідла і клапана і тим самим зменшує загальне продовження їх служби.
До кінця притирання зменшують кількість шліфувального порошку в притирочній пасті, а часу, коли притираючи поверхні стануть гладкими і приймуть рівний сірий колір, притирку проводять тільки на маслі. Зовнішньою ознакою високоякісного притирання є замкнутий поясок однакового матово-сірого кольору на робочих поверхнях головки клапана і його сідла. Ширина пояска повинна бути для впускних і випускних клапанів 1,4...2 мм. Після притирання промивають клапани і сідла від притирочної пасти і перевіряють, чи не потрапила паста на робочу поверхню направляючих втулок, так як паста може привести к інтенсивному зносу направляючих і стержнів клапанів. Для перевірки герметичності клапанів необхідно зібрати клапанний механізм і залити керосин у впускні і випускні отвори головки циліндрів. При втриманні протягом 3 хв. пропускання керосин через клапани не допускається. У випадку пропускання керосину слід повторювати притирання.
2.7 Перелік інструменту, приладів, які використовувались
Під час ремонту газорозподільного механізму використовується велика кількість інструментів, приладів та приспособлень.
Для того щоб розібрати та зібрати газорозподільний механізм потрібно мати:
- набір ключів і головок;
викрутка;
- динамометричний ключ;
- зйомник пружин клапана (Мал. 13)
Мал. 13 - Зйомник пружин клапана
Для проведення контрольних замірів та обмірів використовують:
штанген-циркуль;
індикаторний нутромір;
мікрометр (мал. 14);
Мал. 14 - Мікрометр для вимірювання зносів кулачків та опірних шийок розпредвалу
Для перевірки деталей на концентричність використовують:
- пристрій для перевірки клапана (мал. 15);
- пристрій для перевірки концентричності сідла та направляючої втулки клапана (мал. 16);
Мал. 15 - Пристрій для перевірки клапана на концентричність робочої фаски головки і стержня: 1-плита; 2-призма; 3-держатель; 4- шарик; 5-стойка; 6, 7-індикатори
Мал. 16 - Пристрій для перевірки концентричності фаски сідла клапана і осі направляючої втулки: 1-шариковая головка; 2-вращающая муфта; 3-держатель; 4- оправка; 5- індикаторна головка
Після запресування сідло необхідно зачеканити по контуру оправкою (див. мал. 17).
Мал. 17 - Оправка для зачеканювання сідла клапана: 1-корпус; 2- штифт; 3- вставка; 4- підставка
Для шліфування фаски сідла клапана застосовують шліфувальну машинку з електричним приводом (мал. 18).
Мал. 18 - Шліфовка фаски сідла клапана
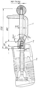
Притирання клапана до сідла клапана проводять спеціальним пристроєм (див. мал. 19).
Мал. 19 - Пристрій для притирки клапанів: 1 - зажим; 2 - оправка; 3 - клапан.
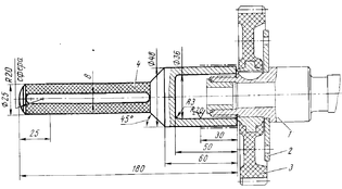
Напресування шестерні розподільчого вала проводять за допомогою оправки (див. мал. 20).
Мал. 20 - Оправка для напресування шестерні розподільчого вала: 1 - розподільчий вал; 2 - фланець розподільчого вала; 3 - шестерня розподільчого вала; 4 - оправка
Щоб відрегулювати правильну роботу механізму газорозподілення необхідно правильно виставити тепловий просвіт. Для виконання такої операції необхідно мати набір щупів.
2.8 Після ремонтна діагностика, перевірка, обкатка
Відремонтований та відрегульований газорозподільний механізм підлягає перевірці, діагностиці та обкатці для довшої працездатності. Технічний стан при цьому визначається зовнішнім оглядом, за шумами та вібраціями і герметичністю над поршневого простору.
Методи діагностики механізмів двигуна базуються на зміні діагностичних параметрів, які допомагають його роботі і тісно пов’язані зі структурними параметрами його основних елементів. Знаючи заміряні нормативні значення діагностичних параметрів, можна визначити без розбирання технічний стан двигуна.
Діагностування газорозподільного механізму за шумами та вібраціями дозволяє визначити чи є зазор між клапанами і штовхачами, клапанами і направляючими втулками, у підшипниках розподільчого вала та неправильне встановлення теплового зазору.
Діагностика по герметичності над поршневого простору циліндрів двигуна виконується по виміру компресії, прориву газів у картер двигуна, розрідженню у впускному колекторі, та по втраті компресії.
Втрату компресії через клапани двигуна, що вказує на їх несправність, визначають прослуховуванням за допомогою фонендоскопа або візуально по коливанням пушинок в індикаторі, встановленим у свічних отворах, сусідніх з перевіряючим циліндром. Втрату компресії через прокладку головки циліндрів визначають за допомогою кульок повітря, які появляються в горловині радіатора або на стику.
При автоматизованому діагностуванні заключні заміряні величини амплітуд і їх зміщений зрівнюють з еталонними, збереженими в блоці ЕВМ.
Довговічність роботи двигуна та безпосередньо механізму газорозподілу залежить від режиму експлуатації в початковий період після його ремонту, для чого після ремонту двигун потрібно обкатати. Під час обкатки проходить припрацювання деталей, осідання прокладок. Тому обкатку двигуна потрібно проводити на невеликих його навантаженнях, протягом 3000 км пробігу.
2.9 Перелік робіт, що необхідно проводити при ЩТО,ТО-1, ТО-2, СТО після ремонту, щодо завданої частини автомобіля
ТО – це комплекс обов’язкових робіт, які проводяться до кожного механізму і системи через певний пробіг кілометрів автомобіля, або після тривалого стояння автомобіля, роботи спрямовані для своєчасного виявлення зносу, або пошкодження деталей і для підтримки автомобіля в працездатному стані.
















