147178 (594277), страница 11
Текст из файла (страница 11)
Рис. 5.1 Схема уравновешивания двигателя
5.8 Равномерность крутящего момента и равномерность хода дви
гателя.
Равномерность крутящего момента:
; (5.36)
Избыточная работа крутящего момента:
Дж (5.37)
где
– площадь над прямой среднего крутящего момента, мм2.
рад в мм – масштаб угла поворота вала на
диаграмме Мкр.
Равномерность хода двигателя принимаем δ=0.01.
Момент инерции движущихся масс двигателя, приведенных к оси коленчатого вала:
кг·м2 (5.38)
6. РАСЧЕТ ДЕТАЛЕЙ КРИВОШИПНО-ШАТУННОГО МЕХАНИЗМА НА ПРОЧНОСТЬ
6.1 Расчет поршня
Наиболее напряженным элементом поршневой группы является поршень, воспринимающий высокие газовые, инерционные и тепловые нагрузки, поэтому при его изготовлении к материалу предъявляются повышенные требования. Поршни автомобильных и тракторных двигателей изготовляют в основном из алюминиевых сплавов и реже из чугуна.
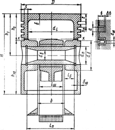
Основные конструктивные соотношения размеров элементов поршня (рис. 6.1) приведены в табл. 6.1. Величину верхней части поршня h1 выбираем, исходя из обеспечения одинакового давления опорной поверхности поршня по высоте цилиндра и прочности бобышек, ослабленных отверстиями для пропуска масла. Это условие обеспечивается при
(6.1)
где hr – высота головки поршня.
Расстояние b между торцами бобышек зависит от способа крепления поршневого пальца и обычно принимается на 2-3 мм больше длины верхней головки шатуна lш. Конкретные значения конструктивных элементов поршня принимаются по прототипам с учетом соотношений, приведены в табл. 6.1.
Поверочный расчет элементов поршня осуществляется без учета переменных нагрузок, величина которых учитывается при установлении соответствующих допускаемых напряжений. Рассчитывают днище, стенку головки, верхнюю кольцевую перемычку, опорную поверхность и юбку поршня.
Днище поршня рассчитывается на изгиб от действия максимальных газовых условий рzmax как равномерно нагруженная круглая плита, свободно опирающаяся на цилиндр.
Рис. 6.1 Схема поршня
Материал поршня – алюминиевый сплав, αп=22·10-6 1/К.
Материал гильзы цилиндра – серый чугун, αц=11·10-6 1/К.
Для дизелей максимальное давление газов обычно достигается при работе на режиме максимальной мощности.
Таблица 6.1
| Наименование | диапазон | значение | |
| Толщина днища поршня, | (0,12 0,20)D | 8 | |
| Высота поршня, Н | (1,0 1,7)D | 105 | |
| Высота верхней части поршня, h1 | (0,6 1,0)D | ||
| Высота юбки поршня, hю | (0,6 1,1)D | 65 | |
| Диаметр бобышки, dб | (0,3 0,5)D | ||
| Расстояние между торцами бобышек, b | (0,3 0,5)D | 44 | |
| Толщина стенки юбки поршня, ю, мм | 2,0 5,0 | ||
| Толщина стенки головки поршня, s | (0,05 0,10)D | 7 | |
| Расстояние до первой поршневой канавки, l | (0,11 0,20)D | ||
| Толщина первой кольцевой перемычки, hп | (0,04 0,07)D | 4 | |
| Радиальная толщина кольца, t | |||
| компрессионного | (0,040 0,045)D | 4 | |
| маслосъемного | (0,038 0,043)D | 3 | |
| Высота кольца, а, мм | 3-5 | 3 | |
| Разность между величинами зазоров замка кольца в свободном и рабочем состоянии Ао | (3,2 - 4,0) t | ||
| Радиальный зазор кольца в канаве поршня ∆t, мм | |||
| компрессионного | 0,70 – 0,95 | 0.8 | |
| маслосъемного | 0,9 – 1,1 | ||
| Внутренний диаметр поршня, di | D – 2 ( s+t+∆t ) | ||
| Число масляных отверстий в поршне, nм | 6-12 | 10 | |
| Диаметр масляного канала, dм | (0,3 - 0,5) a | 1 | |
| Наружный диаметр пальца, dп | (0,30 0,38)D | 24 | |
| Внутренний диаметр пальца, dв | (0,50 0,70)dп | 16 | |
| Длина пальца, lп | (0,80 0,90)D | 80 | |
| Длина втулки шатуна, lш | (0,33 0,45)D | 40 | |
Напряжение изгиба (МПа) в днище поршня
МПа (6.2)
где рzmax=рz=6.356 МПа – максимальное давление сгорания;
мм – внутренний радиус днища.
Днище поршня должно быть усилено ребрами жесткости. Кроме того, в целях повышения износо- и термостойкости поршня целесообразно осуществить твердое анодирование днища и огневого пояса, что уменьшит возможности перегрева и прогорания днища, а также пригорания верхнего компрессионного кольца.
При отсутствии у днища ребер жесткости допустимые значения напряжений из (МПа) лежат в пределах:
Для поршней из алюминиевых сплавов …………….…..…20-25
При наличии ребер жесткости из возрастают:
Для поршней из алюминиевых сплавов …………………...до 50-150
Головка поршня в сечении х–х, ослабленная отверстиями для отвода масла, проверяется на сжатие и разрыв.
Напряжение сжатия в сечении х-х:
площадь сечения х – х
м2 (5.3)
где
мм – диаметр поршня по дну канавок;
мм – внутренний диаметр поршня;
мм2 – площадь продольного диаметрального
сечения масляного канала.
Максимальная сжимающая сила:
МН (6.4)
Напряжение сжатия:
МПа (6.5)
Допустимые напряжения на сжатие для поршней из алюминиевых сплавов сж = 30 40 МПа.
Напряжение разрыва в сечении х-х:
- максимальная угловая скорость холостого хода:
рад/с (6.6)
- масса головки поршня с кольцами, расположенными выше сечения х-х:
кг (6.7)
- максимальная разрывающая сила:
(6.8)
МН
Допустимые напряжения на разрыв для поршня из алюминиевых сплавов р = 4 10 МПа.
- напряжение разрыва:
МПа (6.9)
Напряжение в верхней кольцевой перемычке:
- среза:
МПа (6.10)
где D=93 мм – диаметр цилиндра;
hп=4 мм – толщина верхней кольцевой перемычки.
- изгиба:
МПа (6.11)
- сложное:
МПа (6.12)
допускаемые напряжения (МПа) в верхних кольцевых перемычках с учетом значительных температурных нагрузок находятся в пределах:
для поршней из алюминиевых сплавов…………….…30-40.
Удельное давление поршня на стенку цилиндра:
МПа (6.13)
МПа (6.14)
где Nmax=0.0025 МН – наибольшая нормальная сила, действующая на стенку
цилиндра при работе двигателя на режиме максималь-
ной мощности.
Для современных автомобильных и тракторных двигателей q1 = 0.3 1.0 и q2 = 0.2 0.7 МПа.
Гарантированная подвижность поршня в цилиндре достигается за счет установления оптимальных диаметральных зазоров между цилиндром и поршнем при различных тепловых нагрузках, возникающих в процессе работы дизеля. По статистическим данным для алюминиевых поршней с неразрезными юбками
∆r=(0.006 0.008)D=0.007·93=0.651 мм (6.15)
∆ю = ( 0.001 0.002 )D=0.002·93=0.186 мм (6.16)
Диаметры головки и юбки поршня:
мм (6.17)
мм (6.18)
Диаметральные зазоры в горячем состоянии:
(6.19)
мм
(6.20)
мм
где ц=1110-6 1/К – коэффициент линейного расширения материала
цилиндра;
п=2210-6 1/К - коэффициент линейного расширения материала поршня;
Тц =383 К – температура стенок цилиндра;
Тr = 593 К – температура головки в рабочем состоянии;
Тю =413 К – температура юбки поршня в рабочем состоянии;
То =293 К – начальная температура цилиндра и поршня.
6.2 Расчет поршневого кольца
Поршневые кольца работают в условиях высоких температур и значительных переменных нагрузок, выполняя три основные функции:
– герметизации надпоршневого пространства в целях максимально возможного использования тепловой энергии топлива;
– отвода избыточной доли теплоты от поршня в стенки цилиндра;
– "управление маслом", т.е. рационального распределения масляного слоя по зеркалу цилиндра и ограничения попадания масла в камеру сгорания.
Материал кольца – серый чугун. Е=1.2·105 МПа.
Среднее давление кольца на стенку цилиндра:
(6.21)
МПа
где
мм.
Давление кольца на стенку цилиндра в различных точках окружности при каплевидной форме эпюры давления:
, [МПа] (6.22)
Результаты расчета р, а также μк для различных углов ψ приведены ниже:
| Угол ψ, определяющий положение текущего давления кольца, град | 0 | 30 | 60 | 90 | 120 | 150 | 180 |
| Коэффициент μк | 1.05 | 1.05 | 1.14 | 0.90 | 0.45 | 0.67 | 2.85 |
| Давление р в соответствующей точке, МПа | 0.224 | 0.222 | 0.218 | 0.214 | 0.218 | 0.271 | 0.320 |
По этим данным построена каплевидная эпюра давлений кольца на стенку цилиндра (рис. 5.2).
Напряжение изгиба кольца в рабочем состоянии:















