126238 (593209), страница 4
Текст из файла (страница 4)
Рис. 13 График зависимости угловой скорости коромысла от угла поворота кулачка
Рис. 14 График зависимости углового ускорения коромысла от угла поворота кулачка
Эти погрешности в виде резких скачков особенно проявляются на графиках скоростей и ускорений коромысла AO2D.
Последовательно с кулачково-коромысловым механизмом соединен четырехзвенный О2АВО3 механизм, ведущим звеном которого является коромысло кулачкового механизма (рис. 11).
Для четырехзвенного механизма О2АВО3 примем систему координат, в которой оси X, Y направим через шарниры О2 и О3 (как показано на рис. 11). Углы поворота звеньев О2А и О3В будем отсчитывать в направлении против часовой стрелки.
Обозначим: О2А = a, АВ = b , О3В = c ,O3K = n , О2К = m , угол поворота, скорость и ускорение звена О2А через , ω1, ε1, а угол поворота, скорость и ускорение звена О3В через Θ, ω3, ε3.
Составим аналитические зависимости для последующих расчетов на ЭВМ между углами поворота, скоростями и ускорениями ведущего O2A и ведомого О3В звеньев четырехзвенного механизма. Спроектируем звенья механизма на оси X и Y и найдем координаты точек А и В.
XA = O3K + O2A cos = n + a cos(13)
YA = O2K + O2A sin = m + a sin(14)
XB = O3B . cosΘ = c cosΘ(15)
YB = O3B . sinΘ = c sinΘ(16)
Расстояние между точками А и В найдется:
b2 = (XA – XB)2 + (YA – YB)2(17)
Подставив в выражение (17) выражения (13), (14), (15), (16) получим:
b2 = (n + a cos – c cosΘ)2 + (m + a sin – c sinΘ)2(18)
Преобразуем полученное выражение (18) относительно угла φ. Для этого раскроем скобки и выполним приведение подобных членов.
b2 = n2 + a2cos2 + c2cos2Θ + 2an cos – 2nc cosΘ –2ac cos + m2 +
+ a2sin2 + c2sin2Θ + 2am sin – 2mc sinΘ – 2ac sinΘ sin
Или
b2 = –2c(n + a cos)cosΘ – 2c(a sin – m)sinΘ +
+ 2a(n cos – m sin) + a2 + c2 + n2 + m2(19)
Перенося в правую часть " " получим выражение для неявной функции, которую обозначим:
F(,Θ) = –2с(n + a cos)cosΘ – 2c(m – a sin)sinΘ +
+ 2a(n cos – m sin) + a2 – b2 + c2 + n2 + m2(20)
Обозначим через:.
A1 = –2c(n + a cos)
A2 = –2c(–m + a sin)
A3 = – [2a(n cos – m sin) + a2 – b2 + c2 + n2 + m2]
и запишем выражение для F(,Θ) в следующем виде:
F(,Θ) = A1 cosΘ + A2 sinΘ + A3(21)
Решение уравнения (21) запишем в виде выражений для тригонометрических функций двух углов, что удобно при расчете на ЭВМ.
A2 A3 ±
A12 + A22 – A32

s
A12 + A22

A12 + A22 – A32
c
A12 + A22

A1 A3 ±

значения угла Θ находятся в виде обратной тригонометрической функции
Θ
A12 + A22

A1 A3 ±
A12 + A22 – A32

Для принятой системы отсчета углов перед корнем принимается знак " + ". Дифференцируя неявную функцию F(,Θ) находим зависимость между угловыми скоростями звеньев О2А и О3В, т. е. между ω1 и ω3.
d
О
dΘ
d

ω3 = Kω3 . ω1(25)
Для нахождения аналога Kω3 угловой скорости продифференцируем по углу выражение (20).
dF / d
K
dF / dΘ

dF / dΘ = 2с(n + a sin)sinΘ – 2c(m + a sin)cosΘ = 2с[(n + a cos)sinΘ – (m + a sin)cosΘ](26)
dF / d = 2aс cosΘ sin – 2aс sinΘ cos + 2am cos – 2an sin == 2a[(с cosΘ – n)sin – (с sinΘ – m)cos](27)
о
a[(с cosΘ – n)sin – (с sinΘ – m)cos]
тсюдаK
c[(n + a cos)sinΘ – (a sin + m)cosΘ]

Для нахождения углового ε3 ускорения звена О3В продифференцируем выражение (25).
dω3
ε
dt

или
d(Kω3 . ω1)
ε
dt

отсюда
dKω3
dω1
ε
dt

dt

dω1
И
dt

dKω3
dt
dKω3

d

dt
d

d
dKω3

тогда, окончательно запишем выражение для ε3
dKω3
ε
d

Т
d2F
d

d2F
dF
аким образом, ускорение ведомого звена, в случае если ведущее звено вращается с ускорением, состоит из двух слагаемых, одно из которых представляет произведение второй производной неявной функции F(,Θ) на квадрат ω1 угловой скорости ведущего звена, а второе слагаемое – произведение аналога угловой скорости ведомого звена на угловое ускорение ведущего звена. Для вычисления ε3 необходимо иметь аналитическое выражение для, поскольку выражения для остальных сомножителей и слагаемых получены ранее. Для нахождения продифференцируем дважды выражение (21).Найдем производные, входящие в состав выражения (31).
dF
dΘ

dΘ2
d2F

d
dF

d2
d2F

d2F
ddΘ

Преобразуем полученное выражение (36).
=
ddΘ
d2F

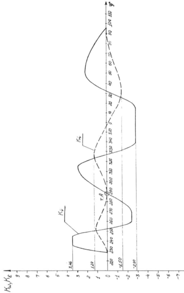
С учетом полученных выражений и расчетной конструкторской документацией на кулаки укладчика, имеющейся на заводах-изготовителях, был выполнен расчет кинематических характеристик скорости Kω3 и ускорения Kε3 ведомого звена – О3В толкателя. Результаты вычислений в виде графиков представлены на рис. 15, 16, 17.
Расчеты проводились для кулаков, используемых в механизме укладки на станках СТБ с углами боя 105 и 140 град, при различных заправочных ширинах станков от 180 до 330 см.
Из рассмотрения графиков следует:
-
цикл движения укладчика на узких станках (СТБ - 180, СТБ - 220) составляет 120 град. (рис. 15, рис. 16), из них - 30 град. - подход укладчика к прокладчику (т. А), 40 град. - укладка прокладчиков на транспортер и 50 град. - отход в исходное положение,
-
цикл движения укладчика на широких станках (СТБ-250, СТБ-330) составляет 125 град, (рис. 17), из них - 30 град. - подход укладчика к прокладчику (т. А), 40 град. - укладка прокладчиков на транспортер, 15 град. - выстой в нижнем положении и 40 град, - отход в исходное положение,
теоретическое начало контакта выступов толкателя с прокладчиком соответствует нулевым значениям скорости и ускорения (т. А на графиках) и происходит при φ углах поворота спаренного кулака укладчика, равных 286 град, и 348 град, для станков с началом боя 105 град, и 140 град., соответственно. Однако, даже допустимый (обусловленный изготовлением и сборкой) в пределах 5 град, угол поворота четырехзвенного О2АВО3 механизма в виду большой крутизны кривых скорости и ускорения приводит к искажению характера взаимодействия укладчика с прокладчиком. Контакт этих деталей приобретает ударный, характер, следствием чего является износ и разрушение деталей.
Рис. 15 СТБ-180, СТБ-220 з-д «Сибтекстильмаш»
Рис. 16 СТБ-180, СТБ-220 Чебоксарский Машзавод
Рис. 17 СТБ-250, СТБ-330
Новосибирский з-д «Сибтекстильмаш», Чебоксарский Машзавод
Кинематическое исследование механизма показало, чтобы сделать механизм малочувствительным к настройке и зазорам, необходимо расширить его цикловую диаграмму, уменьшить крутизну ветвей кривой ускорения и снизить до минимума скорость укладчика к моменту контакта с прокладчиком.
1.6.2 СИНТЕЗ КУЛАЧКОВО-РЫЧАЖНОГО МЕХАНИЗМА УКЛАДЧИКА
При синтезе механизма были приняты следующие предпосылки:
-
расширить цикловую диаграмму механизма;
-
закон движения задается непосредственно на укладчике, т. е. укладчик (звено О3В) становится ведущим звеном и с учетом полученных при кинематическом исследовании выражений рассчитывается профиль кулака;
-
расширить зону контакта укладчика с прокладчиком;
-
закон движения укладчика принять с наименьшими значениями аналогов скоростей и ускорений и минимума кинетической мощности в зоне контакта укладчика с прокладчиком;
-
установить единые углы укладок прокладчика на транспортер для станков СТБ с различными углами боя и учетом уменьшения заправочных ширин тканей на 30-40 см.
С учетом принятых предпосылок разработан закон движения укладчика, представленный на рис. 18
Таблица 3 Таблица расчетных радиус-векторов кулака укладчика.
Rk, мм – теоретический радиус-вектор кулака, мм , град – угол поворота кулака.
, град | Rk, мм | , град | Rk, мм | , град | Rk, мм | , град | Rk, мм |
5 | 36,990 | 95 | 36,990 | 185 | 40,181 | 275 | 47,872 |
10 | 36,990 | 100 | 36,990 | 190 | 40,337 | 280 | 47,232 |
15 | 36,990 | 105 | 36,990 | 195 | 40,338 | 285 | 46,423 |
20 | 36,990 | 110 | 36,990 | 200 | 40,392 | 290 | 45,474 |
25 | 36,990 | 115 | 36,990 | 205 | 40,412 | 295 | 44,372 |
30 | 36,990 | 120 | 36,990 | 210 | 40,546 | 300 | 43,141 |
35 | 36,990 | 125 | 36,990 | 215 | 40,859 | 305 | 41,860 |
40 | 36,990 | 130 | 36,990 | 220 | 41,354 | 310 | 40,640 |
45 | 36,990 | 135 | 36,998 | 225 | 42,071 | 315 | 39,488 |
50 | 36,990 | 140 | 37,050 | 230 | 43,043 | 320 | 38,740 |
55 | 36,990 | 145 | 37,199 | 235 | 44,712 | 325 | 38,113 |
60 | 36,990 | 150 | 37,394 | 240 | 45,457 | 330 | 37,661 |
65 | 36,990 | 155 | 37,697 | 245 | 46,595 | 335 | 37,337 |
70 | 36,990 | 160 | 38,104 | 250 | 47,491 | 340 | 37,126 |
75 | 36,990 | 165 | 38,590 | 255 | 48,083 | 345 | 37,021 |
80 | 36,990 | 170 | 39,099 | 260 | 48,386 | 350 | 36,992 |
85 | 36,990 | 175 | 39,560 | 265 | 48,446 | 355 | 36,990 |
90 | 36,990 | 180 | 39,922 | 270 | 48,282 | 360 | 36,990 |
Цикл движения механизма расширен со 120 град. до 225 град., т. е. почти вдвое, зона контакта укладчика расширена до 10 град. (т. А), аналоги скоростей и ускорений для этого закона уменьшены в 4-е раза.