125465 (593120)
Текст из файла
Содержание
1. Цель и организация проведения ТО и ремонта
2. Влияние условий эксплуатации на износ и долговечность
3. Назначение и общее устройство
4. Основные неисправности
5. Выбор оборудования, приспособлений и инструмент
6. Технологический процесс проведения
7. Экономический вопрос
8. Охрана труда при проведении работ
Литература
1. Цель и организация проведения ТО и ремонта
Диагностирование заключается в проверке подачи топлива в карбюратор, контрольной проверке расхода топлива при работе двигателя на автомобиле, проверке токсичности отработавших газов, определения уровня топлива в поплавковой камере карбюратора, измерения давления, развиваемого топливным насосом. При несоответствии проверяемых параметров требуемым проводят регулировочные работы на автомобиле или снимают карбюратор и топливный насос для ремонта.
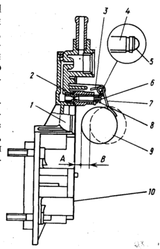
Рисунок 1. Установка уровня топлива в поплавковой камере карбюратора типа «Озон»:
1 — крышка карбюратора, 2 — седло игольчатого клапана, 3 — упор, 4 — игольчатый клапан, 5 — шарик запорной иглы, 6 — оттяжная вилка иглы клапана, 7 — кронштейн поплавка, 8 — язычок, 9 — поплавок, 10 — прокладка
Прекращение подачи топлива в карбюратор вызывается засорением фильтра карбюратора и топливопроподов, возможным замерзанием воды, попадаемой вместе с бензином в топливный бак и трубопроводы, разрывом диафрагмы топливного насоса, износом или загрязнением клапанов топливного насоса, подсосом воздуха в полость над диафрагмой.
Для определения причин отсутствия подачи топлива нужно отвернуть топливопровод от карбюратора, покачать рычаг ручной подкачки или провернуть несколько раз коленчатый вал двигателя, предварительно поставив под шланг емкость для возможного слива бензина. Если при этом появится струя топлива — насос исправен, тогда следует вынуть и промыть топливный фильтр входного штуцера карбюратора. Если струи топлива нет, необходимо протереть топливный насос и осмотреть его поверхность. При обнаружении мокрых пятен от бензина надо подтянуть стяжные винты корпуса и опять опробовать действие насоса. Если и после этого подачи топлива не будет, следует проверить исправность насоса путем частичной или полной его разборки, промыв в первую очередь фильтр и клапаны и проверив диафрагму на предмет обнаружения разрывов.
На двигателях ВАЗ-2108 расстояние между поплавком 1 и прокладкой 4 (прилегающей к крышке 5), определяющее уровень топлива, составляет 1 0,2 мм (рис. 1), при этом крышка располагается горионтально поплавком вверх. Уровень топлива регулируется подгибанием язычка вниз для увеличения уровня и вверх — для уменьшения. При этом упорная поверхность язычка должна быть перпендикулярна оси игольчатого клапана 3 и не должна иметь вмятин и забоин.
Уровень топлива зависит также от герметичности поплавка, правильности его установки, свободы его перемещения. Для проверки герметичности поплавка его помещают в горячую воду с температурой не ниже 80° С (в случае негерметичности из него появляются пузырьки). Удалив топливо из поплавка, последний запаивают и проверяют его массу.
Во время эксплуатации можно выполнить подрегулировку в пределах, определяемых ограничительными втулками. Для этого необходимо прогреть двигатель до нормальной температуры, осторожно отвернуть винт 2 качества (рис. 2) до упора с помощью надетой на него втулки, а винтом 7 количества у
становить минимальную частоту вращения коленчатого вала. При невозможности выполнения данной подрегулировки разрушают ограничительные втулки-пломбы.
Рисунок 2. Винты регулировки системы холостого хода некоторых моделей карбюраторов:
1 — виятколичества, 2 — винт качества, 3 — заглушка. 4 — корпус ЭПХХ, 5 — съемный блок системы холостого хода
Регулировочным винтом 1 количества смеси установить по тахометру стенда частоту вращения коленчатого вала двигателя, равную оборотам холостого хода. Регулировочным винтом 2 качества (состава) смеси довести содержание оксида углерода (СО) в отработавших газах в пределах 0,5—1,3% при данном положении винта 1. Винтом 7 восстановить частоту вращения коленчатого вала, равную оборотам холостого хода. При необходимости регулировочным винтом 2 восстановить содержание СО в пределах 0,5...1,3 %. Для проверки правильности регулировки по окончании работ необходимо резко нажать на педаль привода дроссельных заслонок и отпустить ее, двигатель должен без перебоев увеличить частоту вращения коленчатого вала, а при уменьшении ее — не заглохнуть.
Если регулировками не удается добиться устойчивой работы двигателя, то возможной причиной неисправности является засорение жиклеров и каналов карбюратора. В этом случае следует вывернуть и продуть топливный жиклер и каналы системы холостого хода.
При техническом обслуживании двигателя необходимо заменить фильтрующий элемент и проверить работу терморегулятора, заслонка которого при температуре термосилового элемента + 25° С должна перекрывать патрубок подачи холодного воздуха, а при температуре 35° С—патрубок подачи подогрётого воздуха. Если этого нет, следует отрегулировать положение заслонки вращением термосилового элемента 11
2. Влияние условий эксплуатации на износ и долговечность
Карбюратор на современном автомобиле - вещь отвратительнейшая в том смысле, что требует наибольших хлопот. Да, пока он свеж и хорошо отрегулирован, причем на заводе, особых проблем не возникает. Проблемы начинаются тогда, когда впервые взламываешь пластмассовые ограничительные втулки на винтах количества и качества смеси: заменить втулки нечем, а вибрации довольно быстро сбивают регулировки. Итог, когда мотор получает либо переобогащенную, либо обедненную смесь, всегда практически один: возрастает расход топлива, ухудшается динамика, не говоря уже о высокой концентрации вредных выбросов.
Что-либо придумать взамен копеечных ограничительных втулок, которых не сыщешь днем с огнем, пока не удалось.
Не менее коварным образом ведут себя каналы системы холостого хода. Со временем, в основном "благодаря" низкому качеству бензина, в карбюраторе образуются смолистые отложения, практически не поддающиеся никакой продувке. Речь, разумеется, о скрытых от глаз каналах. Бывает, по холодку вы без труда запускаете двигатель, спокойно вклиниваетесь в городской поток, минуете несколько светофоров - и вдруг начинаются чудеса. Двигатель вибрирует, норовит заглохнуть, а из трубы то и дело вылетает облако черного дыма. Это значит, что смола в каналах карбюратора под действием тепла ожила и пошла-поехала конопатить все, что попадается на ее пути: одной из первых жертв становится жиклер системы холостого хода. Если вы думаете, что резкое падение оборотов двигателя на холостом режиме можно без особых потерь пережить, то, если не считать увеличивающегося при этом расхода топлива, а также перспективы заглохнуть где-нибудь на перекрестке с последующим проблематичным запуском мотора, это действительно пережить можно. Но карбюратор все равно придется промывать и продувать - впрочем, без стопроцентных гарантий успеха. Тому, кто за это возьмется, нужно будет запастись керосином и как минимум сутки "отмачивать" в нем карбюратор, желательно в разобранном виде. Про ацетон или растворитель лучше забыть, ибо в карбюраторе есть детали, не совместимые с этими веществами.
3. Назначение и общее устройство
Карбюратор предназначен для приготовления смеси бензина с воздухом, которая называется горючей смесью. Он устанавливается на впускном трубопроводе двигателя.
Простейший карбюратор (рис. 3) состоит из поплавковой камеры с поплавком 2 и игольчатым клапаном 3, жиклера /, распылителя 4, входной камеры с воздушной заслонкой 6, смесительной камеры, в которой расположены диффузор 7 и дроссельная заслонка 8.
Рисунок 3. Схема простейшего карбюратора: 1—главный жиклер, 2—поплавок, 3—игольчатый клапан, 4—распылитель, 5—воздушный фильтр, 6—воздушная заслонка, 7—диффузор, 8—дроссельная заслонка, 9—впускной трубопровод, 10— впускной клапан, 11—поршень
Из бака топливоподкачивающим насосом бензин подается в поплавковую камеру, уровень в которой поддерживается постоянным с помощью поплавка 2 и клапана 3. Поплавковая камера сообщается с входным патрубком карбюратора, а через жиклер 7 и распылитель 4 — со смесительной камерой.
Жиклер представляет собой пробку или трубку с калиброванным отверстием, пропускающим определенное количество топлива. Распылитель 4 имеет вид тонкой трубки. При неработающем двигателе топливо в распылителе и поплавковой камере устанавливается на одном уровне, который на 1,0—4,0 мм ниже верхнего конца распылителя.
При такте впуска, когда поршень 11 в цилиндре движется вниз, а впускной клапан 10 открыт, во впускном трубопроводе Р двигателя создается разрежение и поток воздуха поступает в смесительную камеру карбюратора. Диффузор 7, имеющий сужение, увеличивает скорость потока и разрежение около верхнего конца распылителя 4. Из-за разности давлений в поплавковой и смесительной камерах топливо вытекает из распылителя, распыливается воздухом и смешивается с ним, образуя горючую смесь.
Количество горючей смеси, поступающей в цилиндры двигателя, зависит от положения дроссельной заслонки 8, управляемой из кабины водителя педалью. Воздушной заслонкой можно уменьшить проходное сечение для воздуха и тем самым увеличить разрежение в смесительной камере, а следовательно, подачу топлива. Воздушной заслонкой пользуются при пуске холодного двигателя.
Процесс приготовления горючей смеси из топлива и воздуха называют карбюрацией. Для полного сгорания 1 кг бензина необходимо приблизительно 15 кг воздуха. Смесь такого состава называют нормальной. При недостатке воздуха смесь называют обогащенной (содержит от 13 до 15 кг воздуха на 1 кг бензина) или богатой (менее 13 кг воздуха), а при избытке воздуха — обедненной (15—16,5 кг воздуха) или бедной (свыше 16,5 кг воздуха).
Рисунок 4. Главная дозирующая система карбюратора:
1—распылитель, 2, 3 — большой и малый диффузоры, 4, 6 — воздушный и топливный жиклеры, 5 — поплавковая камера, 7—дроссельная заслонка
Карбюратор должен приготовлять горючую смесь необходимого состава на различных режимах двигателя, определяемых величиной открытия дроссельной заслонки и частотой вращения коленчатого вала. Различают пять основных режимов работы двигателя: пуск, холостой ход, малые и средние нагрузки, полную нагрузку и разгон (ускорение) двигателя.
Простейший (одножиклерный) карбюратор не обеспечивает требуемого изменения состава горючей смеси при изменении режима работы двигателя. В связи с этим современные карбюраторы имеют дополнительные устройства и системы, устраняющие недостатки простейшего карбюратора.
Главная дозирующая система обеспечивает компенсацию горючей смеси, т. е. препятствует обогащению и способствует получению постоянного состава обедненной экономичной горючей смеси при работе двигатели на средних нагрузках. В карбюраторах автомобильных двигателей главная дозирующая система с пневматическим торможением топлива (рис. 4) состоит из воздушного 4 и топливного 6 жиклеров, распылителя 1 и двух диффузоров 2 и 3. При работе двигателя топливо, поступающее через топливный жиклер в распылитель, под действием разности давления вытекает из него, распыливается и смешивается с воздухом. Когда открывается дроссельная заслонка и увеличивается расширение в диффузоре, возрастает скорость истекания топлива из распылителя, но обогащение смеси при этом не происходит, так как в это время через воздушный жиклер в распылитель начинает поступать дополнительное количество воздуха, уменьшая разрежение у распылителя и тормозя тем самым распыление топлива. В результате из распылителя поступает смесь воздуха с топливом (эмульсия), что обеспечивает получение экономичной обедненной горючей смеси постоянного состава.
Системой холостого хода предусмотрена система для работы двигателя при малой частоте вращения коленчатого вала на холостом ходу, когда нагрузка на двигатель небольшая и дроссельная заслонка закрыта. Система состоит (рис. 5) из топливного 5 и воздушного 4 жиклеров, каналов 3 для поступления топлива и воздуха, двух отверстий 2 для выхода эмульсии в смесительную камеру и регулировочного винта 1. Разрежение в смесительной камере при таком режиме работы двигателя незначительное, и Главная дозирующая система не работает.
Рисунок. 5. Система холостого хода:
1 — регулировочный винт, 2 — верхнее и нижнее отверстия, 3—каналы, 4, 5 — воздушный и топливный жиклеры V, 6 —топливный жиклер главной дозирующей системы, 7— дроссельная заслонка
Рисунок. 6. Экономайзер с механическим приводом:
/ — распылитель главной дозируют , системы, 2 — планка, 3 — шток, 4 — тяга, клапан экономайзера, 6 — серьга, пружина клапана, 8 — жиклер экономайзера|
9 — жиклер главной дозирующей системы
10 — рычаг, 11 — дроссельная заслонка
В этом случае большое разрежение ниже дроссельной заслонки и по каналам 3 оно передастся топливному жиклеру 5 холостого хода, вызывая истечение из него топлива. Пройдя этот жиклер, топливо смешивается с воздухом, поступающим сначала через воздушный жиклер 4, а затем и через отверстие 2, расположенные выше дроссельной заслонки, образуя пенистую смесь топлива с пузырьками воздуха. Полученная эмульсия через нижнее распыливающее отверстие попадает в задроссельное пространство и, смешиваясь с воздухом, проходящим через диффузор, образует обогащенную горючую смесь. При открытии дроссельной заслонки на небольшой угол эмульсия поступает и через отверстие 2, обеспечивая плавный переход холостого хода к малым и средним нагрузкам.
Характеристики
Тип файла документ
Документы такого типа открываются такими программами, как Microsoft Office Word на компьютерах Windows, Apple Pages на компьютерах Mac, Open Office - бесплатная альтернатива на различных платформах, в том числе Linux. Наиболее простым и современным решением будут Google документы, так как открываются онлайн без скачивания прямо в браузере на любой платформе. Существуют российские качественные аналоги, например от Яндекса.
Будьте внимательны на мобильных устройствах, так как там используются упрощённый функционал даже в официальном приложении от Microsoft, поэтому для просмотра скачивайте PDF-версию. А если нужно редактировать файл, то используйте оригинальный файл.
Файлы такого типа обычно разбиты на страницы, а текст может быть форматированным (жирный, курсив, выбор шрифта, таблицы и т.п.), а также в него можно добавлять изображения. Формат идеально подходит для рефератов, докладов и РПЗ курсовых проектов, которые необходимо распечатать. Кстати перед печатью также сохраняйте файл в PDF, так как принтер может начудить со шрифтами.
















