125046 (593064), страница 10
Текст из файла (страница 10)
Рис. 5.6 - Структурная схема САУ компрессора
Основные характеристики устанавливаемых модулей указано в Приложении А.
-
Выбор источника питания
-
Системный транзитный источник питания VE5002 (12Vdc/12Vdc)
Системный источник питания VE5002, показанный на Рис.5.7, как правило, используется в системах DeltaV с несколькими контроллерами и подсистемами в/в, где общее питание системы осуществляется от сети переменного тока 120/240 Vac. Источник питания VE5002 принимает 12 Vdc и преобразует в необходимые системе напряжения 12 В, 5 В и 3.3 В для питания контроллера и подсистемы ввода-вывода. Этот источник питания устанавливается непосредственно слева от платы контроллера.
Рисунок 5.7 - Системный транзитный источник питания VE5002
В нашем случае потребуется несколько источников питания ввиду следующих факторов: а) наличия резервного контроллера, б) большого числа плат ввода-вывода, используемых контроллером, в) необходимостью резервирования системного питания.
Вторым источником питания установки 120/240 Vac будем использовать групповой источник питания VE5004 120-240 Vac/12 Vdc.
Заземление системы при использовании источника питания VE5002
Для достижения максимальной производительности системы DeltaV необходимо правильно заземлить эту систему. Заземление для цепей переменного и постоянного тока должно выполняться раздельно вплоть до общей точки заземления установки. На Рис.5.8 приведена электрическая схема заземления системы DeltaV, где используется системный источник питания VE5002.
Рисунок 5.8 - Электрическая схема заземления системы DeltaV, где используется транзитный источник питания VE5002
-
Групповой источник питания VE5004 (120-140 Vac/12 Vdc)
Групповой источник питания VE5004 принимает 120/230 В переменного тока и выдает 24 В постоянного тока, подаваемые на системный источник питания VE5002 или на системный транзитный источник питания VE5008. Групповой источник питания VE5004 обеспечивает мощность, достаточную для питания 4 наборов симплексных контроллеров и модулей ввода-вывода, к каждому из которых подключен источник питания VE5002 (см. Рис. 5.9).
Рис.5.9 - Комбинация источников питания VE5004
Резервирование источников питания VE5002
Если в системе используются резервированные контроллеры, то необходимо использовать вторую пару источников VE5002, как показано на Рис.5.10. Для каждого контроллера требуется выделенный транзитный источник питания, а использование двух источников VE5004 исключает останов системы из-за отказа одного источника питания.
В случае резервированного контроллера вторая 2-слотовая панель обеспечит также посадочное место для второго контроллера резервной пары (см. Рис. 5.10).
Рис. 5.10 - Резервирование источников питания VE5002 для симплексного контроллера
-
Системный искробезопасный источник питания
Для питания модулей искробезопасного в/в требуется искробезопасный (ИБ) источник питания. ИБ источник питания принимает напряжение в диапазоне от 18.5 до 36 Vdc и преобразует его в 12 Vdc с максимальным током 5А.
Источник Бесперебойного Питания
Первичный источник питания, обеспечивающий систему DeltaV, не должен допускать перебоев энергоснабжения длительностью долее 20 миллисекунд. Перерыв питания более 20 миллисекунд может привести к потере управления, временной потере конфигурации системы и данных процесса. Если первичная сеть энергоснабжения не удовлетворяет требованию 20 мс, то вместе с оборудованием системы DeltaV следует заказывать Источники Бесперебойного Питания (ИБП).
Для нашей системы будем использовать ИБП модели VE5006. Наличие ИБП оправдано следующими условиями:
-
В системе используется сочетание транзитного системного источника питания VE5002 и группового блока питания VE5004.
-
Необходимо обеспечить бесперебойное питание 24 В для полевых устройств, подключенных к подсистеме ввода-вывода DeltaV.
-
Выбор датчиков полевой шины FOUNDATION
Датчиками давления из семейства SMART FAMILY Модели 3051 фирма Rosemount Inc. устанавливает новый стандарт в технологии измерения давления. Этот новейший датчик сочетает в себе бесподобные эксплуатационные качества, гибкость платформы Coplanar и продвижение с технологией будущего. Эксплуатационные характеристики новой Модели 3051 гарантируют точность и стабильность при большинстве требуемых условий.
Модель 3051 переопределяет качество датчиков давления новой характеристикой всесторонней оценки качества. Для обеспечения лучшего измерения качества при условиях реального процесса эта характеристика сочетает в себе оценки эталонной точности, влияния температуры и давления в линии. Теперь вместо того, чтобы полагаться только на одну эталонную точность, мы можем выбрать датчик, основываясь на действительных эксплуатационных характеристиках.
Выбор в пользу датчиков этой серии был сделан исходя из следующих соображений:
-
Постоянство характеристик во времени;
-
Уменьшенная изменчивость (большее время отклика);
-
Техническая развитость модернизации и замены;
-
Гибкость платформы Coplanar;
-
Многообразие выходных сигналов.
-
Жидкокристаллический индикатор;
-
Местная подстройка нуля и регулировка шкалы;
-
Защита от переходных процессов;
-
Большой срок службы.
Все сенсоры, занятые измерением давления, будут этой серии, так как выпускаемые типы полностью подходят для нашей системы.
-
Датчик перепада давления модели 3051С (используется на трубопроводе между входом и выходом компрессора)
-
Превосходное исполнение: точность 0,075%, изменение шкалы 100:1;
-
Перепад давления: калиброванные шкалы от 0,5 дюймов H2O до 2000 psi;
-
Избыточное давление: калиброванные шкалы от 2,5 дюймов H2O до 4000 psig;
-
Измерение абсолютного давления: калиброванные шкалы от 0,167 psia до 4000 psiа;
-
Нержавеющая сталь, Hastelloy C_ Monel, Тантал (только CD и CG) и покрытые золотом изоляторы технологической среды из Monel;
-
Компактная, жесткая и легкая конструкция для легкой установки.
Разборная схема датчика представлена на Рис. 5.11.
Рис. 5.11 - Типичный датчик 3051 С в разборном состоянии
-
Датчик избыточного и абсолютного давления модели 3051Т (используется на трубопроводе входа и выхода газа)
-
Превосходное исполнение: точность 0,075%;
-
Абсолютное давление: калиброванные шкалы от 0,3 дюймов H2O до 10000 psia;
-
Избыточное давление: калиброванные шкалы от 0,3 дюймов H2O до 10000 psig;
-
Изоляторы технологической среды из нержавеющей стали и Hastelloy C;
-
Конструкция с одним изолятором;
-
Силиконовая или инертная заполняющая жидкость;
-
Имеются соединения с процессом в стандарте DIN и совместимое с автоклавом;
Монтажная и размерная схемы представлены на Рис. 5.12.
Рис. 5.12 - Монтажная и размерная схема датчика 3051Т
-
Датчик давления модели 3051S (используется на трубопроводе анализа давления воды, масла воздуха)
-
Smart - единственный в мире экономичный датчик давления
-
Высокое качество, точность 0,075%
-
Модели с измерением перепада, избыточного и абсолютного давления;
-
Полный набор функциональных элементов модели 3051С, включая цифровой индикатор;
-
Работает от источника напряжения 6-12 В постоянного тока;
-
Потребление энергии от 18 до 36 мВт по сравнению с 200 мВт для типовых датчиков с выходом 4-20 мА;
-
Выбираемые выходы 0,8-3,2 и 1-5 вольт;
-
Сенсорный модуль такой же, как у стандартной (4-20 мА) модели 3051С.
-
Калиброванные шкалы от 2,5 дюймов H2O до 2000 psi;
-
Конструкция небольшого объема с фланцем Coplanar обеспечивает снижение температурного эффекта;
-
Большое разнообразие выбора материалов для мембранных систем и соединений с процессом;
-
Уплотнители удовлетворяют санитарному стандарту 3-А;
-
Высокая способность перестройки диапазона сокращает инвентаризационные затраты;
-
Измерение перепада давления и избыточного давления;
-
S1 Одна выносная мембрана;
-
S2 Две выносные мембраны.
Общий вид датчика модели 3051S представлен на Рис. 5.13.
Рис. 5.13 - Датчик модели 3051S в общем виде
-
Датчик температуры пирометрический серии М18 (используется для анализа температуры воздуха в корпусе двигателя)
-
Диапазон измеряемых температур: 0…300 0С;
-
Длина волны: 8…14 нм;
-
Гистерезис: 5%;
-
Повторяемость: 1 0С;
-
Время отклика выхода: 25 мс;
-
Готовность к работе после включения: 1.5 с;
-
Индикация: два световых диода;
-
Время прогрева: 5 мин.;
-
Класс защиты: IP67;
-
Климатическое исполнение: Т3 (- 20…700С);
-
Материал корпуса: нержавеющая сталь;
Размерная схема представлена на Рис. 5.14.
Рис. 5.14 - Размерная схема датчика М18
-
Выбор аналоговых датчиков
Разнообразие предлагаемых аналоговых датчиков дает огромные возможности в подборе оборудования с необходимыми для нас показателями. Основными факторами при подборе средств измерения были:
-
Широкий функциональный набор;
-
Повышенные термоэлектрическая стабильность и рабочий ресурс;
-
Малый показатель тепловой инерции;
-
Дополнительная защита термоэлектродов от воздействия рабочей среды;
-
Наличие возможности индикации состояния и измеряемых величин;
-
Диагностика и самодиагностика объекта;
-
Взрывозащитное исполнение.
-
Температурный преобразователь ТСМУ – 274 с унифицированным выходным сигналом (расположен непосредственно в месте анализа температуры смазки компрессора и охлаждающей воды)
-
Выходной сигнал: 4-20 мА;
-
Диапазон преобразуемых величин: 0-180 0С;
-
Предел допускаемой основной приведенной погрешности: 0.25, 0.5;
-
Зависимость выходного сигнала от температуры: линейная;
-
Максимальная температура применения: 8000С;
-
Маркировка взрывозащиты: 1ExdIICT6 с видом взрывозащиты взрывонепроницаемая оболочка d;
-
Показатель тепловой инерции: 40 с;
-
Срок службы: не менее 5 лет;
-
Межповерочный интервал: 1 год;
-
Климатическое исполнение: Т6 (от – 20 0С до + 45 0С).
Габаритные и присоединительные размеры датчика представлены на Рис. 5.15.
Рис. 5.15 - Температурный преобразователь ТСМУ – 274 с унифицированным выходным сигналом с габаритными размерами
-
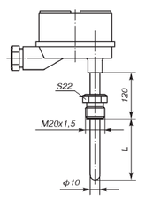
Термоэлектрический преобразователь ТХА 241 (анализ состояния температуры опорного подшипника)
-
Количество чувствительных элементов: 1;
-
Чувствительный элемент: кабель термопарный КТМС;
-
Класс допуска: 2;
-
Диапазон измеряемых температур: - 40…200 0С;
-
Рабочий спай: изолированный;
-
Поверка: раз в год;
-
Климатическое исполнение: Т3 (верхнее значение температуры окружающей среды + 850С);
-
Срок службы: не менее 3 лет.
Габаритные и присоединительные размеры датчика представлены на Рис. 5.16.
















