124679 (593008), страница 7
Текст из файла (страница 7)
Рисунок 2.7.3. Схема действия циклона: 1 - цилиндрическая часть; 2 - патрубок для входа газа; 3 - крышка; 4 - патрубок для выхода газа; 5 - коническая часть.
Степень очистки газов в циклонах составляет 70 - 95% и зависит от свойств пыли. Чем крупнее и тяжелее частицы, тем лучше они улавливаются. Концентрация пыли в газе влияет на степень очистки не очень существенно. Следует иметь в виду, что с увеличением скорости газа в циклоне величина центробежной силы растет, но одновременно увеличивается гидравлическое сопротивление аппарата.
При необходимости обеспечения высокой производительности иногда устанавливают групповые или батарейные циклоны, так как делать один циклон большого диаметра нецелесообразно: с увеличением радиуса циклона будет уменьшаться величина центробежной силы и ухудшаться очистка (поэтому не рекомендуется ставить циклоны диаметром более 800 мм). Можно использовать батареи по два, четыре, шесть, восемь циклонов, работающих параллельно. При очистке газов от очень тонких пылей, имеющих низкую плотность (т. е. когда масса частицы очень мала), для увеличения центробежной силы необходимо уменьшить радиус циклона (скорость газа увеличивать не следует). В этом случае устанавливают батареи, состоящие из нескольких десятков, а иногда и сотен циклонов диаметром 150 - 200 мм. Запыленный газ вводится в кольцевой зазор, образуемый корпусом каждого циклона и выходным патрубком, а для закручивания потока внутренняя труба снабжается винтовой вставкой. Степень очистки в батарейных циклонах ниже, а гидравлическое сопротивление выше, чем в одиночных циклонах.
Для нормальной работы циклона необходимо своевременно удалять пыль из буккера, так как при большом уровне пыли она будет частично захватываться потоком газа и степень очистки снизится. Степень очистки резко уменьшается при наличии неплотностей в циклоне, поскольку засасываемый снаружи воздух движется навстречу ссыпающейся пыли и часть ее выбрасывается в выхлопную трубу. Вследствие этого обязательна проверка герметичности циклонов, как при приемке смонтированной установки, так и периодически при ее эксплуатации. Газоходы от сушилок до циклонов могут забиваться пылью (особенно колена и горизонтальные участки), поэтому их необходимо монтировать с наименьшим количеством поворотов и без горизонтальных участков, снабжать специальными люками для чистки. В некоторых случаях для предотвращения быстрого зарастания стенок циклона улавливаемым материалом аппарат снабжают водяной рубашкой, причем температура воды должна быть на несколько градусов выше точки росы.
В данном технологическом процессе достаточно установить для очистки газа два циклона или один циклон и рукавный фильтр. Второй вариант более предпочтителен, так как позволяет практически полностью очистить газ от частиц слюды.
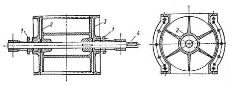
Рукавные фильтры, предназначенные для отделения пыли от уходящих из сушилки газов, обычно ставят после циклонов, однако при сравнительно небольшой запыленности (если основное количество сухого материала выгружается из сушилки) они могут быть единственными пылеочистными устройствами в установке, так как при правильном выборе ткани степень очистки превышает 99 %. Внутри кожуха 3 фильтра (рисунок 2.7.4) вертикально расположены сшитые из ткани рукава (мешки) 4 длиной до 3,6 м и диаметром около 200 мм. Снизу рукава открыты и закреплены на трубной доске, замыкающей нижнюю камеру 2. Сверху рукава закрыты и подвешены на крючках к раме 6 со штангой, выходящей из кожуха. Запыленный газ поступает в аппарат по газоходу 7 в нижнюю камеру, движется вверх по рукавам и через поры ткани выходит в пространство между рукавами и кожухом, а затем удаляется по верхнему газоходу 5. Осевшая внутри рукавов пыль периодически удаляется из них при встряхивании с помощью кулачкового механизма, соединенного с верхней штангой. Одновременно со встряхиванием рукава продуваются воздухом, который специальным небольшим вентилятором подается в направлении, противоположном направлению движения обеспыленного газа. Во время продувки кожух фильтра автоматически отключается от газохода 5. Ссыпавшаяся в коническую часть кожуха пыль удаляется через выгрузочное отверстие 8 шнеком. Обычно фильтр состоит из нескольких камер, одна из которых отключена на очистку, тогда как в остальных идет фильтрование. Переключение происходит автоматически.
Рисунок 2.7.4. Рукавный фильтр: 1 - днище; 2 - нижняя камера; 3 - кожух; 4 - рукав: 5, 7 - газоходы; 6 - рама; 8 - выгрузочное отверстие
При сушке необходимо дозировать, а часто и диспергировать материал, подаваемый в сушилку. В некоторых случаях питатель должен служить одновременно затвором между сушильной камерой и окружающим пространством.
На рисунке 2.7.5 показан лопастной питатель-затвор, применяемый для загрузки и выгрузки материала из сушилок, выгрузки пыли из циклона и т. д.
Рис 2.7.5. Лопастный затвор: 1 - сальник; 2 - ротор; 3 - корпус: 4 - вал
Газораспределительные решетки являются одним из основных элементов сушилок, работающих с кипящим (псевдоожиженным) слоем материала. Они выполняют функцию поддерживающей конструкции для кипящего слоя и способствуют равномерному распределению теплоносителя по сечению сушилки. Решетка должна удовлетворять следующим требованиям: I) обеспечивать равномерное газораспределение; 2) провал материала в подрешеточное пространство должен быть минимальным; 3) быть простой в изготовлении и надежной в работе (легкая очистка, ремонт); 4) гидравлическое сопротивление не должно превышать 1,5 - 2,0 кПа. Решетки распределительного типа, изображенные на рисунке 2.7.6, могут быть плоскими, вогнутыми, выпуклыми; направление струй из колпачков и барботеров - различными.
Рисунок 2.7.6. Газораспределительные решетки: а - перфорированная; б - колпачковая; в - барботажная подача газа
В сушильных установках используют обычно вентиляторы типа ВВД. Центробежные вентиляторы высокого давления серии ВВД (номера 8; 9 и 11) предназначены для перемещения воздуха и газов (при температуре до 100 °С), не содержащих липких и длинноволокнистых веществ. Содержание пыли в среде не должно превышать 150 мг/м3. Вал вентилятора ВВД-11 приводится во вращение от электродвигателя при помощи эластичной муфты, а вал вентиляторов ВВД-8 и ВВД-9 - при помощи ременной передачи и эластичной муфты. Эти вентиляторы создают давление до 10 кПа (1000 мм вод. ст.) и имеют производительность до 20000 м3/ч (в зависимости от номера).
В сушильной установке надо следить за тем, чтобы заданное количество газов (по регламенту) проходило через сушилку, поэтому не должно быть неплотностей в системе и гидравлическое сопротивление всех аппаратов не должно превышать норму.
Сушилки кипящего слоя принадлежат к наименее металлоемким, наиболее простым, а, следовательно, дешевым аппаратам и отличаются от остальных сушилок высокой эффективностью процесса. Несомненно, на рентабельности сушилок кипящего слои сказывается значительная стоимость изготовления решетки, а также необходимость периодической ее чистки. Поскольку расход тепла в газовых сушилках колеблется в небольших пределах и тем меньше, чем меньше удельный расход газов (так как при этом уменьшаются потери тепла с отработанными газами), то в однокамерных сушилках кипящего слон при удельном расходе сушильного агента 5 - 20 кг/кг влаги расход тепла меньше, чем в барабанных сушилках. Только расход энергии на дутье иногда превышает эту же статью расхода в сушилках других типов.
Как уже было отмечено, экономичность сушилки тем выше, чем меньше удельный расход газов. Поэтому особенно выгодны однокамерные сушилки, и, по возможности, именно эти аппараты и следует применять. Более сложные и дорогие многокамерные аппараты возможно рекомендовать лишь в тех случаях, когда это оправдано, т. е. при необходимости снижения температуры теплоносителя по зонам, для получения равномерно высушенного продукта и т. д.
Поскольку во всех газовых сушилках применяются более или менее однотипные пылеулавливающие аппараты и установки для получения теплоносителя, то увеличение расхода энергии в сушилках кипящего слоя происходит только из-за гидравлического сопротивления слоя. [7]
2.8 Транспортирование материала
При выборе типа, конструкции и исполнения транспортирующих аппаратов необходимо учитывать следующие факторы:
1) состояние транспортируемого материала, его физические и химические
свойства (крупность кусков, хрупкость, коррозионные свойства, возможное измельчение при перемещении, склонность материала к слипанию и слеживанию, плотность, угол естественного откоса, размеры);
2) производительность машины;
3) длину и траекторию перемещения, размеры и форму помещений;
4) технологический прогресс, перспективы развития предприятия;
5) технику безопасности;
6) хранение материалов и способы загрузки и разгрузки транспортных устройств;
7) климатические условия (для установок, работающих на открытых площадках);
8) экономические показатели.
Из отстойника отходы слюдопластового производства перемещаются в приемный короб барабанной мельницы при помощи винтового конвейера.
К преимуществам винтовых конвейеров относятся компактность, герметичность, простота конструкции и эксплуатации, удобство промежуточной разгрузки, а также возможность транспортирования мокрых и тестообразных материалов (при специальной форме винта). Конструкция винтового конвейера позволяет совмещать операцию транспортирования материалов с некоторыми технологическими процессами (охлаждение, увлажнение, сушка, смешивание). Эти достоинства определяют применение данного аппарата в установке по переработке отходов слюдопластового производства. Конвейер находится в наклонном положении, поэтому слюда будет частично не только измельчаться при перемещении, но и обезвоживаться. Конструкция винтового транспортера представлена на рисунке 2.8.1.
Винтовой конвейер состоит из неподвижного желоба 4 полукруглой формы, внутри которого расположен рабочий орган - винт 5, вращающийся в подшипниках 3. Винт вращается при помощи привода 8, состоящего из электродвигателя и редуктора. Транспортируемый материал загружается через загрузочное отверстие 2. Материал под действием винта поступательно движется по желобу. При этом вращение материала вместе с винтом исключено, так как этому препятствует сила тяжести частиц материала. Разгрузка винтового конвейера может производиться в любом месте по его длине через патрубок 6 с задвижкой 7. Желоб сверху обычно закрывается крышкой 1. Винтовые конвейеры хорошо зарекомендовали себя при транспортировании пылящих (кальцинированная порошкообразная сода, апатитовый концентрат, фосфоритная мука, колчеданный огарок), остро пахнущих и горячих выделяющих газы и пары материалов. Их используют также для транспортирования вязких и тестообразных (мокрая глина и т.д.) материалов.
Рисунок 2.8.1. Горизонтальный винтовой конвейер: 1 - крышка; 2 - загрузочное отверстие; 3 - подшипник; 4 - неподвижный желоб; 5 - винт; 6 - патрубок; 7 - задвижка; 8 – привод
Винтовые конвейеры незаменимы в небольших помещениях, когда необходимо транспортировать малое количество материала на короткие расстояния. Поэтому винтовой транспортер также используется и для перемещения отжатой в центрифуге слюды в бункер сушилки кипящего слоя.
Применяются винтовые конвейеры с винтом следующих размеров: диаметр 100
600 мм, длина до 30
40 м, а в отдельных случаях до 50
60 м. Производительность винтовых конвейеров составляет в среднем 20
40 м3/ч, но при больших размерах винта может доходить до 100 м3/ч и более. Винтовые конвейеры выполняют горизонтальными или пологонаклонными (устанавливают под углом до 20° к горизонту) и вертикальными (для перемещения порошкообразных удобрений, поташа, крахмала, соли и др.). В конструкции вертикального конвейера предусматривается подача материала от горизонтальных винтовых конвейеров, которые создают подпор материала.
Для транспортирования высушенного порошка слюды из сушилки кипящего слоя в фасовочно-упаковочный аппарат лучше использовать ленточный транспортер, чем винтовой. Порошок будет быстрее остывать на открытой ленте, чем в закрытом желобе. Лента должна быть в таком случае жаропрочной.
Ленточный конвейер является широко распространенным типом транспортирующих устройств непрерывного действия с тяговым органом. Основной рабочий орган ленточного конвейера - гибкая замкнутая лента, на которой транспортируется груз. В ленточных конвейерах в качестве тягового элемента применяются резинотканевые (ГОСТ 20-85, ГОСТ 23831-79), резинотросовые (ТУ 38-105841-75) и стальные (ТУ-14-1-525-73) ленты. Область применения ленточных конвейеров достаточно широка: механизация, загрузка и разгрузка складов сырья, подача сырья из склада в цех, перемещение грузов от одного аппарата к другому, транспортирование готового продукта из цеха в склад и т.д.
К достоинствам ленточных конвейеров следует отнести высокую производительность (до 1000 м3/ч и более), широкий диапазон скоростей и
размеров (ширины ленты), непрерывность и равномерность перемещения грузов, пригодность для транспортирования на большие расстояния, простоту устройства и эксплуатации, небольшие энергозатраты и пригодность для перемещения как мелкозернистого сыпучего материала, так и крупнокускового, а также штучных и тарных грузов. В качестве недостатков ленточных конвейеров можно отметить непригодность обычной текстильной ленты для транспортирования горячих спекающихся материалов, возможность химического и механического разрушения, пыление при перемещении порошкообразных материалов и сравнительно малые допускаемые углы наклона конвейера к горизонту. [4]















