124566 (592980)
Текст из файла
Содержание
Введение
1. Технология очистки пробок эксплуатационной колонны
1.1. Удаление пробок желонками
1.2. Удаление песчаной пробки промывкой
1.2.1. Расчет прямой промывки песчаной пробки
1.2.2. Расчет обратной промывки песчаной пробки
1.3. Чистка скважин аэрированной жидкостью
2. Выбор подъемника
2.1. Выбор подъемных приспособлений
2.2. Расчет талевого блока
2.3. Расчет использования скоростей лебедки
Заключение
Список литературы
Введение
Выбор оборудования и технологии очистки пробок обусловлен типом пробки, местом ее расположения, состоянием эксплуатационной колонны (степенью ее герметичности и износа), пластовым давлением.
Технологию отчистки пробок выбирают таким образом, чтобы, с одной стороны ее удалить, а с другой стороны – свести к минимуму ухудшение гидродинамических свойств пласта, например, в результате попадания в него технологических жидкостей, используемых для промывки.
Целью дипломного проекта является анализ технологии образования и очистки в процессе эксплуатации скважины песчаных пробок. Песчаные пробки бывают забойными, образующимися на забое скважины, и патронными, располагающимися в средней и верхней части колонны. Пробки бывают рыхлыми и плотными.
Существуют два основных метода очистки скважин – удаление песчаных пробок желонками и промывкой. В дипломном проекте будет представлен сравнительный анализ данных методов очистки скважин.
В первом случае в колонну труб на канате последовательно опускают и поднимают желонку – цилиндрическую емкость, снабженную каналами и рядом устройств для захвата материала пробки, например песка, подъема его на поверхность и быстрого опорожнения.
Во втором случае в засоренные подъемные трубы или эксплуатационную колонну спускают колонну промывочных труб и специальными промывочными насосами создают циркуляцию жидкости для размывания пробки и выноса составляющих ее материалов на поверхность.
При образовании песчаной пробки в случае полного прекращения подачи пластовой жидкости давление в нижней части колонны увеличивается и в процессе удаления пробки может произойти выброс части пробки, нефти, а иногда и оборудования, спущенного в скважину. Поэтому при удалении пробки следует строго выполнять правила техники безопасности, которые также освещены в дипломном проекте.
Целью расчетной части дипломного проекта является расчет прямой и обратной промывки песчаных пробок, выбор подъемника, расчет талевого блока.
1. Технология очистки пробок эксплуатационной колонны
1.1. Удаление пробок желонками
Преимущества этого метода – простота применяемого оборудования и процесса очистки, исключение проникновения в призабойную зону пласта технологических жидкостей; возможность очистки скважин с негерметичными эксплуатационными колоннами.
Недостатки метода: длительность процесса; возможность протирания эксплуатационной колонны; возможность обрыва каната, на котором спускается инструмент; загрязнение территории вокруг устья скважины извлеченным материалом пробки; невозможность чистки желонкой колонн, имеющих смятия или сломы.
При очистке желонкой скважины она должна быть оборудована подъемником, колона подъемных труб должна быть поднята и уложена на мостики, рядом с устьем скважины установлены отбойный ящик для сбора материала пробки.
Диаметр желонки выбирает исходя из диаметра колонны, в которой образовалась пробка.
Диаметр труб, мм…144 127 140 146 168 и более
Диаметр желонки, мм…73 89 89 89 114
В зависимости от характера пробки используют следующие типы желонок: для рыхлых пробок – простые, при плотных – поршневые, в специальных случаях – автоматические. Простую желонку подвешивают на тартальном канате диаметром 16 или 19,5 мм при оснастке талевой системы «на прямую». В процессе работ следует систематически проверять надежность крепления каната к желонке и состояние каната.
Длина каната, намотанная на барабан желонки, должна быть такой, чтобы при самом нижнем положении желонки в скважине на барабане оставалась бы не менее одного ряда каната.
Простая желонка представляет собой трубу диаметром 73-114 мм и длиной 8-12 м с тарельчатым и шариковым клапаном на нижнем конце и дужкой для крепления каната на верхнем конце. Хотя желонки подобной конструкции малоэффективны, но из-за простоты конструкции их часто применяют на промыслах.
В процессе работы желонку опускают на канате со средней скоростью. За 10-15 м до пробки скорость увеличивают и желонка врезается в пробку, клапан в нижней части открывается и песок вместе с жидкостью наполняет ее внутренний объем. Для надежного закрытия клапана желонку открывают от забоя на максимальной скорости подъема.
Подняв желонку из скважины, ее с помощью крючка отводят от устья к отбойному ящику, в дне которого укреплен стержень. Установленный на стержне клапан открывается, и песок вместе с жидкостью стекает в ящик.
Освобожденную желонку опускают в скважину и повторяют процесс ее заполнения.
Поршневые желонки (рисунок 1) отличаются от простых наличием в них поршня, установленного на штоке, свободно проходящем через верхнюю крышку корпуса. Шток поршня должен быть достаточно массивным, чтобы обеспечивать его движение вниз относительно корпуса желонки при провисании каната. Для амортизации удара на шток надеты две пружины – одна снаружи, другая внутри корпуса.
Для обеспечения перетока жидкости из подпоршневой полости в надпоршневую в поршне имеются ряд осевых каналов, закрытых сверху эластичной шайбой. Клапан в нижней части желонки снабжен штоком с ликообразным наконечником.
При достижении желонкой забоя клапан открывается, а опускается вниз, пока верхняя пружинка не упрется в пробку.
Во время подъема каната сначала начинает двигаться вверх поршень, в результате давление под поршнем уменьшается, и песок с жидкостью через открытый клапан засасывается внутрь корпуса. После отрыва корпуса желонки от забоя клапан закрывается и предупреждает освобождение желонки от песка.
| Рисунок 1. Поршневая желонка: 1, 3 - пружина, 2 - корпус, 4 - шток, 5 - шайба эластичная, 6 – поршень, 7 – клапан | Рисунок 2. Автоматическая желонка: 1 — головка, 2 — шариковый клапан, 3 — стакан, 4 — конусный клапан, 5 — ударник; 6 — шариковый фиксатор; 7 —пру жива; 8 — заслонка; 9 — приемный клапан, А — воздушная камера, Б — песочная камера, В — выпускное отверстие |
Для хорошего наполнения желонки ее несколько раз сажают на забой, опуская поршень в нижнее положение.
После подъема желонки на поверхность ее крючком отводят к отбойному ящику, опирают штоком клапана на его дно. После вытекания жидкости с песком процесс повторяют.
Автоматическая желонка (рисунок 2)имеет более сложное по сравнению с описанными устройство. Принцип ее действия основан на использовании двух герметичных камер – воздушной и песочной. Эти камеры имеют герметичные клапаны. Приемный клапан при достижении желонкой песчаной пробки открывается, и поскольку давление в скважине значительно превышает давление воздуха во внутренней полости желонки, песочная камера интенсивно заполняется материалами, образовавшими пробку. При заполнении песочной камеры воздух, находившийся в воздушной камере, сжимается, при подъеме желонки на поверхность давление в ней сохраняется и поддерживается на уровне 1МПа.
После извлечения желонки из скважины ее отводят в сторону от скважины и устанавливают в отбойный ящик. При открытии нижнего спускного отверстия содержимое желонки давлением сжатого воздуха, находящегося в воздушной камере, интенсивно вытесняется из внутренней полости песочной камеры желонки. Во время открытия спускного отверстия под давлением реактивной силы желонка смещается вбок, поэтому ее необходимо надежно упереть в дно ящика-отбойника и предусмотреть меры, исключающие попадание выбрасываемого содержимого желонки на рабочих.
Автоматические желонки работают тем лучше, чем выше столб жидкости в скважине над пробкой. Однако эффективность их работы в основном зависит от герметичности клапанов. Даже незначительная утечка воздуха или жидкостно-песочной смеси приводит к резкому уменьшению степени ее наполнения и скорости опорожнения.
В процессе очистки песчаной пробки желонкой следует соблюдать следующие правила.
-
Выбирать скорость спуска желонки таким образом, чтобы предупредить образование петель каната, которые могут возникнуть во время спуска желонки в скважину и в том случае, если она зацепляется за выступ колоны труб.
-
При подъеме не допускать затаскивания желонки под кронблок. Для этого на тартальном канате выше желонки на 100 м навязывают метку. При подходе метки к барабану лебедки машинист уменьшает скорость подъема и сосредотачивает внимание на устье скважины, ожидая появление желонки.
-
При спуске желонки при приближении ее к уровню жидкости в скважине скорость вращения барабана лебедки должна быть уменьшена, поскольку в период погружения желонки в жидкость ее скорость резко уменьшается, что может привести к образованию петли из тартального каната.
-
Для лучшей ориентации тракториста и накате должна быть укреплена метка, соответствующая забою скважины. Приложение этой метки к устью скважины означает посадку желонки на забой, образованный песчаной пробкой.
-
После посадки желонки на максимально возможной скорости спуска на песчаную пробку она должна без промедления подниматься на поверхность.
-
При чистке песчаных пробок запрещается опорожнять желонку непосредственно на пол рабочей площадки.
-
В случае соскальзывания тартального каната с оттяжного ролика или кронблочного шкива следует прекратить спускоподъемные операции, а канат до завода его в ролик или шкив надежно закрепить на устье двумя зажимами, расположенными накрест. Запрещается чистить желонкой песчаные пробки в фонтанных скважинах, выделяющих газ.
При промывке пробок в скважинах, из которых возможны выбросы, следует на промывочных трубах установить противовыбросную задвижку или на устье герметизирующее устройство и применять промывочную жидкость с удельным весом, обеспечивающим гидростатистическое давление столба большее, чем пластовое давление.
-
Промывочный шланг должен иметь по всей длине петлевую обвивку из мягкого металлического канатика, прочно прикрепленного к стояку и вертлюгу.
-
При промывке песчаной пробки водой промывочную жидкость следует отводить в промышленную канализацию. Промывать пробки нефтью следует по замкнутому циклу.
-
В ночное время при внезапном выключении освещения во время промывки скважины следует находящиеся в ней трубы приподнять и посадить на элеватор, не прекращая циркуляцию промывочной жидкости.
1.2. Удаление песчаной пробки промывкой
Для реализации этого способа в скважину опускают колонну промывочных труб, а устья скважины размещают насосы, резервуары с промывочной жидкостью и другое оборудование, необходимое для промывки по одному из следующих способов: прямой, обратной, комбинированной или непрерывной.
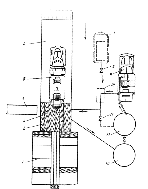
Расположение оборудования у устья скважины, эксплуатирующейся, например, штанговым скважинным насосом, может быть следующим (рисунок 3): устанавливают подъемник, как обычно при спускоподъемных операциях, - по одной оси с мостиками, а промывочный агрегат – напротив станка-качалки, не более чем в 10 м от устья скважины так, чтобы его кабина не была обращена к устью. Позади агрегата может быть расположена емкость для промывочной жидкости или автоцистерна.
Промывочная жидкость, поступающая из скважины, может непосредственно направляться в промывочную канализацию либо в специальную емкость, располагаемую рядом с устьем.
Рисунок 3. Схема размещения оборудования при промывке скважин жидкостью и аэрированной жидкостью (показано пунктиром):
1 — мостки-стеллажи; 2 — рабочая площадка; 3 — устье скважины; 4 — балансирный ставок-качалка; 5 — подъемная лебедка (агрегат подземного ремонта); 6 — площадка для агрегата; 7 — компрессор; 8— вентиль регулировочный, 9 — установка насосная; 10 — аэратор; 11 — вентиль; 12, 13 —емкость
Промывочную жидкость выбирают исходя из индивидуальных особенностей скважины: безводные нефтяные скважины целесообразно промывать только чистой нефтью, поскольку применение воды приводит к осложнениям при последующей эксплуатации; скважины с повышенным пластовым давлением промывают раствором или соленой водой, плотность которых исключает выбросы или фонтанирование. В процессе промывки скважин необходимо следить за удельным весом промывочной жидкости и в случае его уменьшения, например аэрации – сменить жидкость. Скважины, не склонные к выбросам или фонтанированию, промывают технической или пластовой водой. Скважины с низким пластовым давлением, склонные к поглощению, целесообразно промывать аэрированной жидкостью.
В качестве промывочных труб используют насосно-компрессорные трубы, тип и диаметр которых выбирают в зависимости от конструкции скважин. Если промывочные трубы спускают ниже башмака первого ряда труб, то целесообразно использовать муфты с увеличенной фаской, что позволяет избежать ударов о башмак при подъеме колонны.
Для повышения эффективности процесса разрушения пробки на башмак промывочной колонны навинчивают наконечники, имеющие вид торцевой фрезы ил накосо срезанного патрубка.
Прямую промывку осуществляют подачей промывочной жидкости к пробке через спущенную в скважину колонну промывочных труб. При этом материалы, составляющие размываемую пробку, выносятся на поверхность по кольцевому пространству между эксплуатационной колонной и колонной промывочных труб.
Колону труб привинчивают к вертлюгу (рисунок 4), который, в свою очередь, подвешивают на ключ талевой системы. Вертлюг соединяют гибким шлангом мо стояком, к которому от насоса подводится промывочная жидкость.
Прямая промывка наиболее эффективна при удалении крепких пробок. Ее недостатком является необходимость обеспечения значительного расхода промывочной жидкости, так как подъем жидкости происходит по кольцевому пространству, площадь поперечного сечения которого велика, а следовательно, скорость подъема жидкости превышала скорость падения частиц песка в жидкость. Последовательность операций при прямой промывке следующая.
При подготовительных работах у устья скважины устанавливают агрегат подземного ремонта (или оснащают стационарную эксплуатационную вышку талевой системой), монтируют стояк, устанавливают промывочный агрегат, технологические емкости, оборудуют устье скважины головкой, соединяют трубопроводами все узлы и агрегаты.
Характеристики
Тип файла документ
Документы такого типа открываются такими программами, как Microsoft Office Word на компьютерах Windows, Apple Pages на компьютерах Mac, Open Office - бесплатная альтернатива на различных платформах, в том числе Linux. Наиболее простым и современным решением будут Google документы, так как открываются онлайн без скачивания прямо в браузере на любой платформе. Существуют российские качественные аналоги, например от Яндекса.
Будьте внимательны на мобильных устройствах, так как там используются упрощённый функционал даже в официальном приложении от Microsoft, поэтому для просмотра скачивайте PDF-версию. А если нужно редактировать файл, то используйте оригинальный файл.
Файлы такого типа обычно разбиты на страницы, а текст может быть форматированным (жирный, курсив, выбор шрифта, таблицы и т.п.), а также в него можно добавлять изображения. Формат идеально подходит для рефератов, докладов и РПЗ курсовых проектов, которые необходимо распечатать. Кстати перед печатью также сохраняйте файл в PDF, так как принтер может начудить со шрифтами.















