122841 (592716), страница 2
Текст из файла (страница 2)
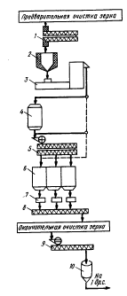
Основные этапы переработки зерна: подготовка зерна к размолу, размол зерна в муку, хранение и упаковка, муки в тару. Для получения кондиционной муки необходима тщательная подготовка зерна, которая включает следующие основные операции: формирование помольной партии, очистку зерна от примесей, очистку поверхности зерна сухим или влажным способами, гидротермическую обработку зерна (БутовскийВ.А., Мельников Е.А.). Формирование помольной партии проводят для поддержания стабильности технологического процесса переработки зерна в течение длительного времени и получение муки с заданными хлебопекарными свойствами. Смешивая разнокачественное зерно, не только получают муку со стабильными свойствами, но и добиваются рационального и эффективного сырья. Формирование партий позволяет не только использовать для переработки зерно пониженного качества, из которого самостоятельно невозможно выработать кондиционную муку, но часто сопровождается эффектом смесительной ценности, приводящим к улучшению хлебопекарных свойств. Переработка высококачественного зерна без добавления партий пониженного качества приводит к нерациональному использованию сырья и получения муки со значительными колебаниями хлебопекарных свойств. Оптимальное соотношение отдельных компонентов в помольной партии устанавливают пробными лабораторными помолами смесей с различным соотношением компонентов и последующей оценкой их хлебопекарных свойств. (Личко И.М.) Формируют партии либо на элеваторах, либо непосредственно в подготовительных отделениях мукомольных заводов. Содержащаяся в зерновой массе примеси ухудшают качество вырабатываемой муки, могут быть причиной поломки рабочих органов машин, поэтому при подготовке зерна к помолу необходимо удалить основное количество примесей, используя их отличия от зерна в физических свойствах (Мерко И. Т.). Выделяют крупные и мелкие примеси в машинах, рабочими органами которых являются сита или решета. Чаще всего применяют штампованные сита с круглыми или продолговатыми отверстиями. Для отделения крупных и мелких примесей в основном используют комбинированные воздушно- ситовые сепараторы (А1-БИС-100).
Технологическая схема А1-БИС l – исходное зерно, ll – крупные примеси, lll – мелкие примеси, Vl - очищенное зерно, V- легкие примеси. Легкие примеси выделяют в воздушных сепараторах потоками воздуха, движущегося со скоростью, достаточной для уноса легких примесей и недостаточной для уноса зерна. Минеральные примеси выделяют по плотности, которая примерно в два раза больше, чем у зерна. Для их разделения используют несколько типов камнеотделителей, наиболее совершенный из них– вибропневматический.
Для повышения эффективности очистки зерна от примесей и разделения зерновой массы на фракции по плотности применяют новую машину – концентратор, принцип действия которого основан на просеивание зерна на плоском наклонном сите в восходящем потоке воздуха.
Технологическая схема концентратора типа А1-БЗК. 1,2 –ситовые рамы.3- регулировочный клапан. I – исходное зерно, II – тяжелая фракция зерна,III – легкая фракция зерна,IV – трудноотделимые примеси, V – мелкие примеси, VI – легкие примеси.
Металломагнитные примеси выделяют с помощью статических магнитов, реже – электромагнитов. Обязательно устанавливают магнитные сепараторы перед машинами ударно – истирающего действия (обоечные, щеточные машины), машинами для измельчения зерна, а так же на контроле готовой продукции (Бутковский В.А, Мельников Е.М.).
Технологическая схема магнитного сепаратора У1-БММ 1- приемный патрубок,2- распределительный конус, 3,5 – магниты,4- диамагнитный диск, 6 – выпускной конус I-исходная мука, II- очищенная мука, III- металлические примеси.
На поверхности зерен, особенно в бородке и бороздке, всегда имеется не удаленная, в зерноочистительных машинах, пыль и прилипшая грязь, от которых необходимо по возможности избавиться. Сухим способом очищают зерно в основном в обоечных машинах, реже – в щеточных машинах, в обоечных машинах - зерно обрабатывают бичами, которые подхватывают его и отбрасывают к рабочей поверхности, выполненной из стального листа, абразивного материала или специальной металлотканой сетки. Обоечные машины со стальной поверхностью воздействуют на зерно наиболее мягко; с абразивной поверхностью – наиболее интенсивно; обоечные машины с металлической сеткой по интенсивности воздействия занимают промежуточное положение (Егоров Г.А.).
Технологическая схема обоечной машины РЗ-БГО-6 1- приемное устройство, 2- бичевой ротор, 3- сетчатый цилиндр, 4- пневмосепарирующий канал, 5- подвижная сетка. I – исходное зерно, II – продукты шелушения, III – очищенное зерно, IV – воздух с легкими примесями.
Для более мягкой очистки и частичного извлечения пыли и грязи из бороздки применяют щеточные машины, в которых зерно обрабатывается щетками вращающегося щеточного барабана и неподвижными щетками щеточной деки. Влажным способом поверхность зерна очищают в моечных машинах мокрого шелушения. Наиболее эффективна очистка зерна в моечных машинах. В них удаляется пыль и грязь не только с поверхности зерна, но и из бороздки, кроме того, выделяются минеральные и легкие примеси. Моечные машины состоят из моечной ванны и очистительной колонки (Бутковский В.А.).
Технологическая схема моечной машины Ж9- БМА.1-приемная воронка, 2- задвижка, 3- шаровое основание, 4- ось, 5- приемный ковш, 6- верхние шнетки, 7 – нижние шнетки, 8- ижекторная труба, 9-выход мелких примесей, 10 – ситовой цилиндр, 11- бичевой ротор. I –исходное зерно, II- легкие примеси, III- вода, VI – воздух,V – очищенное зерно.
Несколько мене эффективными, но требующими почти в 10 раз меньшего расхода воды, являются машины мокрого шелушения. Эти машины представляют собой, по сути, отсилосную колонку с небольшой моечной ванной в ее нижней части. Технология производства сортовой муки основана на избирательном измельчении эндосперма и оболочек зерна. Оболочки, обладая большим сопротивлением к измельчению, дробятся в меньшей степени, чем эндосперм, и чем больше разница их прочностных свойств, тем эффективнее последующее разделение. У сухого зерна различие в прочностных свойствах эндосперма и оболочек меньше, чем у влажного, поэтому перед размолом его необходимо увлажнять (Мерко И.Т.) Увлажнение является основой, так называемой гидротермической обработки зерна, то есть обработки водой и теплом. Существует несколько способов обработки: холодное, горячее и скоростное кондиционирование. Наиболее распространено холодное кондиционирование, как наиболее простое и достаточно эффективное. Технологическая схема холодного кондиционирования включает всего две операции: увлажнение зерна и его отволаживание (отлежку) в бункерах.
После увлажнения влага постепенно проникает в зерно. Вначале она сосредоточена в оболочках. Проникая, в эндосперм, влага способствует ее разупрочнению, образуя в ней закритические напряжения, вследствие повышения градиента влажности и неравномерного набухания биополимеров. Так как, влажность наружных и внутренних слоев эндоспермы различна, набухают они неравномерно, что вызывает напряженное состояние материала. Кроме того, крахмал и белки в клетках эндоспермы каждого слоя набухают также не равномерно. В результате при достижении критических значений напряжения в эндосперме начинается образование микротрещин. Трещины являются капиллярами, по которым влага проникает внутрь зерновки с расклинивающим эффектом. Таким образом, происходят предразрушение и разупрочнение эндоспермы. Для завершения этого процесса требуется время – от нескольких часов до суток и более. По – иному изменяются свойства оболочек. С повышением влажности они пластифицируются, снижается их хрупкость. Это происходит вследствие набухания полисахаридов – гемицеллюлоз, клетчатки и лигнина (Трисвятский Л.А.). Таким образом, холодное кондиционирование способствует усилению дифференциации структурно – механических свойств оболочек и эндоспермы, что облегчает проведение сортового помола и снижает дробимость оболочек. Завершает процесс подготовки зерна к помолу дополнительное увлажнение и отволаживание непосредственно перед размолом. Продолжительность отволаживания на заключительном этапе кондиционирования 20-30 минут. За столь небольшое время влага успевает проникнуть в эндосперм, остается в оболочках, что способствует еще большей их пластификации (Личко И.М.)
1.3 Влияние технологических свойств зерна на качество и выход муки
В мукомольном производстве технологические свойства зерна принято оценивать по выходу и зольности (белизне муки). Выход и качество готовой продукции зависят от особенностей анатомического строения зерна, относительного содержания эндоспермы (ядра), формы и крупности зерна, особенности организации и выделения технологического процесса. На выход и качество муки непосредственное влияние оказывает влажность зерна и способы подготовки его и окончательной переработки (Егоров Г.А.). Зольность – количество золы, образовавшейся при сжигании зерна или других продуктов и вычисленная в процентах к сухому веществу сжигаемого продукта. Зольность анатомических частей зерна неодинакова: наибольшую зольность имеют оболочки с алейроновым слоем, наименьшую - эндосперм. Зольность, будучи косвенным показателем соотношения частей, зерна, имеет большое значение для контроля степени отделения оболочек эндоспермы и оценки качества муки. Чем выше зольность муки, тем больше в ней содержится оболочек, тем темнее мука и ниже ее сорт.
Таблица 4. Зольность зерна мягкой пшеницы, %, на абсолютно сухое вещество
| зольность | зерно | эндосперм | Оболочки с алейроновым слоем | зародыш |
| максимальная | 2,03 | 0,51 | 9,83 | 6,08 |
| средняя | 1,95 | 0,46 | 8,49 | 5,98 |
| минимальная | 1,81 | 0,38 | 7,54 | 5,11 |
Зольность служит также важным показателем мукомольных свойств зерна, так как она характеризует качество конечных продуктов переработки. Зольность зерна, как относительный показатель ее качества используют при расчете выхода муки. Зольность зерна зависит от сортовых особенностей и почвенно-климатических условий по произрастанию. Однако из зерна различной зольности необходимо получить муку зольностью не выше нормы. В последние годы такой показатель качества муки, как зольность успешно заменяется показателем ее белизны, определяемой с помощью специальных приборов – белизномеров (Беркутова Н.С, Швецова И.А., Бутковский Е.А.). Стекловидность- это важный показатель технологических свойств зерна, который определяет режим подготовки зерна к помолу, к стекловидным зернам относят, зерна которые слабо преломляют луч света при просвечивании, кажутся прозрачными, мучнистые зерна не прозрачны и при просвечивании кажутся темными, в разрезе они белые. Встречаются зерна частично стекловидные. Стекловидность, характеризуется структурно механическими свойствами эндоспермы и сопротивляемостью зерна разрушающим усилиям, влияет на интенсивность его измельчения и на условия формирования промежуточных продуктов по их количеству и качеству. Стекловидное зерно вымалывается легче, чем мучнистое, и дает большой выход крупок. Влажность имеет большое значение не только при хранении зерна, но и при его переработке. Следует отличать естественную влажность зерна, с которым оно поступает на предприятие. Хранится и передается на переработку, от так называемой технологической влажности, которая создается искусственно и с которой зерно размалывают. При сортовом помоле, в процессе гидротермической обработки зерну придают оптимальную влажность, величина которой в зависимости от определенных показателей зерна колеблется от 14,5 до 16,5 и которая предопределяет лучшие результаты его переработки (Трисвятский Л.А.). При гидротермической обработке пшеницы вода в оболочках с развитой капиллярной системой выступает, как пластификатор, способствуя нарастанию пластических деформаций и, следовательно, усилению прочности и вязкости оболочек. Проникновение воды снижает прочность эндосперма. При переработке зерна повышенной влажности (15,5 – 16,5 %) значительно улучшается качество муки, но снижается производительность мукомольного завода и увеличивается расход электроэнергии на выработку муки. Зерно влажностью свыше 18% практически размолоть в муку невозможно. При переработке сухого зерна с плотностью менее15%, его оболочки легко деформируются, дробятся и, попадая вместе с частицами эндоспермы в муку, резко ухудшают ее качество. Поэтому увлажнению зерна в мукомольном производстве уделяют большое внимание. Линейные размеры зерна (длина, ширина, толщина) дают представление о его крупности. Размеры зерен пшеницы - толщина от 1,5 до 3,3; ширина от 1,6 до 4,0; длина от 4,8 до 8,0 мм. (Егоров Г.А.). При переработке выполненного зерна округлой формы получают больше муки, чем при переработке зерна, имеющего граненую форму и заостренные края. Если относительное содержание зерен крупной и средней фракции в зерновой партии составляет 85%, то зерно считают однородным или выровненным по крупности. Проход через сито с отверстиями размером 1,72,0 мм относят к неполноценным зернам. Выровненное зерно лучше очищается от примесей, так как можно более точно подобрать соответствующий размер отверстий сит для сепарирующих машин, размер и форму ячеек в триерах, скорость воздушного потока в аспирационных машинах, выбрать рабочие зазоры в измельчающих машинах. Выравненность зерна значительно влияет на выход и качество продуктов измельчения пшеницы. Поэтому на мукомольных заводах зерно сортируют по крупности и выделяют фракцию мелкого зерна. Мелкое зерно имеет очень низкие мукомольные свойства, его присутствие в перерабатываемом зерне существенно снижает выход и качество муки. Поэтому его отбирают проходам через сита с отверстиями размером 2,0 ? 20 мм или 2,2?2,0 и используют для кормовых целей. Натура – это масса 1 л. зерна, выраженная в граммах. На величину натуры в состоянии свободного уплотнения влияют форма, характер поверхности и влажность зерна, его выравненность, характер и количество примесей (Мерко И.Т.). Зерна округлой формы или с гладкой поверхностью укладываются плотнее, чем удлиненные или с шероховатой поверхностью. При повышении влажности натура зерна уменьшается. Крупные органические примеси уменьшают натуру, минеральные – увеличивают. В однородном по форме и качеству зерне, чем выше натура, тем меньше содержится оболочек и больше эндоспермы, следовательно, тем лучше мукомольные свойства зерна. Таким образом, как следует из обзора литературы, вопросы мукомольного производства изучены достаточно хорошо. Однако в связи с появлением новых сортов пшеницы и увеличения количества мини- мельниц необходимо дальнейшее изучение технологии получения муки. Поэтому тема дипломной работы посвящена изучению особенности получения муки на мини- мельнице ЗАО «Балаково- мука».
2. Анализ производства муки на ЗАО «Балаково- мука»
Закрытое акционерное общество « Балаково- мука», занимается производством муки высшего и первого сортов. Предприятие находится в девяти километровой зоне от города Балаково, на территории Балаковского элеватора. Предприятие оборудовано складами для зерна, отрубей и хранения готовой продукции. ЗАО «Балаково- мука» оснащено чешским оборудованием марки «Прокоп», которое является основным средством производства. Процесс производства на нем полностью механизирован. Здание предприятия имеет три этажа с поэтажным размещением машин. Максимальное количество зерна, которое мельница может переработать в сутки 50-60 тонн, но в настоящий период предприятие перерабатывает лишь 25 тонн в сутки, из-за отсутствия рынка сбыта продукции и средств на закупку продовольственного зерна. На ЗАО «Балаково- мука» имеется производственная лаборатория. Лаборатория оснащена необходимым оборудованием для контроля качества поступающего сырья и готовой продукции. Трудовые ресурсы предприятия ЗАО «Балаково- мука» составляют 31 человек. Такая численность рабочих оптимальна для предприятия. Продукция предприятия реализуется в городе Балаково и Балаковском районе, а так же в городе Саратове. Целью данной работы является изучение технологии производства муки высшего и первого сортов в условиях ЗАО «Балаково- мука». Основным сырьем предприятия является зерно. Поставщиками зерна являются близь лежащие хозяйства, а также хозяйства соседних областей, в частности Волгоградской области и Жирновского района. Контроль качества зерна, поступающего на ЗАО «Балаково- мука» осуществляется работниками производственной технологической лаборатории, которая проводит проверку соответствия качества зерна нормам, установленным действующей нормативной документации. Для проверки соответствия качества зерна требованиям нормативно-технологической документации, анализируют среднюю пробу массой 2,0- 0,1 кг, выделенную из объединенной или среднесуточной пробы. Стандарты на зерно предусматривают определенные органолептические показатели: Запах, цвет, вкус согласно ГОСТ10967-90, а так же физико-химические показатели: влажность, засоренность зерна, выравненность зерна, натуры зерна, зараженность зерна вредителями, повреждения зерна пшеницы клопом- черепашкой, стекловидность, определения типового состава зерна пшеницы, определение качества и количества сырой клейковины. Определению анализируемых показателей качества зерна пшеницы и готовой продукции осуществляется по ГОСТ, в производственно-технической лаборатории:















