122816 (592714)
Текст из файла
Міністерство освіти і науки України
Сумський державний університет
Факультет технічних систем та енергоефективних технологій
КВАЛІФІКАЦІЙНА ВИПУСКНА РОБОТА БАКАЛАВРА
на тему “Автоматичні рівноважні пристрої як безконтактні ущільнення”
Виконавець роботи
Науковий керівник
Суми 2010
Функції рівноважних пристроїв та вимоги до них
Робочі колеса одностороннього входу багатоступеневих відцентрових машин (рис. 1) для забезпечення підведення рідини до наступної ступені, доводиться виконувати так, що внутрішній радіус R0 основного диска менший за внутрішній радіус R1 покривного диска. Тому тиск на бокові поверхні колеса розподіляється по-різному, та на колесо діє неврівноважена осьова сила тиску, яка спрямована у бік вхідної воронки. Величина сили пропорційна тиску Н, який, у свою чергу, пропорційний квадрату частоти обертання ω та квадрату зовнішнього радіуса колеса R2.
У сучасних високонапірних відцентрових насосах сумарна осьова сила, що діє на всі колеса, вимірюється десятками тонн. Урівноваження таких сил становить великі труднощі та вимагає значних витрат потужності. Наприклад, тільки об'ємні втрати у врівноважуючих пристроях деяких насосів досягають 10% їх подачі, тому вдосконалення методів урівноваження осьових сил є істотним резервом підвищення як надійності, так і економічності великих відцентрових машин.
Осьові сили, що діють на ротор, сприймаються автоматичними врівноважуючими пристроями (рис. 2), які одночасно виконують функції упорного гідростатичного підшипника і комбінованого кінцевого ущільнення з саморегульованим торцевим зазором. Обидві ці функції однаково важливі, тому є всі підстави розглядати врівноважуючий пристрій як варіант безконтактного ущільнення.
Надалі будемо досліджувати тільки безконтактні торцеві ущільнення із саморегульованим зазором. Робота таких ущільнень базується на тому, що осьова сила, яка розкриває торцеву пару, залежить від величини зазору. Ущільнення трьох основних типів з саморегульованим торцевим зазором показані на рисунку 2 і розглянуті нижче. Відмінність їх у тому, що у першому варіанті (врівноважуючий пристрій) аксіально рухомий елемент (розвантажувальний диск) обертається, а опорна поверхня жорстко зв'язана зі статором, завдяки чому ущільнення одночасно виконує функцію упорного підшипника. У двох наступних конструкціях аксіально рухомі елементи є статорними деталями. Якщо їх жорсткість в осьовому напрямі зробити достатньо великою, то і вони можуть виконувати функції упорного гідростатичного підшипника. З цієї точки зору врівноважувальний пристрій - граничний випадок абсолютно жорсткого аксіально рухомого елемента, а ущільнення (рис. 2 б, в) -абсолютно жорсткого у осьовому напрямі обертового елемента (ротора). Між цими крайніми варіантами є широкі можливості для створення комбінованих упорно-ущільнюючих пристроїв.
Різні модифікації варіантів, які зображенні на рисунку 2, не мають принципових відмінностей, аналіз яких може бути виконаний загальним методом (див. нижче).
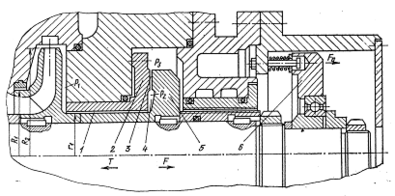
Основними елементами врівноважуючих пристроїв (рис. 1) є жорстко пов'язаний з ротором розвантажувальний диск 1, циліндрова щілина А з постійним гідравлічним опором та щілина торця Б, опір якої змінюється у результаті зміни зазору z при осьових зміщеннях ротора.
Рисунок 1 - Врівноважуючий пристрій ротора відцентрової машини
У граничному випадку, коли торцевий зазор дорівнює нулю та витоків немає, тиск р2 у камері V досягає найбільшого значення та дорівнює тиску перед циліндровою щілиною А. При цьому
β=∆р2/∆р=1 (∆р = р1 – р3; ∆р2 = р2, - р3; ∆р1 = р1 – р2)
та на розвантажувальний диск діє максимальна осьова сила F. У іншому крайньому випадку, коли торцевий зазор великий, майже весь перепад тиску дроселюється на циліндровій щілині, та тиск у камері падає до р2 = р3. При цьому β = 0, та осьова сила зменшується до нуля.
Рисунок 2 - Схеми торцевих ущільнень із саморегульованим зазором: а - врівноважуючий пристрій; б - гідростатичне ущільнення із внутрішніми дроселями; в - гідростатичне ущільнення з імпульсним урівноваженням аксіально-рухомої втулки
У робочих умовах, якщо, наприклад, сила Т з будь-якої причини збільшується, ротор зміщується вліво до того часу, поки тиск р2 зросте завдяки зменшенню зазору z настільки, щоб відновилася рівність F=Т.
У сталому стані кожному значенню сили Т відповідає певний зазор z, при якому F=T. Залежність сили F від торцевого зазору становить статичну характеристику (рис. 3).
Рисунок 3 - Статичні характеристики врівноважувальних пристроїв: а - звичайна конструкція; б -упорний підшипник; в - розвантажувальний поршень; г – гідроп’ята з елементом розвантажувального поршня
При проектуванні врівноважуючих пристроїв прагнуть, з одного боку, звести до мінімуму об'ємні втрати, з іншого - не допустити у процесі роботи при можливих змінах осьової сили надмірного зменшення торцевого зазору, оскільки це може привести до задирання. Задовольнити обидві вимоги можна за умови, що статична характеристика має достатню крутість, коли навіть великі зміни сили викликають малі зміни зазору.
Крутість статичної характеристики (гідростатична жорсткість) визначається головним чином коефіцієнтом β. У граничних випадках, коли β = 1 і F Об’ємні втрати через систему розвантаження визначаються її загальним гідравлічним опором. За умов технології не можна домогтися значного збільшення опору торцевої щілини, оскільки при зменшенні її зазору та збільшенні ширини l= r3-r2 підвищується небезпека задирання. Простіше збільшувати довжину циліндрової щілини, проте при цьому збільшуються осьові розміри. У насосах для гарячих рідин виконують додаткові циліндрові щілини (рис. 1). Такий спосіб зниження об’ємних втрат приводить до зменшення коефіцієнта β, тобто до зменшення крутості статичної характеристики, але запобігає можливості скипання води у камері після розвантажувального диска, оскільки р3>р4. Питання конструювання врівноважуючих пристроїв детально висвітлені в літературних джерелах [1, 2]. Як і будь-яка система автоматичного регулювання, система урівноваження осьової сили повинна мати певні динамічні якості. Тому далі разом із статичним розрахунком наводиться дослідження динамічної стійкості системи ротор - розвантажувальний пристрій і побудова амплітудних частотних характеристик. Розвантажувальний пристрій (рис. 1) є системою автоматичного регулювання, для якої осьове положення ротора (координата z) є регульованою величиною, осьова сила Т і тиск р1, р4 – зовнішні навантаження, а ротор – об’єкт регулювання. У деяких машинах для запобігання задиранню п’яти у процесі розгону та вибігу виконують віджимні пристрої 2, які зміщують ротор у бік нагнітання, збільшуючи зазор. Таким пристроєм є пружний елемент з коефіцієнтом жорсткості k і зусиллям попереднього стиснення k∆Fk (∆ - попередня деформація пружин). Це зусилля можна розглядати як настройку. З урахуванням зроблених зауважень побудована функціональна схема (рис. 4 б), що відповідає розрахунковій схемі (рис. 4 а) врівноважуючого пристрою з елементом розвантажувального поршня S1, і додатковим циліндровим дроселем l3. а) б) Рисунок 4 - Розрахункова схема комбінованого врівноважуючого пристрою: а – розрахункова; б – функціональна; Ι – регулятор; ΙΙ – об’єкт регулювання Потрібно відмітити, що за принципом роботи розвантажувальний пристрій еквівалентний серводвигуну з елементом сопло-заслінка (рис. 5), який використовується як регулятор положення точки А. Оцінка осьової сили, що діє на відцентрове колесо У керівництвах з конструювання та розрахунку насосів [1-3] осьова сила обчислюється у припущенні, що рідина у обох пазухах ступені обертається як тверде тіло з частотою а осьова сила визначається інтегруванням тиску по кільцевій поверхні, обмеженій радіусами Рисунок 5 - Серводвигун з елементом сопло-заслінка як аналог врівноважуючого пристрою Якщо вважати, що Для багатоступеневих насосів з числом ступенів z сумарна осьова сила, діюча на ротор, може бути записана у вигляді З теорії подібності лопатевих насосів випливає, що тиск, який розвивається робочим колесом, досить точно виражається квадратичною залежністю від частоти обертання, тому де В - коефіцієнт пропорційності, визначуваний гідравлічним розрахунком або експериментально, на підставі (2): Рисунок 6 - Розподіл тиску на бічних поверхнях робочого колеса Наведені формули дозволяють аналізувати роботу врівноважувючих пристроїв у перехідних режимах, обумовлених зміною частоти обертання ротора. З формули (1) видно, що середній тиск та відповідно сила тиску на диск колеса тим менший, чим більша частота обертання рідини у пазусі. Із зменшенням Модель руху рідини як твердого тіла з кутовою частотою 0,5 1. Середня кутова швидкість рідини у зазорі зменшується із збільшенням зазору. Це підтверджується результатами експериментів як на колесі у закритому кожусі (рис. 7), так і вимірюваннями осьової сили на роторі одноступінчастого насоса при різних співвідношеннях зазорів з боку основного та покривних дисків [5]. 2. Радіальна (витратна) течія від центра до периферії, характерна для камери з боку основного диска робочого колеса, зменшує середню частоту обертання рідини. Зворотний ефект (рис. 8) дає радіальна течія від периферії до центра (з боку покривного диска) [6,7]. Вплив радіальної течії посилюється із зменшенням осьового зазору. Таким чином, радіальні течії у камерах проміжних ступенів приводить до істотного збільшення осьової сили у порівнянні з її розрахунковим значенням. Лише у останньої ступені багатоступеневого насоса радіальний потік з обох боків колеса спрямований від периферії до центра, що приводить до деякого зменшення осьової сили. Радіальна швидкість визначається витратою через шпаринні ущільнення; тому збільшення радіальних зазорів у шпаринних ущільненнях приводить до значного (у декілька разів) збільшення осьової сили, що дозволяє використовувати значення цієї сили як діагностичний параметр, що характеризує знос ущільнень. У міру збільшення параметрів насосів зростають нестаціонарні складові осьової сили, які особливо великі у перехідних режимах та при роботі насоса на малих подачах. У [8] зазначається, що сильні пульсації потоку у проточній частині можуть привести навіть до зміни знаку осьової сили. Підвищення осьового навантаження у нерозрахункових режимах стало причиною того, що на деяких живильних насосах, наприклад, фірми «Зульцер», окрім звичної п'яти, встановлений додатковий упорний підшипник для сприйняття надмірних осьових сил, що виникають у процесі зупинення насоса та при різкому скиданні навантаження. Основним джерелом нестаціонарних осьових сил є гідродинамічні збурення потоку в проточній частині. 5. У даний час наближену оцінку осьових сил одержують за формулою (2) [1], що грунтується на законі розподілу тиску (1). Точніші розрахунки осьових сил, що враховують витратну (радіальну) течію та початкове закручування потоку на вході у камеру, а також ширину камер, запропоновані у [8, 9]. Ці розрахунки грунтуються на чисельному інтегруванні рівнянь руху рідини та орієнтовані на використання ЕОМ. У [8] результаті розрахунково-теоретичного аналізу коригуються за наявними експериментальними даними за допомогою поправковних коефіцієнтів та корегуючой функцій. Способи врівноваження осьових сил Найприродніший шлях осьового врівноваження ротора - усунення умов виникнення неврівноважених осьових сил. Проте такий шлях виявляється ефективним лише для насосів з порівняно низькими параметрами. Усунення неврівноважених осьових сил досягається або забезпеченням повної геометричної симетрії, або штучною зміною розподілу швидкостей та тиску в камерах так, щоб результуючі сили тиску на обидві бічні поверхні колеса були рівні. У насосах з геометричною симетрією ротора відносно серединної площини, перпендикулярної до його осі, наприклад у насосах розхолоджування, залишкові (випадкові) осьові сили сприймаються упорними шарикопідшипниками або, як у бустерному живильному насосі, упорним підшипником ковзання. Недоліками таких схем є додаткові гідравлічні втрати у перевідних каналах, збільшені габарити та металомісткість, ускладнення відливання та конструкції в цілому. Рисунок 9 - Розміщення шпаринних ущільнень на одному радіусі Способи вирівнювання сил тиску на основний та покривні диски більш різноманітні. У багатьох випадках, особливо для одноступеневих насосів, шпаринні ущільнення 1 з боку основного диска розташовують на більшому радіусі (рис. 9), а камеру 2 під ущільненням з’єднують із вхідною воронкою отворами 3 у основному диску або у ступенях колеса. Площу отворів 3 рекомендується брати приблизно у 4 рази більшою від площі ущільнюючого зазору, щоб зменшити підпір у камері 2. У такій конструкції на передньому 4 та задньому 1 ущільненнях дроселюється приблизно однаковий перепад тиску та подвоюються об'ємні втрати. Залишкова неврівноважена сила сприймається радіально-упорним підшипником 5 [10]. Витрати через отвори у диску, що обертається, та відповідний підпір у розвантажувальній камері можна визначити, користуючись експериментальними значеннями коефіцієнта витрат, наведеними у [11]. Через дискове тертя рідина у камері 2 обертається, та виникаючий при цьому відцентровий ефект призводить до підвищення тиску уздовж радіуса, що може порушити баланс сил тиску, діючих на колесо. Для запобігання цьому в камері 2 (рис. 10 а) встановлюють нерухомі радіальні лопатки 1, що гальмують окружний потік. На рисунку 10 б та 10 в показані епюри тиску у камері відповідно без лопаток та з лопатками [12]. а) б) Рисунок 10 - Проточна частина насоса ЦЕН-61 (а), епюра тиску у камері без лопаток (б) та з радіальними нерухомими лопатками (в) Іншим поширеним способом зменшення осьової сили є використовування радіальних лопаток 1, розміщених на основному диску робочого колеса 2 (рис. 11). Лопатки збільшують середню частоту обертання рідини де Рисунок 11 - Секційний насос з радіальними лопатками на тильному боці робочих коліс Останнім часом з'явилося багато конструкцій насосів [10], в яких розподіл тиску в бічних камерах автоматично змінюється так, щоб результуюча осьова сила залишалася такою, що дорівнює нулю. Регулюючою дією у цих конструкціях є осьовий зсув робочого колеса, що викликає відповідну зміну геометрії лопаток імпелера. Проте такі конструкції не тільки малоекономічні, але і надмірно складні та ненадійні. У одноступеневих насосах широко застосовується економічніше автоматичне урівноваження сил тиску на обидва боки колеса за допомогою змінних дроселів, провідність яких змінюється при осьових зміщеннях ротора (рис. 12). Якщо, наприклад, під дією виниклої неврівноваженої осьової сили ротор 1 зміститься вправо, то торцевий зазор 2 зменшиться та тиск у камері 4 збільшиться настільки, що сили тиску на обидва боки колеса 3 зрівняються. Різні модифікації таких способів врівноваження використовуються у конструкціях ГЦН [10], а також у турбонасосних агрегатах двигунів літальних апаратів. Закручення потоку в камері 4 і витратна течія, спрямовані від периферії до центра, можуть значно зменшити середній тиск, тому в камері розміщують нерухомі радіальні лопатки 5, які гальмують окружний потік та вирівнюють тиск по радіусу. Рисунок 12 - Врівноваження осьової сили за допомогою змінного торцевого дроселя У деяких конструкціях одноступеневих насосів робоче колесо кріплять на валу по ходовій посадці, а тильну порожнину з’єднують із вхідною воронкою дроселем, опір якого залежить від положення колеса. При цьому вал утримується від осьових зміщень упорним підшипником. У більшості конструкцій багатоступеневих насосів особливих заходів щодо зменшення осьових сил не вживають, а діючі на ротор сили врівноважують спеціальними розвантажувальними пристроями. Найпростішими такими пристроями є розвантажувальні поршні (думіси), що сприймають постійне осьове зусилля, їх виконують циліндровими, ступеневими та з конічними ділянками (рис. 13 а, б, в). Оскільки у процесі роботи насоса осьова сила, діюча на ротор, може значно змінюватися, розвантажувальні поршні доводиться доповнювати упорними підшипниками на порівняно великі залишкові осьові навантаження. Для великих насосів це, як правило, двосторонні упорні підшипники з колодками. На рисунку 14 показана багатоступенева відцентрова машина, у якій осьове врівноваження ротора здійснюється ступеневим поршнем 1 з лабіринтовими ущільненнями 2 та двостороннім упорним підшипником 3 із сегментними самоустановлюваними колодками. а) б) в) Рисунок 13 - Конструкції розвантажувальних поршнів: а - циліндровий; б - ступеневий; в – конічний У даний час для великих високонапірних багатоступеневих насосів найефективнішим способом урівноваження осьових сил є використовування автоматичних врівноважуючих пристроїв – гідроп’ят. Гідроп’ята (рис. 15) містить жорстко закріплений на валу розвантажувальний диск 5, нерухоме опорне кільце (подушку) 2, послідовно розміщені циліндровий 1 та торцеві дроселі 3 і камеру 4, що розділяє ці дроселі. Повний перепад тиску дроселює на торцевому дроселі 3, провідність якого залежить від ширини зазору z, тобто осьового положення ротора. Якщо під дією надмірної осьової сили ротор зміщується вліво, то зазор z зменшується, а тиск Для нормальної роботи гідроп’яти необхідно, щоб ротор мав вільні осьові переміщення, принаймні у межах можливих змін торцевого зазору, тому на кінцях вала необхідно встановлювати лише радіальні підшипники. Функції упорного підшипника виконує сама гідроп’ята. Дуже перспективне використовування системи авторозвантажування не тільки упорного, але і радіального гідростатичного підшипника. Рисунок 14 - Відцентрова машина із ступеневим поршнем та двостороннім упорним підшипником Рисунок 15 – Гідроп’ята з віджимним пристроєм Задирання на контактних торцевих поверхнях відбуваються найчастіше на не розрахункових, перехідних режимах, при розгоні та вибігу, коли гідравлічна врівноважуюча сила Температура перекачуваної рідини у камері гідроп’яти підвищується у порівнянні з температурою на вході за рахунок енергії в'язкого тертя у зазорах та гідравлічних втрат у проточній частині насоса. У режимах малих подач, коли значна частина потужності, споживаної насосом, втрачається на нагрівання рідини, підвищення температури може скласти 10-15 °С. У випадку високої температури на вході, наприклад у живильних насосах, температура в камері після торцевого зазору може досягти критичного значення, при якому тиск у камері менше відповідного тиску насиченої пара. У результаті, перш за все у торцевому зазорі п'яти, може відбуватися більш менш інтенсивне пароутворення, що зменшує несучу здатність та збільшує небезпеку виникнення задирання в торцевому дроселі. а) б) Рисунок 16 – Гідроп’яти з додатковим циліндровим дроселем (а) та з внутрішнім розташуванням торцевого дроселя (б) Щоб запобігти пароутворенню, тиск у камері після торцевого зазору необхідно підтримувати вищим, ніж тиск насиченого пару при максимально можливій температурі та при мінімальному тиску в лінії відведення витоків з гідроп’яти. Найпростішим засобом підвищення тиску в камері є використовування додаткового циліндрового дроселя між торцевим зазором та лінією відведення витоків (рис. 16 а). У деяких випадках гарантований підпір після торцевого зазору створюють, змінюючи послідовність торцевого та циліндричного дроселів (рис. 16 б). На підставі наведеного огляду можна запропонувати класифікацію (рис. 17) засобів зменшення та врівноваження осьових сил, діючих на ротори відцентрових насосів. Найекономічнішими та надійнішими є системи автоматичного урівноваження. Гідростатична сила у торцевому зазорі з малою конусністю Для обчислення осьової сили, що діє на розвантажувальний диск, необхідно знати закон розподілу тиску в торцевому зазорі. Щоб врахувати можливі похибки виготовлення та деформації диска, розглянемо вісесиметричний торцевий зазор з малою конусністю, що характеризується кутом υ (рис. 18). Течію будемо вважати радіальною, тобто впливом окружних швидкостей знехтуємо. Таке припущення при перепадах тиску понад 2 МПа виправдовується результатами експериментів [11]. Крім того, знехтуємо місцевими втратами тиску на вході та на виході з торцевого зазору. Похибка кількісних результатів, пов'язаних із таким допущенням, значно менше, ніж похибка при визначенні осьової сили Т, яка діє на ротор. Падіння тиску на подолання опору тертя на кільцевому пояску шириною dr з місцевим торцевим зазором z можна виразити через швидкісний напір, користуючись формулою для плоского каналу де v - радіальна швидкість на радіусі r; Рисунок 18 - Розрахункова схема торцевого зазору з малою конусністю З рівняння нерозривності vzr=vmzmrm можна виразити швидкість v через швидкість vm на середньому радіусі. Враховуючи також лінійну зміну зазору по радіусу: отримаємо де Втрати на тертя на ділянці від r2 до r Втрати на всьому зазорі Відповідно до рисунка 18 тиск на радіусі r де Для плоского зазору ( Сила тиску, що діє на контактну торцеву поверхню врівноважувального диска, Враховуючи (5), одержимо де (В - параметр, що враховує вплив конусності на величину сили тиску). Надалі для побудови статичних характеристик з умови рівноваги осьових сил потрібно буде виразити торцевий зазор Після обчислення похідних і інтеграції по де Обчислимо інтеграл де Формули (9) та (10) дозволяють визначити функцію З урахуванням цих залежностей формулу (8) можна записати так: де Для плоского зазору У реальних машинах контактні торцеві поверхні роблять вузькими, так що При цьому вираз (12) можна спростити, якщо його лінеаризувати по Якщо перейти до безрозмірного зазору, то Для значень Перейдемо до визначення тиску р2, та р3. Виразимо перепад тиску через швидкісний напір та відповідний коефіцієнт втрат: Для малих Обчислимо тиск р2, р3, користуючись рівнянням нерозривності. Течію по всьому гідравлічному тракту будемо вважати турбулентною та представимо витрати через відповідні дроселі у вигляді де де Провідність торцевого дроселя з урахуванням конусності можна одержати, якщо виразити витрату через середню швидкість та перепад тиску: Якщо порівняти цей вираз з рівнянням (15), одержимо а переходячи до безрозмірного зазору та використовуючи формулу (14), маємо З умови рівності витрат (15) де Останні два вирази мають вигляд квадратів еквівалентних провідностей всього гідравлічного тракту (ga) та перших двох дроселів (gb), що розділяють камери з тиском p1 і р3. З урахуванням формул (17) Якщо Величина gc являє собою еквівалентну провідність циліндрових дроселів, а величина де Використовуючи значення тиску (18), обчислимо силу (7), яка діє на контактну торцеву поверхню диска: де S0 - площа перерізу вхідної воронки колеса; Коли немає протитиску, а за відсутності додаткового дроселя ( З точністю до членів другого порядку у порівнянні з одиницею та формула для визначення сили для останнього випадку набирає простого вигляду: З цієї формули видно, що унаслідок дифузорності каналу зменшується сила тиску, а через конфузорність а з урахуванням формул (18) та (20) де Оскільки Отримана залежність безрозмірної врівноважувальної сили від безрозмірного торцевого зазору є статичною характеристикою регулятора. Надалі обмежимося випадком, коли протитиск малий (р4 = 0) і r4 = r1, S3=S2+S0. При цьому характеристика регулятора а з урахуванням формул (19) - (21) де Величина Максимальне значення сили при Статичний розрахунок врівноважуючого пристрою. Рівняння рівноваги ротора В осьовому напрямі F=T або у безрозмірному вигляді HS=H2-H1 - потенційний напір колеса; Геометричні розміри R0, R1, R2 показані на рисунку 1. Якщо виразити потенціальний напір колеса через гідравлічний ККД та теоретичний напір Наведений вираз для безрозмірної осьової сили є наближеним. Насправді її величина залежить від цілого ряду додаткових чинників [11] та у процесі експлуатації машини може змінюватися у широких межах. Тому звичайно рекомендують проводити перевірку працездатності врівноважуючого пристрою на граничному значенні осьової сили, яку можна визначити, беручи статичний тиск у бічних пазухах робочого колеса постійним по радіусу. При цьому де pі - тиск, що розвивається однією ступенею. Гранична сила не повинна перевищувати максимальну врівноважувальну силу: Статична характеристика системи Із рівняння рівноваги ротора де в положенні статичної рівноваги Рівняння (26) показує, що стале значення зазору зменшується зі збільшенням впливу Для побудови статичних характеристик зручніше користуватися виразом (24), який дає З формули (27) можна визначити провідність циліндрових дроселів gc, яка забезпечує оптимальне значення сталого зазору У процесі роботи машини сила, що діє на ротор, може відхилятися від розрахункового значення і викликати відповідні зміни торцевого зазору. За умов надійності та економічності можна орієнтовно рекомендувати допустимі відхилення сталого зазору від оптимального значення Величина статичних відхилень зазору при зміні врівноважувальної сили а відхилення зазору Останнє співвідношення дає оцінку відхилень середнього зазору за лінеаризованою у точці оскільки Прирівнюючи до нуля другу похідну Деформації врівноважуючого диска Визначимо величину деформації спочатку плоского диска під дією прикладеної до диска врівноважуючої сили F1, беручи її рівномірно розподіленою за ефективною площею диска (рис. 19). Інтенсивність розподіленого навантаження з урахуванням (24) Рисунок 19 – До визначення деформацій диска Диск постійної товщини b1 вважатимемо жорстко затисненим по радіусу r1. Для прийнятої розрахункової схеми величина прогинання диска на його зовнішньому радіусі визначається за формулою [13] де E1 - модуль пружності матеріалу диска. Коефіцієнт K залежить від відношення радіусів (рис. 19). Кут конусності торцевого зазору, який утворений прогином диска, а параметр Якщо значення Якщо розв’язати останнє рівняння щодо узагальненого впливу, то одержимо зручніший вираз для розрахунку статичної характеристики Одержаний результат є розв’язком статичного варіанта задачі гідропружності врівноважувального диска. Обчислимо коефіцієнт гідростатичної жорсткості Коли Обчислення витрат Оскільки врівноважуючий пристрій повинен працювати не тільки надійно, але й економічно, статичну характеристику потрібно доповнити витратною, щоб знати величину об'ємних втрат залежно від зовнішнього впливу. Витрати через торцевий зазор з урахуванням формул (17), (19), (22) можна подати у вигляді Використовуючи значення u із статичної характеристики, одержимо витрати як функцію узагальненої дії Послідовність статичного розрахунку Через надлишок визначальних параметрів багато з них доводиться приймати з конструктивних та технологічних міркувань, ґрунтуючись на наявному досвіді проектування подібних машин. Зокрема, для зменшення деформації диска по зовнішньому діаметру ширину його контактної поверхні слід обмежувати, беручи При деформації диска зменшуються врівноважена сила та відповідно зазор, тому товщину диска b1 треба вибирати так, щоб Відхилення зазору у заданому діапазоні зміни безрозмірної сили Приклад 1. Початкові дані: Т=280 кН, Обчислюємо: Беремо: h1=2,5•10-2 см, h3=2•10-2 см, zб= 0,8•10-2 см. 2. Обчислюємо: Одержуємо 3. Обчислюємо: Одержуємо: 4. Обчислюємо: Одержуємо: Примітка. 5. Обчислюємо: Одержуємо: Примітка. Якщо замість 6. Обчислюємо: Одержуємо: Примітка. 7. Обчислюємо Одержуємо:b1=3 см. Примітка. Значення К береться з рисунка 19. За результатами розрахунку побудовані статична та витратна характеристики (рис. 20), на яких відмічені діапазони зміни зазору та витрати у заданій області зміни узагальненої дії Крива 1 побудована за формулою (33) для Розрахунок характеристик надійності У міру зростання параметрів насосів умови роботи врівноважуючих пристроїв ускладнюються (збільшуються врівноважувані осьові сили і частоти обертання вала) і одночасно підвищуються вимоги до надійності та економічності. Їх раптові відмови, що характеризуються стрибкоподібною зміною торцевого зазору, обумовлені, як правило, поганим вібраційним станом ротора, зокрема, можливістю автоколивань у системі розвантаження, похибками виготовлення та складання, потраплянням твердих частинок, порушенням нормальних режимів у системі живлення казана. Якщо всі ці причини усунені, то врівноважуючі пристрої працюють надійно навіть при удвічі меншій у порівнянні з розрахунковою величиною торцевого зазору. Поступові відмови викликані природним ерозійним зносом циліндрової шпарини, що дроселює, супроводжуються збільшенням торцевого зазору. Коли радіальний зазор досягає критичної величини, подача та ККД насоса зменшуються, а швидкість зносу наростає через збільшення витоків через зазори. Таким чином, якщо мати на увазі поступові відмови, надійність п'яти можна підвищити, застосовуючи матеріали з високими антиерозійними властивостями. Обчислимо характеристики надійності гідроп’яти до першої відмови стосовно до поступових відмов та визначимо вплив матеріалу втулки на середнє напрацювання до відмови [14]. Розглянемо найпростішу конструкцію без додаткового дроселя За цих умов формулу (27) можна перетворити до вигляду де Введемо поняття поступової відмови врівноважуючого пристрою. Якщо безрозмірний торцевий зазор стає менше допустимої величини u1, то виникає небезпека контакту між розвантажувальним диском, що обертається, та подушкою п'яти. Якщо торцевий зазор перевищить значення u2, то неприпустимо зростуть витоки, що приведе до зниження ККД насоса. Тому під поступовою відмовою розумітимемо подію, що характеризується тим, що зазор u досягає меж інтервалу [u1, u2]. Для безвідмовної роботи необхідно, щоб точка з координатами Оскільки значення u1 значно менше u2, то для спрощення розрахунків криву Величину та кривою Якщо За функцією вірогідності безвідмовної роботи можна обчислити середнє напрацювання повністю: та функцію розподілу часу відмови q(t)=1-F(t). Таким чином, задача розрахунку основних характеристик надійності автоматичних врівноважуючих пристроїв зводиться до визначення функцій розподілу F1 та F2. Графіки швидкості зносу (рис. 22), одержані у процесі експлуатації живильних насосів для сталей 303X13 та хромомолібденової сталі [16], можна апроксимувати кусково-лінійними функціями, а функцію зміни безрозмірного радіального зазору у часі подати у вигляді де А, В, С - випадкові величини, що не залежать від часу: А-початкове значення безрозмірного зазору, В, С - швидкості збільшення зазору на відповідних інтервалах часу. Для названих випадкових величин природно прийняти нормальний закон розподілу з густиною вірогідності: де За густиною вірогідності визначимо функцію розподілу радіального зазору. Заздалегідь знайдемо густину вірогідності величин Y=Bt і Y1=C(t-t1): Оскільки А, Y, Y1 незалежні, то густина вірогідності випадкової функції де Функція розподілу радіального зазору де Врівноважувану силу вважатимемо стаціонарною випадковою функцією з густиною вірогідності, що відповідає нормальному закону розподілу, де Функція розподілу сили Використовуючи функції розподілу, за формулою (34) одержимо функцію вірогідності безвідмовної роботи: Як приклад обчислимо характеристики надійності врівноважуючого пристрою живильного насоса. Параметри пристрою: Т=307 кН, l1=18,8 см, r1=7,5 см, r2=12,5 см, r3=15,5 см, r0=r1, p1= 19 МПа, математичне очікування безрозмірної врівноважуваної сили За наявною статистикою коефіцієнт варіацій для осьової сили та радіального зазору можна взяти таким що дорівнює 0,2. Тоді Графік (рис. 23) функції вірогідності безвідмовної роботи F(t) для втулки зі сталі 303X13 має злам кривої при t=t1, відповідній зміні швидкості зростання зазору (рис. 22). Середнє напрацювання, обчислене за формулою (35), склало 9100 годин для сталі 303X13 та 78200 годин - для хромомолібденової сталі. Одержані результати добре узгоджуються з наявними статистичними даними за надійністю розвантажувальних пристроїв [16]. Розглянута методика розрахунку характеристик надійності врівноважуючих пристроїв дозволяє оцінювати вплив тих або інших змін у конструкції вузла, а також може використовуватися як складова частина у розрахунку надійності всієї машини на стадії її проектування. Виведення рівняння динаміки системи. Рівняння осьових коливань ротора Якщо вважати ротор жорстким тілом, то рівняння його осьових коливань має вигляд [17] де с - коефіцієнт демпфірування; k - жорсткість віджимного пристрою; m - маса ротора. Вводячи безрозмірні змінні, одержимо де У операторній формі а передаточна функція об’єкта регулювання Рівняння руху рідини Розглянемо для простоти конструкцію без додаткового дроселя де L, R - коефіцієнти індуктивного і активного опорів. Позначимо Тоді для циліндрового і торцевого дроселів (р3 = 0) а із закону зміни кількості руху Якщо виключити перепади тиску, одержимо коефіцієнти індуктивного опору Оскільки Витрати виражаються через втрати тиску на подолання активних опорів: де коефіцієнти гідравлічних втрат Для циліндрового зазору, користуючись виразами (37) та (38), одержимо нелінійне рівняння стосовно тиску Тиск на вході вважатимемо постійним: p1 = рб, тому, переходячи до рівняння у варіаціях, одержимо де Після диференціювання за часом варіації витрати, угрупування членів та переходу до безрозмірних змінних матимемо (знаком варіації знехтуємо) Де У операторній формі Якщо враховувати інерцію рідини у торцевому зазорі, то аналогічним чином одержимо рівняння першого порядку стосовно тиску де Рівняння балансу витрат Беручи до уваги зміни об’єму камери V при осьових зсувах диска і стиснення в ній рідини при зміні тиску р2, можна записати де Е - модуль пружності рідини. Перейдемо до рівняння у варіаціях, використовуючи одержані вище варіації витрат: де З урахуванням формул (28) та (29) Якщо взяти до уваги деформації диска, то у правій частині рівнянь балансу витрат потрібно додати ще один член, який враховує швидкість зміни об’єму камери через деформації диска: Прогинання w визначається за формулою (30), а безрозмірне зусилля у першому наближенні без урахування конусності шпарини - за формулою (25). При цьому Після переходу до безрозмірних змінних рівняння (41) залишиться незмінним, зміниться лише значення постійної Використовуючи більш точніший вираз (24) для навантаження на диск та значення статичного кута повороту Рівняння регулятора Знайдемо тиск та підставимо його у рівняння (41). Одержимо На підставі формули (25) при постійному впливі У сталому стані При стрибкоподібній зміні впливу тобто є жорсткістю умовно непроточної опори. Рівняння системи За передавальними функціями об’єкта регулювання (36) та регулятора (43) побудована структурна схема системи (рис .24) та виконані її еквівалентні перетворення. Рисунок 24 - Структурна схема врівноваженого пристрою та її еквівалентне перетворення У результаті одержана еквівалентна передаточна функція системи та її рівняння яке з урахуванням виразів (36) та (43) зводиться до вигляду де особистий оператор системи та оператор впливу рівні: Якщо враховувати інерцію рідини у торцевому зазорі, то власний оператор системи матиме п’ятий порядок. Амплітудна частотна характеристика Частотна передавальна функція системи де з урахуванням операторів (46) після розділення дійсної і уявної частин Амплітудна та фазова частотні характеристики системи виражаються формулами Для прикладу побудовані амплітудні частотні характеристики (рис. 25), що відповідають реальному врівноважуючому пристрою з постійними часу: Аналіз динамічної стійкості Прирівнюючи до нуля власний оператор системи, одержимо характеристичне рівняння для якого умови стійкості Гурвіца мають вигляд Перша група умов Сила інерції рідини у циліндровому зазорі пропорційна квадрату частоти вимушених осьових коливань системи, основна складова яких має частоту обертання ротора. У зв’язку з цим при порівняно низьких частотах обертання можна для орієнтовних розрахунків взяти Т3=0, дещо компенсуючи помилку, що вводиться, припущенням, що Т2=0. У цьому випадку порядок системи зменшується Беручи до уваги, що одержимо З урахуванням формул (19) за умови Виразимо об’єм через характерний осьовий розмір V=HS2. При цьому спрощена умова стійкості З нього можна визначити допустимий об’єм камери, а потім перевірити, чи виконується умова (48). Перевірку потрібно робити для граничних значень сталого зазору Умова (49) якісно підтверджується експериментальними дослідженнями стійкості кільцевого упорного підшипника із зовнішнім наддуванням, де провідність живильних дроселів ототожнюється з провідністю g1 кільцевого дроселя перед розвантажувальним диском. Коефіцієнт демпфірування c, що входить до постійної Т2, можна оцінити лише орієнтовно, враховуючи тільки демпфірування у торцевому зазорі [18] де Дійсний коефіцієнт демпфірування більше розрахункового через турбулентну течію у зазорі, а також додаткових сил в’язкого опору, що діють на ротор в ущільненнях та підшипниках, що трохи збільшує запас стійкості. Обчислення демпфірувальних та інерційних сил у торцевому зазорі при турбулентній течії з урахуванням обертання диска та відхилень від плоскої форми - важлива та цікава задача, розв’язання якої дозволить одержати більш повні та точні динамічні характеристики гідростатичних пристроїв. Причиною втрати динамічної стійкості є стиснення рідини у камері та деформація стінок, що характеризується постійною Наведений аналіз динаміки обмежений одновимірним осьовим рухом жорсткого ротора та не враховує зв’язку, що існує між його згинальними та осьовими коливаннями. Виведемо спрощене рівняння динаміки системи та розглянемо умови її стійкості, вважаючи, що усереднений тиск Рівняння осьових коливань аксіально-рухомої втулки де m - маса втулки; с - коефіцієнт в’язкого опору. У безрозмірних змінних У операторній формі Усереднене за період рівняння балансу витрат на відміну від рівняння статики міститиме два додаткових доданки, обумовлені зміною об’єму торцевого зазору в часі та стисненням рідини у камерах через зміну тиску Оскільки рівняння балансу витрат нелінійне, то перейдемо до рівняння у варіаціях, обчисливши заздалегідь варіації окремих доданків: У цих виразах нульовими індексами позначені сталі значення величин; провідності g10 та g20 відповідають сталому значенню торцевого зазору u0, а g30 - сталому значенню безрозмірної частоти обертання Підставимо одержані варіації у рівняння балансу витрат та згрупуємо члени при однакових змінних (знаками варіацій знехтуємо): Переведемо останню рівність до вигляду де коефіцієнт гідростатичної жорсткості ks визначається для випадку У операторній формі Обчислимо динамічну жорсткість ущільнення звідки передавальна функція регулятора щодо помилки До виразу динамічної жорсткості (53) належать зауваження, зокрема, якщо не враховувати демпфірування (Т2 = 0), умова стійкості системи зводиться до вимоги Щоб вивести рівняння динаміки системи, виключимо регулюючу дію де Умова стійкості Гурвіца Найбільш жорсткою є умова стійкості при Із останнього виразу видно, що небезпека втрати динамічної стійкості збільшується із збільшенням щільності перападу тиску р10-р30 і із збільшенням об’єму V. Умову (54) завжди можна виконати, якщо підібрати відповідну глибину камер. Список літератури 1. Ломакин А.А. Центробежные и осевые насосы. – 2-е изд. –М.:Машиностроение, 1966. 2. Малюшенко В.В., Михайлов А.К. Насосное оборудование тепловых электростанций. - М.: Энергия, 1975. - 280 с. 3. Пфлейдерер К. Лопаточные машины для жидкостей и газов. – 4-е изд.: Пер. с нем./Под ред. В.И. Поликовского. - М.: Машгиз, 1960. 4. Domm U., Zilling H. Uber die Axialkrafte in einstufigen radialen Kreiselpumpen // KSB Technische Berichte. 1966. - H. 12. - S. 16-23. 5. Цаплин М.И. Исследование течения в зазоре между неподвижной стенкой и вращающимся диском // Энергомашиностроение. - 1967. - №8. - С. 15-18. 6. Чегурко Л.Е. Разгрузочные устройства питательных насосов тепловых электростанций. - М.: Энергия, 1978. 7. Шнеп В.Б. Инженерный метод расчета дисковых потерь и осевых сил в центробежной ступени компессора или насоса с учетом негерметичности уплотнений/ ЦИНТИхимнефтемаш. - М., 1982. 8. Некоторые аспекты проектирования и доводки автоматических разгрузочных устройств центробежных насосов // А.И. Елизаров, А.Э. Брейво, А.И. Иванов и др. //Конструктивная прочность и надежность двигателей и систем летательных аппаратов. - Куйбышев, 1978, - С. 42 – 57 (Тр. КуАИ). 9. Краев М.В., Овсяников Б.В., Шапиров А.Г. Гидродинамические радиальные уплотнения высокооборотных валов. - М.: Машиностроение, 1976. 10. Синев Н.М., Удовиченко П.М. Бессальниковые водяные насосы. – 2-е изд. - М.: Атомиздат, 1972. 11. Марцинковский В.А. Гидродинамика и прочность центробежных насосов - М.: Машиностроение, 1970. 12. Этингер С.М. Опыт наладки и освоение в эксплуатации питательных насосов сверхвысокого давления типа СВП-220-280 на Черепетской ГРЭС // – Паротурбостроение и газотурбостроение. - 1957. - № 5. - 155-177. 13. Биргер И.А., Шорр Б.Ф., Шнейдерович Р.М. Расчет на прочность деталей машин. - М.: Машиностроение, 1966. - 616 с. 14. Марцинковский В.А., Островерхов Г.Г., Хворост В.А. Расчет характеристик надежности уравновешивающих устройств питательных насосов. // – Электрические станции. – 1977. - № 11, -с.53-55. 15. Ломакин А.А. Питательные насосоы типа СВП-220-280 турбоустановки сверхвысоких параметров. // Эноргомашиностроение. – 1955. - № 2. -С.1-10. 16. Пырков А.А., Островерхов Г.Г. Надежность питательных насосов. Экспересс-информация. Серия ХМ-4. - М.: ЦИНТИ-химнефтемаш, 1975. - № 6. - 16 с. 17. Овруцкая Н.Б., Хейфец М.З Об осевой устойчивости ротора турбомашины при наличии разгрузочного устройства.– // Паротурбостроение и газотурбостроение. – 1957. -№ 5. -C. 345-350. 18. Тарг С.М. Основные задачи теории ламинарных течений. -М. Л.: Гостехиздат, 1951. - 420 с. 19. Марцинковский В.А. Бесконтактные уплотнения роторных машин. - М.: Машиностроение, 1980. – 200 с. 20. Марцинковский В.А., Ворона П.Н. Насосы атомных электростанций. - М.: Энергоатомиздат, 1987. - 256 с.
, що дорівнює половині частоти обертання ротора
. При цьому припущенні розподіл тиску по радіусах дисків колеса (рис. 5) описується параболічним законом
, (1)
та
і збіжні з площею
вхідної воронки колеса:
.
, то після інтегрування одержимо
. (2)
.
;
, (3)
.
епюра тиску стає більш повною. Ця обставина широко використовується у різних конструкціях для зменшення неврівноваженої осьової сили, вживаються всі можливі заходи для збільшення середньої частоти обертання рідини у правій пазусі та для зменшення її у лівій.
є дуже грубою. На розподіл швидкостей та тиску по поверхні диска, що обертається, впливає багато чинників [4]: розміри та форма камери, шорсткість стінок, величина та напрям радіальної (витратної) течії, закручування потоку на вході у камеру. Теоретичний аналіз течій з урахуванням цих чинників, особливо на турбулентних режимах, характерних для насосів з високими параметрами, становить великі математичні труднощі, тому основним джерелом інформації поки залишається експеримент. Основні результати досліджень перебігу рідини між диском та кожухом зводяться до наступного.
, та відповідно до формули (1) зменшується середній тиск на тильну поверхню робочого колеса. Оребрення коліс приводить до значних втрат потужності, які можна оцінити за формулою [11]:
,
;
;
та
- внутрішній і зовнішній радіуси лопаток. Повністю врівноважити ротор на всіх режимах роботи не вдається, тому залишкова осьова сила сприймається радіально-упорним підшипником.
на гідроп'яті становить різницю між тиском нагнітання
та тиском у камері за гідроп’ятою. Найчастіше ця камера сполучена з вхідним патрубком насоса, тоді
- тиск на вході. Частина загального перепаду тиску
збільшується, відновлюючи рівність сили
, діючої на ротор, та врівноважуючої сили
, діючої на розвантажувальний диск. Таким чином, гідроп’ята автоматично підтримує осьову рівновагу ротора:
.
мала. У зв'язку з цим у насосах, для яких за умов експлуатації потрібні часті пуски та зупинки, встановлюють віджимні пристрої (рис. 15, поз. 6), через яке осьове зусилля пружин
передається на ротор та при малих обертаннях зсовує його у бік нагнітання, збільшуючи торцевий зазор у гідроп’яті і тим самим попереджаючи можливі задирання. Віджимні пристрої слід рекомендувати також у насосах з турбоприводом, оскільки процес розгону та зупинки приводної турбіни відбувається повільно.
,
- коефіцієнт опору тертя торцевої щілини у автомодельній облості турбулентної течії;
0,06.
,
. (4)
(5)
)
. (6)
,
(7)
(8)
. Внаслідок того, що інтегрування виразу (8) дає логарифмічні члени, розв’язати рівняння рівноваги сил відносно zm не вдається. Тому, користуючись малою величиною кутів конусності
(за відсутності контакту між диском та подушкою параметра
), розкладемо функцію
в ряд Маклорена по
, зберігши перші три члени ряду:
, одержимо
,
, (9)
, (10)
, яка задана виразом (8). Для того щоб надалі одержати шукані статичні характеристики у безрозмірному вигляді, введемо безрозмірний зазор
, де як базове значення зазору братимемо його оптимальну величину. При цьому
а функції b та В1 перетворимо до вигляду
, (11)
(12)
:
(13)
,
похибка наближеної формули (13) не перевищує 18%.
. Порівнюючи його з виразом (4), одержимо
, а при безрозмірному торцевому зазорі
(14)
формули (11) спрощуються:
(15)
і
- постійні провідності циліндричних дроселів [11];
, (16)
- коефіцієнт опору тертя циліндрової шпарини у автомодельній області турбулентної течії,
.
(17)
; (18)
,
. (19)
може бути виражена формулою
(20)
.
)
~
~
(21)
(22)
вона збільшується; зі зменшенням зазору сила зростає. Отриманий результат не можна поширювати на граничний випадок
, оскільки при цьому відсутня течія, та формула (5) для розподілу тиску у зазорі втрачає значення. Результуюча врівноважувальна сила, що діє на розвантажувальний поршень та диск відповідно до рисунка 5,
- зусилля віджимного пристрою;
- коефіцієнт жорсткості;
- попереднє стиснення пружин.
, при дослідженні статики будемо приймати
.
(23)
. (24)
є безрозмірною врівноважувальною силою, що діє на диск (регулююча дія),
- додаткова задавальна дія від елемента розвантажувального поршня та віджимного пристрою;
- безрозмірна ефективна площа диска. Для конструкції без додаткового циліндрового дроселя
, із урахуванням формули (20)
(25)
, якщо взяти
та врахувати формули (19),
, де
- безрозмірна врівноважувана сила, яка визначається наближеною формулою [12]
- колова швидкість зовнішнього обода колеса; i - число ступенів насоса;
- питома густина перекачуваного середовища; g - прискорення сили тяжіння.
та ввести коефіцієнт теоретичного напору
тоді безрозмірну силу можна виразити через
Якщо знехтувати відносно малим зусиллям пружин
, то остання умова набуде просте геометричне значення:
або
.
виразимо безрозмірний торцевий зазор як функцію зовнішнього збурення
та впливу
:
(26)
- узагальнений зовнішній вплив.
та дифузорності
. Конфузорна форма
торцевого дроселя приводить до збільшення середнього зазору. В разі плоского
зазору з рівняння (26)
(27)
як функцію безрозмірного зазору. Це дозволяє уникнути необхідності розв’язування рівняння (26).
при заданому впливі:
(28)
у межах
або
визначається крутістю статичної характеристики
Обчисливши похідну, яка є коефіцієнтом лінеаризованої статичної жорсткості, одержимо
(29)
статичною характеристикою, причому з рівності (23)
,
. З формули (29) видно, що жорсткість характеристики зростає зі збільшенням
. Те, що коефіцієнт статичної жорсткості від’ємний, свідчить про стійкість статичної характеристики у разі плоского зазору.
можна знайти значення
або
, при якому крутість характеристики досягає максимуму.
(30)
де
підставити в рівність (27), то одержимо рівняння статичної характеристики, що враховує залежність деформації диска від зовнішнього впливу:
(31)
похідна стає додатною, тобто система виявляється статично нестійкою.
.
. Для плоских контактних поверхонь зазор визначається формулою (27), і витрати у цьому випадку легко виразити через зовнішній вплив:
(32)
або
. Зусилля віджимного пристрою
, радіальні зазори циліндрових дроселів h1, h3 і торцевий зазор
визначаються рівнем технології, чистотою перекачувального середовища, антизадирними властивостями матеріалів зв'язаних поверхонь. Витоки через врівноважуючу систему у сталому режимі повинні бути якомога меншими. Звичайно беруть
, де
- номінальна подача насоса. Елемент розвантажувального поршня
дозволяє змінювати величину узагальненого впливу так, щоб він відповідав області оптимальних зазорів
. Додатковий циліндровий дросель не тільки збільшує загальний опір гідравлічного тракту, але і дозволяє підтримувати необхідний тиск у камері після розвантажувального диска у разі зменшення торцевого зазору. Наприклад, у живильних насосах тиск насичених парів відповідає температурі живильної води 165°С,
. Щоб не допускати пароутворення, слід взяти
та з цієї умови, користуючись формулою (19), визначити провідність g3.
. При цьому впливом конусності на статичні характеристики можна знехтувати.
та тиску
можна визначити, знаючи коефіцієнт гідростатичної жорсткості (29) або більш точно - побудовою статичної характеристики (31). За формулою (32) можна побудувати витратну характеристику врівноважуючого пристрою, а розрахунок вести відповідно до блок-схеми, що містить також числовий приклад синтезу основних параметрів врівноважуючого пристрою ротора живильного насоса.
р1=рб=18,6МПа,
або
максимальна крутість статичної характеристики відповідає
.
взяти
, то у врівноваженому стані u>1. Щоб відновити рівність u=1, потрібно збільшити
чи (або) зменшити
.
якщо ця умова не виконується, потрібно збільшити
чи (або) umin.
. Криві 2-4 характеризують вплив деформації диска. Аналізуючи криву 2, бачимо, що при товщині диска b1 = 3 см зменшення середнього торцевого зазору через деформацію становить
, тобто нехтуємо мало. У області малих зазорів, де характеристики 2-4 мають ділянки, що западають
система втрачає статичну стійкість.
та
.
(33)
, що відповідає вхідним параметрам пристрою, у будь-який момент часу лежала у відкритій області, обмеженій лініями рівня (рис. 21),
з достатнім ступенем точності можна замінити прямою
.
можна визначити із співвідношення (33), взявши як
його математичне сподівання
, а u=u1. При цьому область нормального функціонування буде обмежена прямими
. Оскільки
та
є незалежними випадковими функціями часу, то процес функціонування відповідає випадковому переміщенню відображувальної точки в області D.
та
- функції розподілу врівноважуваної сили та радіального зазору, то вірогідність знаходження відображувальної точки в області D відображається формулами [15]
(34)
(35)
- математичні очікування;
- середні квадратичні відхилення відповідних випадкових величин.
буде
- інтеграл вірогідності.
і
- математичне очікування і середнє квадратичне відхилення врівноважуваної сили.
, початкового безрозмірного зазору
. Граничні значення торцевого зазору
, базове значення візьмемо
За формулою (33) h0=0,094. З графіків, що наведені на рисунку 22, одержуємо: для сталі 30X13
=1,0,
= 0,2
= 0,2,
=0,2,
= 0,04; для хромомолібденової сталі
= 0,2,
=0,04,
=0,04,
= 0,008.
(36)
та без конусності
Перепад тиску на врівноважуючому пристрої у несталому режимі витрачається на подолання гідравлічного опору (активний опір) та на прискорення протікаючої рідини (індуктивний опір):
(n=1,2).
, (37)
, тоді надалі знехтуємо інерцією рідини у торцевому зазорі
(38)
визначені формулами (14) та (16). У сталому режимі
. (39)
(40)
:
(41)
(42)
- значення рівноваги торцевого зазору, яке визначається із статичного розрахунку за формулою (27).
.
:
, можна отримати додаткові малі поправки до постійних
та
. Таким чином, деформації стінок камери за своїм впливом на систему еквівалентні стисливості рідини.
з рівняння (40)
та
варіація врівноважуючої сили пов’язана з варіацією тиску простим співвідношенням
. Таким чином, з точністю до постійного множника
останнє рівняння є рівнянням регулятора, а його передавальна функція є динамічною жорсткістю врівноважуючого пристрою:
(43)
тобто одержуємо статичну жорсткість. Якщо не враховувати інерцію рідини (Т3 = 0), то динамічна жорсткість виражається характерною для гідростатичних опор передавальною функцією інтегро-диференціальної ланки, аналогом якої є модель стандартного лінійного твердого тіла:
(44)
динамічна жорсткість визначається лише пружністю рідини у камері гідроп’яти:
(45)
(46)
(47)
. З графіків видно, що резонансні властивості системи проявляються лише в області високих частот
причому зі збільшенням густини рідини Т3 та жорсткості віджимного пристрою
власні частоти зростають.
,
(48)
завжди виконується, оскільки
Умова (48) з урахуванням значень коефіцієнтів (47) містить дев’ять незалежних параметрів та одержати зручний для практичного використовування зв’язок між ними не вдається. Чисельний аналіз 30 варіантів з різними поєднаннями параметрів показав, що стабілізуючий вплив на систему дають
. Інерція ротора Т1, а також інерція Т3 і пружність Т4 рідини знижують стійкість.
, а умова стійкості після підстановки коефіцієнтів з рівняння (47) наберає вигляду
та зводиться до простого обмеження, що накладається на об’єм камери гідроп’яти:
,
,
у положенні статичної рівноваги
(49)
одержаних у статичному розрахунку.
(50)
- динамічний коефіцієнт в’язкості.
. Якщо вважати рідину нестисливою, а диск абсолютно жорстким, то умова (48) завжди виконується. Додатковий циліндровий дросель із провідністю g3 збільшує масу рідини у зазорах та відповідно сили інерції, що веде до зменшення запасу стійкості. Найдоступнішим засобом стабілізації системи ротор–врівноважуючий пристрій є зменшення осьового розміру Н камери гідроп’яти. Коли робоче середовище має низький модуль пружності, може знадобитися установка додаткового пружного елемента з безрозмірним зусиллям
.
у камерах змінюється через низькочастотні осьові коливання втулки. Інерційним тиском
інерцією рідини при її несталому русі та зміною провідності через малі високочастотні вібрації знехтуємо.
(51)
(52)
(53)
з рівнянь (51) і (52). Після угрупування членів за ступенями оператора р одержимо
після підставлення коефіцієнтів набирає вигляду
бо
(54)
Характеристики
Тип файла документ
Документы такого типа открываются такими программами, как Microsoft Office Word на компьютерах Windows, Apple Pages на компьютерах Mac, Open Office - бесплатная альтернатива на различных платформах, в том числе Linux. Наиболее простым и современным решением будут Google документы, так как открываются онлайн без скачивания прямо в браузере на любой платформе. Существуют российские качественные аналоги, например от Яндекса.
Будьте внимательны на мобильных устройствах, так как там используются упрощённый функционал даже в официальном приложении от Microsoft, поэтому для просмотра скачивайте PDF-версию. А если нужно редактировать файл, то используйте оригинальный файл.
Файлы такого типа обычно разбиты на страницы, а текст может быть форматированным (жирный, курсив, выбор шрифта, таблицы и т.п.), а также в него можно добавлять изображения. Формат идеально подходит для рефератов, докладов и РПЗ курсовых проектов, которые необходимо распечатать. Кстати перед печатью также сохраняйте файл в PDF, так как принтер может начудить со шрифтами.















