113913 (591500), страница 3
Текст из файла (страница 3)
В традиционных костюмах крестьян Южного Алтая отразились эстетические идеалы, которые во многом ориентировались на общепринятые нормы морали и нравственности. Они создали относительно скромный по колориту женский костюм. Его статичный, трапециевидный силуэт, многослойность способствовали не выявлению форм тела, а скорее, наоборот, их сокрытию. Основными формообразующими элементами были вытачки-защипы, сборки, которые создавали наполненные, объемные формы; облекая все тело в одежду, тщательно регламентировали длину. Тело, как вместилище греха, показывать не рекомендовалось, особенно замужней женщине. Рукава должны были закрывать запястье ("косточку"), а подол сарафана - щиколотку (в 1920 - 30-х гг. до середины голени). Такие, с нашей точки зрения, детальные ограничения воспринимались настолько естественно, что при выяснении отношений между мужчиной и женщиной, последняя доказывая, что ее стыдить не за что, могла сказать: "Что ты меня ругаешь! Ты моих локтей видал?". Увидеть у женщины локти и, тем более колени или, что еще хуже - "простые (т.е. без головного убора) волосы" считалось большим позором. Обыденное народное сознание осуждало как "нескромницу", так и "нескромника". Однако наряду с этим не было принято носить нижнего белья и штанов, почему во время подвижных игр или "куляний" (качаний на качелях) подолы рубах застегивались между ног. При взгляде на костюмы женщин нельзя не вспомнить воздвигнутые сибирскими крестьянами усадьбы с их замкнутыми, крытыми дворами, оправдавшими себя в суровых сибирских условиях. Ведь основные композиционные принципы в архитектуре и костюме всегда взаимообусловлены, выражали одну стилистическую идею. Приведем высказанное Е.А. Ащепковым наблюдение о том, что "особенности сибирского зодчества - это сдержанность композиции, простота форм, скупость красок, лаконизм архитектурного решения".
Традиционное конструирование как способ создания объемных форм характеризовалось своей спецификой. Вытачка, изобретенная западноевропейскими портными еще в средние века, в свободной, не стеснявшей движения одежде не требовалась, в ряде конструкций формообразующим элементом служили сборки "борки", "склады". Крой включал в основном разных размеров прямоугольники, криволинейные детали отсутствовали. Это было связано с очень древним обычаем - разрывать, а не разрезать ткань при раскрое. До настоящего времени информаторы преклонного возраста употребляют стародавние термины, отражавшие такую традицию - вместо "разрезать", говорят "урывать", "урвать". Детали кроя соединяли строчками - "живулькой", или вперед иголкой, и "втачкой", или назад иголкой, от названия последней из которых произошла современная терминология швейного дела (ср. стачать, втачать и т.д.). Виды швов зависели от их назначения: в тех местах, где могло быть большое растяжение, ткань соединяли запашивочным швом, там же, где нагрузки были незначительны - стачивающим.
2.2 Женская одежда
2.2.1 Рубахи
Рубахи, надевавшиеся непосредственно на тело, составляли одну из неотъемлемых частей женского костюма крестьян Южного Алтая второй половины XIX - начала XX вв. В зависимости от покроя в области плечевого пояса женские рубахи можно подразделить на следующие типы: туникообразные, поликовые, со слитными поликами, на кокетке, с плечевыми швами.
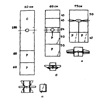
Показанные информаторами способы раскладок кроя дают представление об очень рациональных, безостатковых раскроях (рис. 1). При их выполнении руководствовались традициями, а также шириной тканого полотна (35 - 60 см), которая ограничивалась размерами ткацкого станка - "кросен". Если при крое все же получались небольшие остатки (как правило, в более поздних вариантах), то они использовались на обшивку ворота, низа рукавов.
Туникообразные рубахи. Еще в начале - первой трети XX в, в Алтайском округе сохранялись, а кое-где встречаются и сейчас, реликтовые, туникообразного покроя женские рубахи, называвшиеся становины, пропускнушки. Основу стана в них составляло перегнутое по утку полотно с пришитыми по сторонам 2-мя прямыми или 4-мя кошеными бочками (боковинами). Рукава в таких рубахах вшиты в пройму, образуемую центральным полотном и более короткими боковинами (рис. 1, а).
Рис. 1. Схемы раскроя женских рубах: а - туникообразных; б - на кокетке; в - с плечевыми швами. Условные обозначения: С - стан: Р - рукав.
Туникообразные рубахи описанного покроя были известны повсеместно у кержачек и большей части чалдонок в качестве повседневной и погребальной одежды (рис. 2). Туникообразные рубахи входили в погребальный комплекс и у тех групп населения, у которых повседневный и праздничный включали поликовые рубахи (кержачки по рекам Коксе, Чарышу, Бухтарме, Аную).
В конце XIX - начале XX вв. повседневные рубахи делали "составными" т.е. с отрезной верхней частью (рукавами (рис. 2 а, 6). Нижняя часть (стан) изготавливалась из 2-х, а, если шла льняная ткань, то из 3-х полос, которые сшивали швом встык косым стежками.
Рис. 2. Рубахи туникообразного покроя, изготовленные в начале XX в.: а - из темного сатина: б - из темно-зеленого сатина
Необычным был способ соединения рукавов и стана: их края подрубали (подшивочная строчка косым стежком) и, укладывая рядом, скрепляли косыми стежками "через край" (рис. 4).
Рис. 3. Современные туникообразные рубахи: а - повседневная из цветастого ситца; б - погребальная из белого ситца; в - повседневная из ситца и пестряди
Рис. 4. Технологические приемы шитья в рубахах: а, б - швы соединения верха со станом; в - швы соединения полотен стана; г, д - обработка низа стана
В отличие от повседневных, погребальные рубахи всегда старались делать цельными, пропускными. Это было связано с представлением о не желательности поперечных швов в такого рой'" одежде. Инновации наших дней - укладываемые поперек плеча складки-защипы, свидетельствуют о живучести таких поверий [31].
Поликовые рубахи. Женские рубахи с полисами во второй половине XIX - начале XX вв. были распространены у российских, которые привезли их с собой из России, у старожилок - "полячек", кержачек Южного, Центрального и Юго Алтая. Носили их в комплексе с "лямошными" сарафанами, надевавшимися поверх таких рубах.
Поликовые рубахи "полячки" называли по - наименованию прямоугольных вставок-поляков - рубахами с поляками. Так как кержачки часто называли плечевые вставки ластовками, то указанные рубахи были известны и как рубахи с ластовками или, из-за сборок - борами. Такие вставки вставляли в области плечевого пояса между передними и задними полотнами рубах. Расставленный таким образом ворот присобирали на одну или несколько нитей, в результате чего он приближался к форме и размерам шеи. Поликовые рубахи готовили составными, их верхние части шили из более качественных материалов [33].
Поляцкие рубахи с пришитыми по основе стана поликами и рукавами из двух-полутора полотен разной длины:
-
рубахи с рукавами из двух прямых полотен разной длины. Уголки большего из полотен укладываются "кульком";
-
рубахи с рукавами из полутора полотен разной длины, у меньшего из которых срезается уголок. Уголок при этом помещали вниз рукава;
-
рубахи с рукавами из полутора полотен, у большего из которых срезан уголок, надставлявший меньшее полотно;
-
рубахи с рукавами из одного полотна и двух клиньев, срезанных с этого полотна.
Бухтарминские рубахи с поликами, пришитыми по основе или утку стана, и рукавами из полотен одинаковой длины:
-
рубахи с рукавами из двух прямых полотен одинаковой длины, у одного из которых срезан угол;
-
рубахи с рукавами из полутора прямых полотен, у каждого из которых срезан угол. Форма рукавов приближается к кошеным.
Старожильческие (кержацкие) рубахи с рукавами из двух кошеных полотен - большого и малого.
Старожильческие и российские рубахи с пришитыми по утку стана поликами и прямыми, сборенными внизу рукавами.
Во второй половине XIX в. рубахи с рукавами из прямых полотен разной длины (кули) бытовали как старинные у "полячек" Владимирской, Риддерской, Ануйской, Бухтарминской и других волостей Южного Алтая. К настоящему времени сохранились в основном праздничные, свадебные экземпляры этих рубах, сшитые из отбеленного холста. Но, по сообщениям информаторов, раньше кули такой конструкции носили и повседневно.
Особенность конструкций этих рубах заключалась в том, что верхняя часть (чехлик) кроилась по утку, для чего полотно холста разрезали посредине, вдоль нити основы. Так как в этом случае ширина чехлика не ограничивалась размерами тканого полотна, то описанные рубахи были очень широкими в подоле (80 и более см) и объемными в плечевой части. На полики отрезали куски, равные ширине целого полотна, которые пришивали к чехлику по его нити основы. Ткань поликов окрашивали в красный цвет. В технике «роспись», «набор» по нитям выполняли вышивки шелковыми или бумажными нитками (рис. 5).
Рис. 5. Женская холщовая рубаха, с. Быструха Владимирской волости
В некоторых просмотренных рубахах полотна чехлика надставлены вверху кусочками кумача. Отметим, что с подобными же надставками - пельками этнограф Н.П. Гринкова столкнулась в Воронежской губернии, где установила их причастность к возрастному делению - такие "знаки" были присущи рубахам молодых женщин. Можно предположить, что и на Алтае кумачевые надставки несли ту же самую символическую нагрузку.
Рубахи с рукавами, в которых уголок срезался с меньшего полотна, бытовали у "полячек" по рекам Убе, Ульбе. До наших дней они хорошо сохранились и у старообрядческого населения б. Бухтарминской волости (г. Зыряновск, сел Снегирево, Тургусун, Богатырев) и др.). Последнее можно объяснить тем, что рассматриваемые рубахи занесены в низовье Бухтармы группами крестьян-убинцев, переселенных туда по указу Колывано-Воскресенского начальства в 1797 г. [33]. Вероятно, в этот район были миграции и самовольные.
Срезанный с меньшего полотна рукава уголок помещали внизу у запястья. Вследствие этого передний шов, который соединял большее и меньшее полотна, а также уголок-вставку по нитям основы имел вид продольного соединения, а локтевой - продольно-поперечного с посадкой ткани в районе треугольной вставки. В использовании дополнительного уголка, таким образом, заметен переход от кулевидных рукавов, где прямые срезы комбинировались с поперечными, к кошеным. У запястья рукава обшивали полосками контрастной ткани (пояском), косичкой-плетешком или тем и другим одновременно. Особую нарядность таким рубахам придавали полики, которые подбирали из ярких, порой контрастных по отношению к основной ткани, материалов.
В рубахах с рукавами, где уголок-вставку срезали с большего полотна и использовали практически как продолжение малого, локтевые срезы становились симметричными друг относительно друга, так что не было необходимости припосаживать детали. Указанные особенности кроя обусловили то, что соединение полотен было продольным, от кержацких кошеных рукавов отличала лишь треугольная вставка у запястья (рис. 6).















