80776 (589447)
Текст из файла
Выпускная квалификационная (дипломная) работа
Влияние планировки торгового предприятия на рациональное распределение познавательных ресурсов посетителей на примере ООО СП ТЦ «Омский»
Специальность: 080402 Товароведение (по группам однородных товаров) (повышенный уровень СПО)
2008
Оглавление:
Введение
1.1 Основные требования, предъявляемые к устройству и планировке магазина
1.2 Подходы к распределению площади торгового зала
1.3 Распределение познавательных ресурсов посетителей
1.4 Особенности поведения покупателей в торговом зале
1.5 Система размещения оборудования: управление движением покупателей внутри магазина
2. Изучение деятельности ООО СП ТЦ «Омский» по рациональному распределению площади торгового зала с учетом познавательных ресурсов посетителей
2.1 Характеристика ООО СПТЦ «Омский»
Заключение
Библиографический список
Введение
Мерчендайзинг – одна из основополагающих дисциплин для профессиональных деятелей рынка, чей бизнес заключается в реализации товаров и услуг конечным потребителям. Им необходимо знать, как привлечь потребителя в магазин и обратить его внимание на товар; как увеличить время пребывания покупателя в торговом зале и количество совершаемых им покупок; как управлять поведением потребителя.
Н пути к покупке товара потребитель проходит ряд этапов, которые определяют его конечный выбор.
Хорошая планировка помогает потребителям находить и покупать товары.
Размещение оборудования, отделов, секций и товаров по правилам мерчендайзинга в сочетании с информационным сопровождением (реклама, понятная маркировка) позволяет активизировать, целенаправленно концентрировать и рационально распределять внимание и прочие познавательные ресурсы покупателей.
Основная идея данной работы состоит в приближении принципов и открытий в области поведения потребителей к стратегиям мерчендайзинга на розничном торговом предприятии не столько посредством влияния на поведение посетителя, сколько приспособлением деятельности розничного торгового предприятия к особенностям природной системы человека.
Многие исследования в области поведения потребителя направлены на то, чтобы использовать результаты для влияния на поведение покупателя на подсознательном уровне. Такой подход в большинстве случаев противоречит морально-этическим нормам бизнеса и раздражает покупателей и общество в целом, когда они обнаруживают вторжение в их жизненное пространство.
Следовательно, теоретики и практики должны найти замену традиционным подходам использования поведения покупателя. Применение в мерчендайзинге подходов, исходящих из сбалансированного распределения познавательных ресурсов покупателя и опирающихся на совместимые с этическими нормами управления поведением, повысит привлекательность предприятия для покупателей.
Данная тема представляет большую актуальность, поскольку правильная планировка позволяет покупателям зайти в каждый отдел магазина, найти необходимый товар и купить его; а также планировка делает товар легко доступным для потребителя, а следовательно он не раз вернётся в ваш магазин, а для магазина – это высокий доход.
Целью исследования является определение основных подходов к распределению торговых площадей и основных направлений по эффективному использованию торгового пространства.
Объект исследования: устройство и технологическая планировка торгового предприятия.
Предмет исследования – подходы к распределению площади торгового зала с учётом познавательных ресурсов посетителей.
Гипотеза: эффективность работы предприятия во многом зависит от рационального размещения отделов, групп товаров в торговом зале.
Задачами исследования будут являться:
-
Изучить учебную и научно- публицистическую литературу по данной теме.
-
Выявить влияние планировки торгового зала по распределению познавательных ресурсов посетителей.
-
Проанализировать наиболее вероятные характеристики поведения посетителей на отдельных этапах его движения по торговому залу.
-
Определить основные направления деятельности по эффективному использованию торгового пространства.
В ходе исследования на примере ООО СП ТЦ «Омский» использованы следующие методы: анализ, беседа, сравнение, наблюдение, интервьюирование, анкетирование.
1. Теоретические основы рационального распределения площади торгового зала с учетом познавательных ресурсов посетителей
1.1 Основные требования, предъявляемые к устройству планировки магазина
Мерендайзинговый подход к устройству планировки магазина основывается на выполнении следующих основных требований:
-
Направление движения потоков покупателей. Поток должен привлекать покупателей в определённые места торгового зала, к определённым прилавкам и витринам.
-
Совместное приобретение. Направление покупательского потока должно обеспечивать комплексную покупку.
-
Частота покупок и характер спроса. Товары частого спроса, те, которые покупатель не будет специально искать, должны располагаться в местах интенсивного покупательского потока. Ярко выраженные товары импульсной покупки размещаются, как правило, в передней части магазина или возле кассы. Отделы целевого спроса могут располагаться в отдалённых участках зала.
-
Продолжительность отбора товаров. В отдалённых местах зала, в стороне от общего покупательского потока, размещаются товары, требующие времени и спокойного отбора. Порой при выборе такого товара необходима индивидуальная консультация, которая может быть длительной.
-
Свобода и удобство передвижения покупателей. Нельзя размещать рядом два или несколько отделов, где могут скопиться очереди в вечерние часы или в выходные дни.
-
Трудоёмкость перемещения товаров из складских помещений. Если при проектировании размещения отделов не предусмотреть пересечение покупательских и товарных потоков, это может привести к неудобству передвижения и не замедлит сказаться на прибыли.
Основной принцип планировки магазина – максимально возможное увеличение площади торгового зала, например за счёт использования современных систем контроля за товарными запасами и управления ими либо за счёт вынесения части технологических операций и работ за пределы магазина.[5,c.38]
Основная задача планировки – заставить покупателя пройти по всему магазину, рассмотреть товар и сделать покупку. Роль мерчендайзинга состоит в том, чтобы, учитывая профиль, размеры и место расположения магазина, определить, какую технологическую планировку торгового зала следует использовать. Планировка магазина в значительной мере определяется количеством и принципами размещения отделов в торговом зале.[23,c.18]
В зависимости от системы расстановки оборудования используют различные виды технологической планировки торгового зала (6):
-
линейная (решетка);
-
боксовая (трек, петля);
-
смешанная;
-
свободная (произвольная)
-
выставочная.
-
Линейная планировка торгового зала предполагает схемы размещения товаров и проходов для покупателей в виде параллельных линий. Соответственно выстраиваются и линии торгового оборудования. При этом линия узла расчета располагается перпендикулярно. Такая планировка используется в магазинах самообслуживания.
По отношению к размещению линий оборудования в торговом зале схема может быть продольной, поперечной и смешанной
-
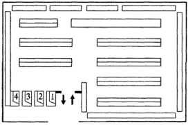
«Решетка» с линейным продольным размещением оборудования, т. е. стеллажи с товарами преимущественно располагаются перпендикулярно входящему в зал покупательскому потоку (рис.1.).
Рисунок 1. «Решетка» с линейным продольным размещением оборудования
-
«Решетка» с линейным поперечным размещением оборудования, т. е. стеллажи с товарами преимущественно располагаются параллельно входящему покупательскому потоку (рис.2.).
-
«Решетка» со смешанным линейным размещением оборудования, т.е. сочетание в торговом зале и продольного и поперечного размещения (рис.3.)
Рисунок 2. «Решетка» с линейным поперечным размещением оборудования
Рисунок 3. «Решетка» со cмешанным линейным размещением оборудования
Линейная планировка торгового зала позволяет четко формировать потоки движения покупателей, создает лучшие условия для группировки и размещения товаров, обеспечивает лучший просмотр торгового зала. В условиях линейной планировки покупатели наиболее эффективно воспринимают информацию о товарах. Изменением длины линий регулируется сосредоточение покупателей на различных участках торгового зала. Также к преимуществам линейной планировки следует отнести более эффективное использование площади торгового зала (5).
2. Боксовая планировка (трек, петля) используется, как правило, в крупных универсальных магазинах, где часто торговля ведется через прилавок. В таком случае торговый зал разбит на отделы, секции, павильоны, которые изолированы друг от друга (рис.4.)
Тип боксовой планировки магазина («трек», «петля») обычно представляет собой центральный проход, к которому ведут несколько входов в маленькие секции, которые похожи на отдельные бутики. Примерами такого вида магазинов являются: ГУМ, Манеж, Петровский пассаж, «Электронный рай», г. Москва.
Рисунок 4. «Трек» или «петля»
-
Смешанная планировка включает сочетание элементов линейной и боксовой планировок (рис.5.).
Рисунок 5.. Смешанная планировка
-
Произвольная планировка является самой дорогой, используется в небольших магазинах, а также в бутиках в рамках крупных торговых центров. Здесь царит расслабленная атмосфера, что способствует поощрению покупателя к покупке. Роль стимула, подгоняющего покупателя ходить по магазину, исполняют продавцы. [15,c.112]
1.2 Подходы к распределению площади торгового зала
На сегодняшний день существует 2 основных подхода к распределению площади торгового зала. Первый – традиционный подход, известный также как концепция сбалансированного магазина. Он основывается на том, что площади, отводимые под каждый отдел, должны быть пропорциональны объёмам продаж и соответствовать потребностям в торговом пространстве. Согласно этому подходу, каждому отделу выделяется место:
-
в соответствии с ожидаемым объёмом продаж данной группы или вида товара. Например, если объём продаж какого-либо отдела составляет 10% от общей суммы продаж, то на этот отдел выделяют 10% от общей площади зала;
-
в зависимости от участия товарной группы или отдела в формировании прибыли предприятия. Если тот же отдел приносит 18% прибыли магазина, на него отводится18% площади торгового зала;
-
согласно размеру предполагаемых товарных запасов каждой группы товаров;
-
с целью поддержания желаемого направления движения покупательских потоков;
-
на основе этажности торговых залов, места расположения эскалаторов и межэтажных лестниц, главных входов и выходов и т.д.
За всеми группами товаров закрепляются постоянные места в торговом зале, покупатель привыкает к ним, что ускоряет процесс продажи.[20,c.58]
Как правило, при традиционном подходе к планировке торгового зала выбирается такое размещение отделов, при котором, чтобы попасть в нужные отделы основных покупок, покупатели вынуждены посещать большое число отделов недорогих товаров импульсивной покупки. Недостатком такой планировки является то, что при размещении отделов не учитываются особенности психофизиологии целевых групп потребителей. Посетитель может подойти к нужному отделу уже утомлённым и не получить удовлетворения от совершённой покупки.
С позиций мерчендайзингового подхода к размещению отделов планировка торгового зала должна быть вторична по отношению к поведению посетителя и подчиняться основным законам психофизиологии человека. С мерчендайзингом хорошо сочетается гипотеза о том, что поведение посетителя неоднородно на протяжении всего маршрута его движения в торговом зале. Разные отделы посетители замечают с разной активностью внимания, следовательно, продавцам необходимо приспосабливаться к этой особенности и использовать её для получения дополнительных доходов.[17,c.81]
При распределении площади торгового зала с учётом поведения посетителей каждому отделу и группе товаров выделяется место:
-
в соответствии с ролью и статусом товара в удовлетворении потребностей покупателей;
-
с учётом психологического состояния посетителей;
-
с целью обеспечения комплексного обслуживания покупателей;
-
с целью создания целенаправленного движения покупательских потоков;
-
с целью обеспечения равномерности посещения отделов покупателями;
-
с целью обеспечения равномерного распределения внимания посетителей за всё время нахождения их в торговом зале;
-
в соответствии с преимущественными методами обслуживания покупателей и особенностям самих товаров (тяжёлые товары, товары большого объёма, товары, которые чаще воруют ). [18,c.152]
1.3 Распределение познавательных ресурсов посетителей
Рациональное распределение познавательных ресурсов посетителей в пространстве торгового зала является одним из основополагающих принципов мерчендайзинга и ключевым фактором успеха розничного торгового предприятия.
Характеристики
Тип файла документ
Документы такого типа открываются такими программами, как Microsoft Office Word на компьютерах Windows, Apple Pages на компьютерах Mac, Open Office - бесплатная альтернатива на различных платформах, в том числе Linux. Наиболее простым и современным решением будут Google документы, так как открываются онлайн без скачивания прямо в браузере на любой платформе. Существуют российские качественные аналоги, например от Яндекса.
Будьте внимательны на мобильных устройствах, так как там используются упрощённый функционал даже в официальном приложении от Microsoft, поэтому для просмотра скачивайте PDF-версию. А если нужно редактировать файл, то используйте оригинальный файл.
Файлы такого типа обычно разбиты на страницы, а текст может быть форматированным (жирный, курсив, выбор шрифта, таблицы и т.п.), а также в него можно добавлять изображения. Формат идеально подходит для рефератов, докладов и РПЗ курсовых проектов, которые необходимо распечатать. Кстати перед печатью также сохраняйте файл в PDF, так как принтер может начудить со шрифтами.















