63789 (589051), страница 4
Текст из файла (страница 4)
Рисунок 5.1 – Зависимость удельной скорости передачи от отношения сигнал/шум
Любая система передачи может быть описана точкой, лежащей ниже приведенной на рисунке кривой (область В). Эту кривую часто называют границей или пределом Шеннона. Для любой точки в области В можно создать такую систему связи, вероятность ошибочного приема у которой может быть настолько малой, насколько это требуется [2].
Современные системы передачи данных требуют, чтобы вероятность необнаруженной ошибки была не выше величины 10-4…10-7 [11].
В современной цифровой технике связи наиболее распространенными являются частотная модуляция (FSK), относительная фазовая модуляция (DPSK), квадратурная фазовая модуляция (QPSK), фазовая модуляция со сдвигом (смещением), обозначаемая как O-QPSK или SQPSK, квадратурная амплитудная модуляция (QAM).
При частотной модуляции значениям «0» и «1» информационной последовательности соответствуют определенные частоты аналогового сигнала при неизменной амплитуде. Частотная модуляция весьма помехоустойчива, однако при частотной модуляции неэкономно расходуется ресурс полосы частот канала связи. Поэтому этот вид модуляции применяется в низкоскоростных протоколах, позволяющих осуществлять связь по каналам с низким отношением сигнал/шум.
При относительной фазовой модуляции в зависимости от значения информационного элемента изменяется только фаза сигнала при неизменной амплитуде и частоте. Причем каждому информационному биту ставится в соответствие не абсолютное значение фазы, а ее изменение относительно предыдущего значения.
Чаще применяется четырехфазная DPSK, или двукратная DPSK, основанная на передаче четырех сигналов, каждый из которых несет информацию о двух битах (дибите) исходной двоичной последовательности. Обычно используется два набора фаз: в зависимости от значения дибита (00, 01, 10 или 11) фаза сигнала может измениться на 0°, 90°, 180°, 270° или 45°, 135°, 225°, 315° соответственно. При этом, если число кодируемых бит более трех (8 позиций поворота фазы), резко снижается помехоустойчивость DPSK. По этой причине для высокоскоростной передачи данных DPSK не используется.
Модемы с 4-позиционной или квадратурной фазовой модуляцией используются в системах, в которых теоретическая спектральная эффективность устройств передачи BPSK (1 бит/(с·Гц)) недостаточна при имеющейся в наличии полосе частот. Различные методы демодуляции, используемые в системах BPSK, применяются также и в системах QPSK. Кроме прямого распространения методов двоичной модуляции на случай QPSK используется также 4-позиционная модуляция со сдвигом (смещением). Некоторые разновидности QPSK и BPSK приведены в табл. 5.1 [8].
При квадратурной амплитудной модуляции изменяется как фаза, так и амплитуда сигнала, что позволяет увеличить количество кодируемых бит и при этом существенно повысить помехоустойчивость. В настоящее время используются способы модуляции, в которых число кодируемых на одном бодовом интервале информационных бит, может достигать 8…9, а число позиций сигнала в сигнальном пространстве – 256…512.
Таблица 5.1 – Разновидности QPSK и BPSK
| Двоичная PSK | Четырехпозиционная PSK | Краткое описание |
| BPSK | QPSK | Обычные когерентные BPSK и QPSK |
| DEBPSK | DEQPSK | Обычные когерентные BPSK и QPSK с относительным кодированием и СВН |
| DBSK | DQPSK | QPSK с автокорреляционной демодуляцией (нет СВН) |
| FBPSK | FQPSK O-QPSK DEOQPSK FOQPSK р/4-DEQPSK | BPSK или QPSK С запатентованным процессором Феера, пригодным для систем с нелинейным усилением QPSK со сдвигом (смещением) QPSK со сдвигом и относительным кодированием QPSK со сдвигом и запатентованным Феером процессорами QPSK с относительным кодированием и фазовым сдвигом на р/4 |
Квадратурное представление сигналов является удобным и достаточно универсальным средством их описания. Квадратурное представление заключается в выражении колебания линейной комбинацией двух ортогональных составляющих — синусоидальной и косинусоидальной:
S(t)=x(t)sin(t+())+y(t)cos(t+()), (5.2)
где x(t) и y(t) — биполярные дискретные величины.
Такая дискретная модуляция (манипуляция) осуществляется по двум каналам на несущих, сдвинутых на 90° друг относительно друга, т.е. находящихся в квадратуре (отсюда и название представления и метода формирования сигналов).
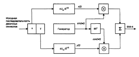
Поясним работу квадратурной схемы (рис. 5.2) на примере формирования сигналов QPSK.
Рисунок 5.2 – Схема квадратурного модулятора
Исходная последовательность двоичных символов длительностью Т при помощи регистра сдвига разделяется на нечетные импульсы Y, которые подаются в квадратурный канал (cost), и четные — X, поступающие в синфазный канал (sint). Обе последовательности импульсов поступают на входы соответствующих формирователей манипулирующих импульсов, на выходах которых образуются последовательности биполярных импульсов x(t) и y(t).
Манипулирующие импульсы имеют амплитуду
и длительность 2T. Импульсы x(t) и y(t) поступают на входы канальных перемножителей, на выходах которых формируются двухфазные фазомодулированные колебания. После суммирования они образуют сигнал QPSK.
Для приведенного выше выражения для описания сигнала характерна взаимная независимость многоуровневых манипулирующих импульсов x(t), y(t) в каналах, т.е. единичному уровню в одном канале может соответствовать единичный или нулевой уровень в другом канале. В результате выходной сигнал квадратурной схемы изменяется не только по фазе, но и по амплитуде. Поскольку в каждом канале осуществляется амплитудная манипуляция, этот вид модуляции называют амплитудной квадратурной модуляцией.
Пользуясь геометрической трактовкой, каждый сигнал QAM можно изобразить вектором в сигнальном пространстве.
Отмечая только концы векторов, для сигналов QAM получаем изображение в виде сигнальной точки, координаты которой определяются значениями x(t) и y(t). Совокупность сигнальных точек образует так называемое сигнальное созвездие.
На рис. 5.3 показана структурная схема модулятора, а на рис. 5.4 – сигнальное созвездие для случая, когда x(t) и y(t) принимают значения ±1, ±3 (QAM-4).
Рисунок 5.4 – Сигнальная диаграмма QAM-4
Величины ±1, ±3 определяют уровни модуляции и имеют относительный характер. Созвездие содержит 16 сигнальных точек, каждая из которых соответствует четырем передаваемым информационным битам.
Комбинация уровней ±1, ±3, ±5 может сформировать созвездие из 36 сигнальных точек. Однако из них в протоколах ITU-T используется только 16 равномерно распределенных в сигнальном пространстве точек.
Существует несколько способов практической реализации QAM-4, наиболее распространенным из которых является так называемый способ модуляции наложением (SPM). В схеме, реализующей данный способ, используются два одинаковых QPSK (рис. 5.5).
Используя эту же методику получения QAM, можно получить схему практической реализации QAM-32 (рис.5.6).
Рисунок 5.5 – Схема модулятора QAM-16
Рисунок 5.6 – Схема модулятора QAM-32
Получение QAM-64, QAM-128 и QAM-256 происходит таким же образом. Схемы получения этих модуляций не приводятся по причине их громоздкости.
Из теории связи известно, что при равном числе точек в сигнальном созвездии спектр помехоустойчивость систем QAM и QPSK различна. При большом числе точек сигналов спектр QAM идентичен спектру сигналов QPSK. Однако сигналы системы QAM имеют лучшие характеристики, чем системы QPSK. Основная причина этого состоит в том, что расстояние между сигнальными точками в системе QPSK меньше расстояния между сигнальными точками в системе QAM.
На рис. 5.7 представлены сигнальные созвездия систем QAM-16 и QPSK-16 при одинаковой мощности сигнала. Расстояние d между соседними точками сигнального созвездия в системе QAM с L уровнями модуляции определяется выражением:
(5.3)
Аналогично для QPSK:
(5.4)
где М – число фаз.
Из приведенных выражений следует, что при увеличении значения М и одном и том же уровне мощности системы QAM предпочтительнее систем QPSK. Например, при М=16 (L = 4) dQAM = 0.47 и dQPSK = 0.396, а при М=32 (L = 6) dQAM = 0.28, dQPSK = 0.174 [2].
Таким образом, можно сказать, что QAM на много эффективнее по сравнению с QPSK, что позволяет использовать более многоуровневую модуляцию при одинаковом соотношении сигнал/шум. Поэтому можно сделать вывод, что характеристики QAM будут наиболее приближенными к границе Шеннона (рис.5.8) где: 1 – граница Шеннона, 2 – QAM, 3 – М-позиционная АРК, 4 – М-позиционная PSK [8].
Рисунок 5.8 - Зависимость спектральной эффективности различных модуляций от C/N
В общем случае М-позиционные системы QAM с линейным усилением, такие как 16-QAM, 64-QAM, 256-QAM, имеют спектральную эффективность выше, чем у QPSK с линейным усилением, имеющей теоретическую предельную эффективность 2 бит/(с∙Гц).
Одной из характерных особенностей QAM является малые значения внеполосной мощности (рис. 5.9) [8].
Рисунок 5.9 – Энергетический спектр QAM-64
Применение многопозиционной QAM в чистом виде сопряжено с проблемой недостаточной помехоустойчивости. Поэтому во всех современных высокоскоростных протоколах QAM используется совместно с решетчатым кодированием (ТСМ). Сигнальное созвездие ТСМ содержит больше сигнальных точек (позиций сигналов), чем требуется при модуляции без решетчатого кодирования. Например, 16-позиционная QAM преобразует в созвездие 32-QAM с решетчатым кодированием. Дополнительные точки созвездия обеспечивают сигнальную избыточность и могут быть использованы для обнаружения и исправления ошибок. Сверточное кодирование в сочетании с ТСМ вносит зависимость между последовательными сигнальными точками. В результате появился новый способ модуляции, называемый треллис-модуляцией. Выбранная определенным образом комбинация конкретной QAM помехоустойчивого кода носит название сигнально-кодовой конструкции (СКК). СКК позволяют повысить помехозащищенность передачи информации наряду со снижением требований к отношению сигнал/шум в канале на 3 – 6 дБ. В процессе демодуляции производится декодирование принятого сигнала по алгоритму Витерби. Именно этот алгоритм за счет использования введенной избыточности и знания предыстории процесса приема позволяет по критерию максимального правдоподобия выбрать из сигнального пространства наиболее достоверную эталонную точку.
Применение QAM-256 позволяет за 1 бод передавать 8 сигнальных состояний, то есть 8 бит. Это позволяет значительно увеличить скорость передачи данных. Так, при ширине диапазона передачи f=45 кГц (как в нашем случае) за интервал времени 1/f можно передать 1 бод, то есть 8 бит. Тогда максимальная скорость передачи по данному частотному диапазону составит
, (5.5)
.
Поскольку в данной системе передача производиться по двум частотным диапазонам с одинаковой шириной, то максимальная скорость передачи данной системы составит 720 кбит/с.
Так как передаваемый поток бит содержит не только информационные биты, а и служебные, то информационная скорость будет зависеть от структуры передаваемых кадров. Кадры применяемые в данной системе передачи данных формируются на основе протоколов Ethernet и V.42 и имеют максимальную длину К=1518 бит, из которых КС=64 – служебные. Тогда информационная скорость передачи будет зависеть от соотношения информационных бит и служебных
, (5.6)
, (5.7)
.
Данная скорость превышает скорость, заданную в техническом задании. Поэтому можно сделать вывод, что выбранный способ модуляции удовлетворяет требованиям, поставленным в техническом задании.
Поскольку в данной системе передача осуществляется по двум частотным диапазонам одновременно, то требуется организация двух, параллельно работающих модуляторов. Но следует учитывать, что возможен переход работы системы с основных частотных диапазонов на резервные. Поэтому требуется генерация всех четырех несущих частот и управление ими. Синтезатор частот, предназначенный для генерации несущих частот, состоит из генератора опорного сигнала, делителей и высокодобротных фильтров. В качестве генератора опорных сигналов выступает кварцевый генератор прямоугольных импульсов (рис. 5.10).
Рисунок 5.10 - Генератор с кварцевой стабилизацией
Делители частоты предназначены для преобразования частоты опорного генератора в несущие частоты путем ее деления. Высокодобротные полосовые фильтры служат для выделения из спектра полученных импульсов необходимую составляющую.
6. ОПИСАНИЕ ВНЕШНЕГО ИНТЕРФЕЙСА УСТРОЙСТВА
Как отмечалось в разделе 3, внешний интерфейс передающей части устройства передачи данных состоит из полосовых фильтров, предназначенных для ограничения спектра передаваемых сигналов в диапазоне передачи, адаптивного эквалайзера, эхокомпенсатора, усилителя и устройства присоединения.
6.1 Расчет полосовых фильтров
Поскольку передача данных осуществляется в четырех частотных диапазонах, которые расположены довольно близко друг от друга, то появляется необходимость ограничения спектров передаваемых сигналов в рамках частотного диапазона. Ограничение производится для того, чтобы сигналы, передаваемые в одном диапазоне, не влияли на сигналы, которые передаются в другом частотном диапазоне. Для ограничения спектров используются полосовые фильтры, настроенные каждый на свою резонансную частоту.
















