62931 (588862), страница 2
Текст из файла (страница 2)
Функциональная спецификация представляет собой:
-
Входы
а. 7 кнопок выбора мелодий (S1-S7);
b. Кнопка запуска электромузыкального звонка (S8);
с. Источник бесперебойного электропитания звонка (ИП).
-
Выходы
а. Электронный ключ (Э/кл);
b. Звуковой динамик (Звуковой излучатель).
-
Функции
а. Запись мелодии в память, при нажатии кнопки S8;
-
Воспроизведение мелодии из памяти;
-
Осуществление бесперебойного электропитания в двух режимах: автономном и от сети.
2.3 Аппаратные средства микроконтроллеров серии ATtiny2313
В разработке электромузыкального звонка предлагается использовать, широко распространенный, относительно недорогой и надежный в эксплуатации 8 битный AVR микроконтроллер серии ATtiny2313 с 2 КБ программируемой в системе Flash памяти.
ATtiny2313 - низкопотребляющий 8 битный КМОП микроконтроллер с AVR RISC архитектурой. Выполняя команды за один цикл, ATtiny2313 достигает производительности 1 MIPS при частоте задающего генератора 1 МГц, что позволяет разработчику оптимизировать отношение потребления к производительности.
AVR ядро объединяет богатую систему команд и 32 рабочих регистра общего назначения. Все 32 регистра непосредственно связаны с арифметико-логическим устройством (АЛУ), что позволяет получить доступ к двум независимым регистрам при выполнении одной команды. В результате эта архитектура позволяет обеспечить в десятки раз большую производительность, чем стандартная CISC архитектура.
ATtiny2313 имеет следующие характеристики: 2 КБ программируемой в системе Flash память программы, 128 байтную EEPROM память данных, 128 байтное SRAM (статическое ОЗУ), 18 линий ввода - вывода общего применения, 32 рабочих регистра общего назначения, однопроводный интерфейс для встроенного отладчика, два гибких таймера/счетчика со схемами сравнения, внутренние и внешние источники прерывания, последовательный программируемый USART, универсальный последовательный интерфейс с детектором стартового условия, программируемый сторожевой таймер со встроенным генератором и три программно инициализируемых режима пониженного потребления. В режиме Idle останавливается ядро, но ОЗУ, таймеры/счетчики и система прерываний продолжают функционировать. В режиме Power-down регистры сохраняют свое значение, но генератор останавливается, блокируя все функции прибора до следующего прерывания или аппаратного сброса. В Standby режиме задающий генератор работает, в то время как остальная часть прибора бездействует. Это позволяет очень быстро запустить микропроцессор, сохраняя при этом в режиме бездействия мощность.
Прибор изготовлен по высокоплотной энергонезависимой технологии изготовления памяти компании Atmel. Встроенная ISP Flash позволяет перепрограммировать память программы в системе через последовательный SPI интерфейс или обычным программатором энергонезависимой памяти. Объединив в одном кристалле 8- битное RISC ядро с самопрограммирующейся в системе Flash памятью, ATtiny2313 стал мощным микроконтроллером, который дает большую гибкость разработчика микропроцессорных систем.
ATtiny2313 поддерживается различными программными средствами и интегрированными средствами разработки, такими как компиляторы C, макроассемблеры, программные отладчики/симуляторы, внутрисхемные эмуляторы и ознакомительные наборы.
Характеристики микроконтроллера ATtiny2313
AVR RISC архитектура
AVR - высококачественная и низкопотребляющая RISC архитектура
120 команд, большинство которых выполняется за один тактовый цикл
32 8 битных рабочих регистра общего применения
Полностью статическая архитектура
ОЗУ и энергонезависимая память программ и данных
2 КБ самопрограммируемой в системе Flash памяти программы, способной выдержать 10 000 циклов записи/стирания
128 Байт программируемой в системе EEPROM памяти данных, способной выдержать 100 000 циклов записи/стирания
128 Байт встроенной SRAM памяти (статическое ОЗУ)
Программируемая защита от считывания Flash памяти программы и EEPROM памяти данных
Характеристики периферии:
Один 8- разрядный таймер/счетчик с отдельным предделителем
Один 16-разрядный таймер/счетчик с отдельным предделителем, схемой сравнения, схемой захвата и двумя каналами ШИМ
Встроенный аналоговый компаратор
Программируемый сторожевой таймер со встроенным генератором
USI - универсальный последовательный интерфейс
Полнодуплексный UART
Специальные характеристики микроконтроллера :
Встроенный отладчик debugWIRE
Внутрисистемное программирование через SPI порт
Внешние и внутренние источники прерывания
Режимы пониженного потребления Idle, Power-down и Standby
Усовершенствованная схема формирования сброса при включении
Программируемая схема обнаружения кратковременных пропаданий питания
Встроенный откалиброванный генератор
Порты ввода - вывода и корпусное исполнение
18 программируемых линий ввода - вывода
20 выводной PDIP, 20 выводной SOIC и 32 контактный MLF корпуса
Диапазон напряжения питания:
от 1.8 до 5.5 В
Рабочая частота:
0 - 16 МГц
Потребление
Активный режим:
300 мкА при частоте 1 МГц и напряжении питания 1.8 В
20 мкА при частоте 32 кГц и напряжении питания 1.8 В
Режим пониженного потребления
0.5 мкА при напряжении питания 1.8 В
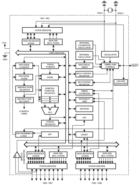
Блок- схема ATtiny2313 представлена на рисунке 2.2.
Рисунок 2.2 - Блок-схема микроконтроллера ATtiny2313
Расположение выводов МК ATtiny2313 приведено на рисунке 2.3.
Рисунок 2.3 - Расположение выводов микроконтроллера ATtiny2313
2.4 Разработка функциональной схемы устройства
В проектируемом устройстве можно выделить следующие функциональные блоки: микроконтроллер ATtiny 2313, кнопка запуска электромузыкального звонка, кнопки выбора мелодии, кварцевый резонатор, электронный ключ, звуковой излучатель, источник питания. Функциональная схема электромузыкального звонка приведена на рисунке 2.4.
При нажатии на кнопку S8 (дверная кнопка) и любой выбранной кнопке S1-S7 (кнопки выбора мелодии) производится запуск работы устройства, собранного на МК ATtiny 2313. Кварцевый резонатор служит для стабилизации частоты кварцевого генератора. Электронный ключ служит для развязки выхода микроконтроллера с низкоомным входом громкоговорителя. Источник питания служит для электропитания всего устройства. Источник питания работает в двух режимах: от сети (схема бестрансформаторного питания) и автономно (от элементов постоянного тока).
Кнопки
Выбора
мелодии
Кварцевый
резонатор
Эл. ключ
20
Источник питания
Рисунок 2.4 - Функциональная схема электромузыкального звонка
2.5 Разработка алгоритма работы устройства
Для начала нам нужно придумать, как мы будем хранить мелодии в памяти. Для того, чтобы в памяти можно было что-либо хранить, нужно сначала это что-то каким-либо способом закодировать. Любая мелодия состоит из нот. Каждая нота имеет свой тон (частоту) и длительность звучания. Для того, чтобы закодировать тон ноты, можно просто все ноты пронумеровать по порядку. Удобнее нумеровать, начиная с самого низкого тона.
Известно, что весь музыкальный ряд делится на октавы. В современном музыкальном ряду каждая октава делится на 12 нот. Семь основных нот и пять дополнительных.
Деление на основные и дополнительные ноты сложилось исторически. В настоящее время используется музыкальный строй, в котором все 12 нот одной октавы равнозначны. Частоты любых двух соседних нот отличаются друг от друга в одинаковое количество раз. При этом частоты одноименных нот в двух соседних октавах отличаются ровно в два раза.
Для нас же важно то, что коды всем этим нотам мы должны присваивать в порядке возрастания частоты. Начнем мы с ноты «До» первой октавы. Для электромузыкального звонка более низкие ноты не нужны. В таблице 2.1 показаны коды для всей первой октавы. Следующая, вторая октава продолжает первую и по кодировке, и по набору частот. Так нота «До» второй октавы будет иметь код 13, а частоту f12= fo ∙ 2. А нота «Ре» второй октавы будет иметь код 14 и частоту f13=f1 ∙ 2. И так далее.
Музыкальная длительность тоже легко кодируется. В музыке применяют не произвольную длительность, а длительность, выраженную долями от целой (см. таблицу 2.2). В зависимости от темпа реальная длительность целой ноты меняется. Для сохранения мелодии необходимо соблюдать лишь соотношения между длительностями. Поэтому нам необходимо закодировать лишь семь вариантов длительности. Присвоим им коды от 0 до 6. Например так, как это показано в графе «Код» таблицы 2.2. Назначение графы «Коэффициент деления» мы пока опустим.
Таблица 2.1- Кодировка нот первой октавы
| Код | Нота | Частота | Код | Нота | Частота |
| 1 | До | fo | 7 | Фа# | f6=f5/K |
| 2 | До# | f1=fo/K | 8 | Соль | f7=f6/K |
| 3 | Ре | f2=f1/K | 9 | Соль* | f8=f7/K |
| 4 | Ре# | f3=f2/K | 10 | Ля | f9=f8/K |
| 5 | Ми | f4=f3/K | 11 | Ля# | f10=f9/K |
| 6 | Фа | f5=f4/K | 12 | Си | f11=f10/K |
Таблица 2.2 - Кодирование музыкальных длительностей
| Код | Длительность | Коэффициент деления |
| 0 | 1 (целая) | 64 |
| 1 | 1/2(половинная) | 128 |
| 2 | 1/4 (четверть) | 256 |
| 3 | 1/8 (восьмая) | 512 |
| 4 | 1/16 (шестнадцатая) | 1024 |
| 5 | 1/32 (тридцать вторая) | 2048 |
| 6 | 1/64 (шестьдесят четвертая) | 4096 |
Кроме нот, любая мелодия обязательно содержит музыкальные паузы.
Определение. Паузы — это промежутки времени, когда ни один звук не звучит. Длительность музыкальных пауз принимает точно такие же значения, как и длительность нот.
В связи с этим удобно представить паузу как еще одну ноту. Ноту без звука. Такой ноте логично присвоить нулевой код.
















