62553 (588802), страница 5
Текст из файла (страница 5)
Здатність цифрових систем протистояти внутрішнім та зовнішнім завадам залежить від основного принципу їх будови, наприклад від вибраної структури сигналів, що передаються. Особливість електромагнітної сумісності цифрових схем зумовлена в основному двома причинами: складним характером імпульсних сигналів та випадковим характером паразитних зв’язків. Рівень внутрішніх завад по напрузі чи струму суттєво збільшується із зменшенням тривалості дії імпульсів завад.
Для систематизації методів забезпечення внутрішньої електромагнітної сумісності цифрових вузлів всі електричні з’єднання умовно поділяють на електрично довгі та електрично короткі. Електрично довгою називається лінія зв’язку, геометрична довжина якої співрозмірна з довжиною хвилі найбільш високочастотної складової спектра дискретного сигналу.
Часто електричну довжину лінії визначають відношенням затримки сигналу в лінії
до тривалості фронту імпульсу
. Якщо
>0,1
, то лінія вважається електрично довгою, якщо
<0,1
- електрично короткою. Час розповсюдження сигналів такий, що навіть при
=1 вже при геометричній довжині 14..25 мм лінія електрично довга.
Характеристичним параметром електрично довгої лінії є хвильовий опір
, де
- індуктивність лінії, Гн;
- ємність лінії, Ф. При проходженні сигналу по електрично довгій лінії, яка має неоднорідності хвильового опору окремих ділянок, відбувається відбиття падаючого сигналу напруги
або струму
. Відбитий сигнал накладається на падаючий і спотворює його.
Неоднорідність лінії може викликати внутрішній опір генератора сигналів, що підключений до початку лінії, або опір навантаження в кінці лінії, що не дорівнює хвильовому опору лінії зв’язку. Неоднорідність може бути породжена різного виду конструктивно-технологічним виконанням (одиничний об’ємний провідник, друкований провідник, коаксіальний кабель, екранований провідник, контакт з’єднання тощо), технологічними неоднорідностями (коливання товщини чи діелектричної проникності ізоляції коаксіального кабелю) або розгалуженнями лінії.
Відбита енергія характеризується коефіцієнтом відбиття по напрузі (
) або по струму (
):
,
,
.
Амплітуда відбитого імпульсу може бути визначена із відношень
,
.
Якщо лінія на своєму кінці навантажена на опір
(лінія узгоджена в кінці), то перепад напруги, діставшись через час
кінця лінії, не спотворюється, оскільки коефіцієнт відбиття по напрузі
=0 і тому
=0. Якщо лінія не узгоджена з одного або з двох кінців, то спотворення носять аперіодичний чи коливальний характер. При аперіодичному характері перехідного процесу швидкодія цифрових вузлів зменшується, оскільки зростає час зростання амплітуди сигналу до номінального значення і потрібно зменшити тактову частоту подачі імпульсів. При коливальному характері перехідного процесу може виникнути помилкове спрацювання логічних елементів через значну амплітуду коливання сигналу біля порогового значення. Крім того, викиди напруги можуть привести до пробою p-n-переходів напівпровідникових приладів чи до насичення транзисторів логічних елементів, що також знизить швидкодію.
Відбиття імпульсів в електрично коротких лініях не шкідливе через їх малу тривалість порівняно з тривалістю фронту. Завади в електрично коротких лініях зв’язку виникають між різними електричними з’єднаннями та різними компонентами в межах одного з’єднання. Хоча в цифрових вузлах застосовується схеми з малим коефіцієнтом підсилення по напрузі, наявність великого числа паралельних зв’язків, а також висока щільність компонування вимагає спеціальних заходів для забезпечення електромагнітної сумісності в коротких лініях. Паразитні зв’язки визначаються конструкцією вузлів та параметрами матеріалів (особливо діелектричною проникністю). Всі види внутрішніх паразитних зв’язків ділять на ємнісні, індуктивні і кондуктивні. Якщо сигнал (його спектральна складова), що наводить заваду, має гармонічний характер, то незалежно від характеру зв’язку амплітуда завади може бути визначеною за формулою
.
Щоб оцінити очікуване спотворення сигналів і завад треба скласти еквівалентну електричну схему і розрахувати електричні параметри лінії зв’язку (
,
,
,
,
,
), враховуючи конструктивні дані (геометричні розміри, фізичні параметри матеріалів, конструктивне виконання, кількість та взаємне розташування ліній зв’язку).
Взаємну ємність
між двома провідниками, що розташовані з однієї або з двох сторін друкованої плати (ДП), можна визначити за формулою
,
де
- питома ємність лінії, пФ/см;
L1 - довжина взаємного перекриття провідників, см (рис.3.13 а);
- приведена (ефективна) діелектрична проникність середовища,
.
εo≈εплεo<<εпл
а) б) в)
Рис. 3.13. Взаємна індукція провідників ДП: а – схема взаємного розташування; б – приведена діелектрична провідність εер при εер≈εпл; в – εер при εo<<εпл.
Наявність ізоляційної основи з великим значенням діелектричної проникності εпл є причиною виникнення великих паразитних ємнісних зв’язків і власної ємності між двома провідниками.
Значення питомої ємності лінії
суттєво залежить від параметрів конструкції, конструкційного виконання, кількості та взаємного розташування ліній зв’язку, геометричних розмірів, фізичних параметрів тощо. В довідниках наведені формули визначення
та
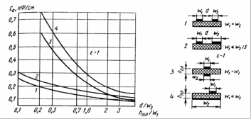
для характерних випадків. Питому ємність провідників друкованих плат зручно визначати, користуючись графічними залежностями для чотирьох типових випадків:
1 – провідники односторонньої ДП при
;
2 – провідники односторонньої ДП при
/3;
3 – провідники двосторонньої ДП при
;
4 – провідники двосторонньої ДП при
. (рис.3.14).
Рис.3.14. Питома взаємна ємність провідників ДП у вакуумі
В довідниках наведені аналогічні графіки для визначення хвильового опору зовнішніх і внутрішніх провідників ДП різного конструктивного виконання та хвильового опору друкованих ліній.
Графіком зручно користуватись для визначення величини
, а для більш змістовного аналізу способів зменшення
зручніше користуватись відповідною аналітичною формулою. Для типового випадку 1 маємо формулу:
.
Звідси можна вказати такі способи зменшення
:
-
збільшення відстані d між провідниками;
-
зменшення ширини проводів
та
, якщо це можливо; -
зменшення довжини одного з проводів, тобто зменшення L1.
Взагалі до схемотехнічного зменшення завад в електричних з’єднаннях відносяться:
-
використання елементної бази з максимальною завадостійкістю;
-
застосування LC-фільтрів в колах живлення;
-
компенсація завад (наприклад, скручених пар провідників) тощо.
До конструктивних методів відносяться:
-
зменшення числа конструкторсько-технологічних типів ліній зв’язку в одному колі;
-
ослаблення паразитного зв’язку шляхом рознесення джерел і приймачів завад або шляхом ортогонального розташування провідників в сусідніх парах ДП, зменшення довжини взаємодіючих ділянок, використання матеріалів з малою діелектричною проникністю;
-
збільшення числа точок заземлення і шин живлення;
-
часткове екранування ДП та введення міжобмоточних екранів в трансформаторах;
-
зменшення розмірів контактних з’єднань, наприклад, шляхом заміни роз’ємних з’єднань нероз’ємними.
До технологічних методів відносяться:
-
покращення однорідності ліній певного технологічного виконання (друкований провідник, коаксіальний кабель тощо);
-
зменшення розкиду параметрів елементів схеми за рахунок виготовлення їх в одному технологічному циклі (наприклад, пар транзисторів);
-
освоєння виробництва виробів з покращеними властивостями (кабельні вироби з екраном, еластомірні контакти).
Висновки
Конструювання обчислювальної техніки описано як складова більш широкого процесу, пов’язаного із розробкою технічного проекту, виробництвом і експлуатацією виробу. Оскільки процес конструювання не можна звести до окремих конструкторських рішень, прикладів та рекомендацій, тому велику увагу приділено створенню у студентів правильного й змістовного уявлення про загальні закономірності конструювання, його проблеми та перспективи.
Сучасне проектування ОТ вимагає системного підходу, при якому всі фізичні процеси розглядаються у взаємодії. Найбільше впливають на функціональні показники обчислювальної техніки електричні, електромагнітні, теплові та механічні процеси. Врахування взаємозв’язку між процесами можливе завдяки побудові фізичних і математичних моделей пристроїв, що потребує широкого використання комп’ютерної техніки.
При розгляді теплових процесів описано три види теплообміну: теплопровідність, конвекцію, випромінювання. Розглянуто передачу теплової енергії через плоскі й циліндричні стінки, способи збільшення теплопровідності. Описано теплові режими РЕЗ при нагріванні тіла внутрішнім і зовнішнім середовищем, методику розрахунку температур в різних зонах приладу. Розглянуто системи охолодження РЕЗ, зокрема вільне і примусове повітряне охолодження, вільне і примусове рідинне охолодження.
Механічні процеси суттєво впливають на надійність роботи РЕЗ, особливо небезпечними є механічні коливання на базі пружних елементів. Рівень коливань визначається за допомогою відповідної динамічної моделі, яка враховує інерційні, пружні, дисипативні та силові параметрів. Динамічну модель досить часто вдається спростити за рахунок приведення мас, сил, пружних параметрів і параметрів дисипації. Розглянуто вільні та вимушені коливання одномасової системи, віброзахист обчислювальної техніки, явище резонансу, види амортизаторів та схеми їх розташування.
Врахування електромагнітної сумісності є необхідним для забезпечення нормального функціонування виробів поруч з іншими виробами в умовах дії між ними та на них додаткових електромагнітних полів при виготовлені та експлуатації. Розглянуто джерела і приймачі завад, способи екранування електростатичного, магнітного та електромагнітного полів.
Перелік умовних позначень
ВЧ – високі частоти
ДЗ - джерела завад
ДП - друкована плата
ЗЗ - зв’язки завад
ІС – інтегральна схема
НЧ – низькі частоти
ОТ – обчислювальна техніка
ПЗ - приймачі завад
ПЧ – проміжні частоти
РЕЗ - радіоелектронний засіб
СЗТР - системами забезпечення теплового режиму
СО - системи охолодження
СТ - системи термостабілізації
ЦЖ - центр жорстокості
ЦМ - центр мас
Список літератури
-
Домнич В.И., Зинковский Ю.Ф. Конструирование РЭС. Оценка и обеспечение тепловых режимов. – К.: УМК ВО, 1990. – 240 с.
-
Дульнев Г.Н. Тепло- и массообмен в радиоэлектронной аппаратуре. – М.: Высшая школа, 1984. – 247 с.
-
Ненашев А.П. Конструирование радиоэлектронных средств. – М.: Высшая школа, 1990. – 432 с.
-
Справочник конструктора РЭА. Общие принципы конструирования / Под ред. Р.Г.Варламова. – М.: Сов. радио, 1980. – 480 с.
-
Фролов А.Д. Теоретические основы конструирования и надежности РЭА. – М.: Высшая школа, 1970. – 485 с.
-
Зелик А.Є. Програма, методичні вказівки і контрольне завдання з курсу „Основи конструювання і технології РЕЗ”. – Чернівці: Рута, 1994. – 47 с.
-
Зелик А.Є. Основи конструювання і технології радіоелектронних засобів. Навч. посібник до лаб. практикуму. – Чернівці: Рута, 1994. – 82 с.
-
Мюллер Скотт. Модернизация и ремонт ПК. - 12-е изд. - М.: Вильямс, 2001. – 1162 с.
-
Суровцев Ю.А. Амортизация радиоэлектронной аппаратуры. – М.: Сов. радио, 1974. – 160 с.
-
Барнс Д. Электронное конструирование: Методы борьбы с помехами. – М.: Мир, 1990. – 237 с.
-
Таненбаум Э. Архитектура компьютера. - 4-е изд. – СПб.: Питер, 2003. – 698 с.
-
Бабич М.П., Жуков І.А. Комп’ютерна схемотехніка: Навчальний посібник. – К.: МК-Прес, 2004. – 412 с.
-
Бройдо В. Л., Ильина О. П. Архитектура ЭВМ и систем: Учебник для вузов. – М.: Питер, 2005. – 720 с.
-
Цилькер Б.Я., Орлов С.А. Организация ЭВМ и систем: Учебник для вузов. - М.: Питер, 2005. – 672 с.
та
, якщо це можливо;














