25412 (586597), страница 3
Текст из файла (страница 3)
геологічний газоконденсатний родовище свердловина
Штормове газоконденсатне родовище розробляється як похилоскерованими так і вертикальними експлуатаційними свердловинами, 3 метою ізоляції водоносних пластів, а також для запобігання від обвалів стінок свердловин і запобігання прориву газу в інші пласти, свердловини обсаджено наступними колонами:
- водоізолююча Ø 630 мм;
- кондуктор Ø 324 мм;
- технічна Ø 245 мм;
- експлуатаційна Ø 146 ( або 168) мм.
Для устаткування експлуатаційних свердловин використовують фонтанну арматуру на робочий тиск до 35 МПа - АФК -80/65
35, або Foster 3118 – 2/16
5 (АФК 2-80/65
35.
За результатами розрахунків втрат тиску в стовбурі і швидкості газу біля башмака НКТ фонтанні труби пропонується використовують з умовним діаметром 89х6,5 мм та 60,3х5 мм.
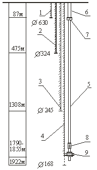
Свердловини, які розташовані на шельфі, повинні бути обладнані спеціальним внутрісвердловинним устаткуванням. Схема компонування підземного устаткування представлена на рисунку 2.1 для свердловини №4.
Рисунок 2.1 – Конструкція свердловини №4
1 – водоізолююча колона; 2 – кондуктор; 3 – технічна; 4 – експлуатаційна колона; 5 – колона насосно-компресорних труб Ø 60,3
5 мм, марки Е; 6 – колона насосно-компресорних труб Ø 88,9
5.5 мм, марки М; 7 – клапан-відсікач типу хлопавки, самозрівнювальний, що витягається на тросі, моделі „BFVE-10”; 8 – циркуляційний клапан моделі "L"; 9 – розмежувач трубного і затрубного простору (витягаємий пакер з подвійним захопленням моделі „FH").
2.2 Характеристика методів дослідження свердловин. Обробка
результатів дослідження
Метою гідродинамічних досліджень свердловин є визначення фільтраційних характеристик пласта при відомих змінах тиску і швидкості фільтрації газу (рідини) в деяких точках пласта або його досліджуваної ділянки.
Гідродинамічні методи досліджень, які застосовуються для визначення фільтраційних параметрів пласта, можна розділити на дві основні групи:
-
методи, що базуються на вивченні усталеної фільтрації рідин і газорідинних сумішей;
-
методи, що базуються на вивченні неусталеної фільтрації рідин, газів і газорідних сумішей в пласті.
До першої групи відносятся:
-
метод визначення параметрів пласта за даними відновлення тиску (рівня) в самій свердловині;
-
метод визначення параметрів пласта за даними простеження впливузміни режиму роботи даної сердловини на режими роботи віддалених від неї реагуюючих свердловин.
Методи другої групи досліджень мають деякі преваги перед перше групою. При проведенні таких досліджень визначається більша кількість параметрів пласта. До них відноситься визначення середіх фільтраційних характеристик в деякій області пласта та їх зміна певній віддалі від свердловини.
Це дозволяє уточнити границі поширення пласта, положення ниць різкої зміни фільтраційних параметрів пласта, положення границь фазової зміни насичуючих колектор рідин, місць перетоку із одного пласта в інший. Методи другої групи менш трудомісткі і дозволяють провести дослідження з меншими затратами часу і засобів.
Усталений режим фільтрації
Усталеного припливу рідини у свердловину q(t)=const в реальних пластах не існує, оскільки такий приплив можливий тільки при постійному живленні пласта, рівному установленому відбору рідини і свердловини на протязі необмеженого часу. Однак при довготривалій роботі свердловини в обмеженому часі спостережень зміни припливу стають непомітними в межах точності вимірювальних приладів і приплив рідини в цьому випадку приймається практично стаціонарними, підлеглим законам усталеної фільтрації.
Таким чином, при дослідженні свердловин використовується метод послідовної зміни стаціонарного стану.
Дослідження свердловин при усталених режимах фільтрації полягає в одержанні залежності дебіту від величини депресії (індикаторної діаграми) Q=f(Pпл-Pвиб).
Індикаторна діаграма характеризує продуктивність свердловини і може бути використана для визначення проникності пласта. Отримана залежність дебіту від депресії виражається прямою, випуклою чи вгнутою до осі дебіту індикаторною діаграмою. Якщо пряма і зворотна індикаторні криві співпадають або відрізняються між собою не більше ніж на 2-3 %, то результати досліджень обробляють за формулами стаціонарного припливу, а якщо вони істотно розходяться, то обробці не підлягають (рисунок 2.1).
Рисунок 2.1 – Приклади співпадання і розходження індикаторних кривих при збільшенні і зменшенні депресії: а) співпадання кривих; в) розходження кривих
а) якщо на всьому інтервалі дослідження діаграма має форму прямої, то справедлива прямолінійна залежність дебіту від депресії, яка виражається рівнянням Дарсі:
(2.8)
де
- дебіт і газу, м3/с;
- коефіцієнт продуктивності, м3/(Па*с); ∆Р – депресія, Па; Р0 - атмосферний тиск, Па.
б) для обробки випуклої (по відношенню Р0 до осі дебітів індикаторної діаграми служать двочленні формули
(2.9)
Коефіцієнт А – це гідравлічний опір пласта
(2.10)
Якщо вказану залежність виразити через
, тоді вгнута індикаторна діаграма стане прямою, що відсіче на осі ординат відрізок А, а тангенс кута її нахилу буде рівний В.
Значення коефіцієнта А можна визначити за формулою
(2.11)
де μ – в’язкість газу, Па*с; k – проникність, м2; h – потужність пласта, м; Rк – радіус контуру живлення свердловини, м;rс – радіус свердловини, м; С – коефіцієнт недосконалості свердловини.
Для визначення параметрів пласта будують залежність
(2.12)
де
пластовий тиск, Па;
- вибійний тиск, Па.
За відрізком А, який відсікається на осі ординат, визначають коефіцієнт продуктивності
(м3/Па.с) і вираховують гідропровідність пласта за формулою:
(2.13)
Вгнуті форми індикаторних кривих можуть бути отримані при дослідженні покладів, складених пластами різної проникності і зв'язані з
під'єднанням або від'єднанням окремих пластів при зміні депресії у свердловині. При збільшенні і наступному зменшенні депресії (прямий і зворотний хід зміни режиму фільтрації) спостерігається різний характер зміни таких діаграм, так як при зворотному ході точки в координатах Q=f(Pв) можуть накладатися або не накладатися на індикаторну діаграму прямого ходу
Зворотна індикаторна діаграма (якщо при зворотному ході спостерігається накладання точок) викликається більш складними процесами,, залежними від фізичних властивостей пластів і наповнюючих їх рідин. Методика обробки таких діаграм, запропонована В.Є.Колбіковим, з деякими змінами, введеними в УкрНДГРІ, викладена нижче:
а) будується індикаторна крива в координатах Q=f(Pв), початок координат відповідає нульовому дебіту (вісь абсцис) і пластовому тиску (вісь ординат) (рис. 2.2);
б) всі точки індикаторної кривої, отримані в результаті досліджень, з'єднуються ламаною лінією, при цьому перший відрізок (0 - 1) характерезує продуктивність першого пласта (або групи пластів) з працюючого інтервалу; наступний відрізок (1-2) характерезує продуктивність першого і другого під'єднаних пластів; відрізок (2 - 3) характеризує продуктивність перших двох і третього під'єднаного пласта і т.д.
Рисунок 2.2 – Вгнута індикаторна крива
Ці сумарні коефіцієнти визначаються таким чином:
(2.14)
(2.15)
Дебіти під’єднаних пластів визначають наступним чином
q2=Q2 - (Q1+η1 (Pвиб1 - Pвиб2));
q3=Q3 - (Q2+η1+2 (Pвиб2 - Pвиб3)); (2.16)
qn=Qn - (Qn-1+η1+2+3+…(n-1) (Pвиб n-1 - Pвиб n))
де qn – дебіт під’єднаного пласта; Qn – сумарний дебіт пластів; η1+2+3+…(n-1) - сумарний коефіцієнт продуктивності.
При збільшенні депресії загальне збільшення дебіту відбувається не тільки за рахунок під’єднання нового пласта, але і за рахунок збільшення дебіту уже працюючих пластів
(2.17)
де
=
(Pвиб1 - Pвиб.n)
=
(Pвиб2 - Pвиб.n)(2.18)
=
(Pвиб.n-1 - Pвиб.n)
Коефіцієнт продуктивності кожного під’єднаного пласта
(2.19)
Визначаємо коефіцієнти продуктивності кожного під’єднаного пласта і за формулою Дюпюї знайдемо їх гідропровідність
(2.20)
Неусталений режим фільтрації
Обробка даних дослідження свердловин при неусталеному режимі фільтрації базується на теорії пружності пластової системи. Закономірності кривих відновлення тиску після зупинки свердловин, виведені з основних теоретичних положень пружного режиму знайшли універсальне застосування в промислових дослідженнях свердловин.
Усі методи досліджень виходять з наступних: приймається, що перед зупинкою дебіт свердловини усталений, тиск довкола неї розподілився за стаціонарним законом, пласт характеризується постійною потужністю і однорідною проникністю; приплив однофазний.
Найбільш простий аналітичний вираз кривої відновлення вибійного тиску отримано для свердловини в необмеженому однорідному пласті зупиненої після роботи на стаціонарному режимі радіальної фільтрації при повній відсутності припливу після зупинки (формула запропонована М.Маскетом для точкового джерела в необмеженому пласті):
(2.21)
де
— біжучий дебіт свердловини перед зупинкою;
(-х) – інтегральна експоненційна функція; Т - час припливу рідини (або газу) до свердловини; t – час відновлення пластового тиску; χ – п'єзопровідність.
Приплив рідини з пласта після закриття свердловини поступово припиняється і пісдя деякого часу крива відновлення вибійного тиску наближається до кривої підвищення тиску у свердловині після її раптової зупинки.
Обробка при даному припущенні проводиться за методом Хорнера, методом дотичної.
Практика визначення параметрів пласта і свердловини показала, що не завжди за 2-3 години не вдається отримати криву відновлення тиску, тобто не встигає сформуватись прямолінійна ділянка лінії
. Крім того форма кривих відновлення тиску при наявності притоку в свердловину така, що практично завжди можна виділити прямолінійний відрізок і прийняти помилково його за асимптотичну пряму, яка відповідає фільтраційним властивостям пласта. Щоб цого уникнути, запропоновані методи для обробки кривих, які використовують початкову ділянку (метод Ю.П. Борисова, метод Чарного-Умрихіна, метод Е.Б. Чекалюка, метод детермінованих моментів).
В основу методу Хорнера взято рівняння (2.21), яке перетворене таким чином
(2.22)
















