25317 (586590), страница 7
Текст из файла (страница 7)
Проводя эти мероприятия, предприятие не только продлевает срок службы оборудования, но и получает дополнительную добычу нефти.
Защита скважинного оборудования от механических примесей и вредного влияния газа осуществляется с помощью установки на приёме насоса газового и песочного якорей, а так же применения износостойкого оборудования, которое позволяет установке надежно работать при довольно высоком выносе механических примесей.
Для борьбы с газом в ОАО «Аганнефтегазгеология», как и во многих других предприятиях, используются газосепараторы различных конструкций. Чаще всего используют газосепараторы фирмы «Алнас».
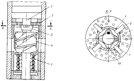
Модуль газосепаратор специальный МГСБТ5, МГСБТ5А (рис. 3.8) предназначен для обеспечения работы погружных центробежных насосов при откачке из нефтяных скважин пластовой жидкости с повышенным газосодержанием и восприятия осевых сил, действующих на валы секций насоса.
Модуль предназначен для комплектации насосов без осевых опор вала в секциях. Может использоваться для комплектации насосов с осевыми опорами вала в секциях и поставляться как самостоятельное изделие.
В модуле обеспечен осевой вход откачиваемой среды.
Вал модуля имеет диаметр 20 мм (в габарите 5) и 22 мм (в габарите 5А). Вал снабжен осевой опорой, выполненной из конструкционной керамики – карбида кремния, и радиальными опорами, выполненными из твердого сплава.
Различные исполнения модуля обеспечивают соединения с секцией насоса типа «болт-тело» по шести или восьми точкам и валами диаметром 17 мм и 20 мм (в габарите 5), и валами диаметром 17 мм, 20 мм и 22 мм (в габарите 5А).
Комплектуется шлицевыми муфтами для соединения с валами насоса и протектора гидрозащиты. Борьба с коррозией подземного оборудования в ОАО «Аганнефтегазгеология» заключается, в основном, в применении оборудования коррозионно-защитного исполнения. В течение прошедшего года формировались фонды скважин, осложненных коррозией. Для этого просматривались дефектовки насосов, акты ревизии НКТ, данные лаборатории по кислотности среды и минерализации. Для борьбы с АСПО на месторождении используют магнитные активаторы, а также подача ингибиторов с помощью специальных дозаторов. Рассмотрим эти мероприятия подробнее.
3.3.1 Измельчающее устройство ЭЦН
Для улучшения работы УЭЦН в условиях повышенного выноса механических примесей в ОАО «Аганнефтегазгеология» предлагается применить следующее приспособление - измельчающее устройство, которое позволит устранить причину отказов ЭЦН из-за попадания в его рабочие органы механических примесей ИМ -НМС (рис.3.9).
Рисунок 3.9 – Общий вид измельчителя мехпримесей ЭЦН
Измельчитель механических примесей предназначен для разрушения и измельчения механических примесей, находящихся в откачиваемой жидкости. ИМ устанавливается на нижний опорный подшипник УЭЦН.
Измельчающее устройство монтируется в приемной части насоса и состоит из шнека 4, пружины 5, неподвижного диска 2, кулачка 9, кольца 3, ножей 6. При вращении вала насоса 1 кулачок 9 упирается в пружину 10 и приводит во вращение кольцо с ножами 6 (рис.3.10).Ножи измельчают сравнительно нетвердые включения, например, кусочки парафина, смолистых отложений, а также волокнистые образования. Размельчение этих примесей происходит за один оборот вала. Если же в потоке жидкости встречается не поддающееся размельчению твердое тело, вращение ножей прекращается из-за упора одного из них в это твердое тело.
Вал насоса вместе с кулачком начинает проворачиваться относительно кольца 3, преодолевая усилие пружины. Кулачок и пружина поочередно приводят ножки в возвратно-поступательное движение в радиальном направлении при помощи направляющих пазов 8. Зубцы ножей при этом работают как пилы. Шнек обеспечивает проталкивание частиц через диск 2, имеющий отверстия 7 диаметром 2 мм.
Рисунок 3.10– Измельчающее устройство ЭЦН
1-вал ЭЦН; 2-диск; 3-кольцо; 4-шнек; 5,10-пружина; 6-ножи; 7-отверстия; 8-направляющие пазы; 9-кулачок.
В 2006 году внедрено пять УЭЦН с измельчителем механических примесей в скважинах со средней наработкой на отказ 72 суток. Из них отказало пять установок по причине снижения изоляции системы кабель-ПЭД со средней наработкой 101,7 суток. При дефектации оборудования выявлены твердые отложения и износ рабочих органов ЭЦН. В работе осталась одна установка с текущей наработкой 246 суток.
3.3.2 Комплект песочного якоря с противополетным оборудованием
Для снижения попадания механических примесей в ЭЦН предлагается комплект противополетного оборудования (ППО) фирмы Тайберсон" (США) и песочного якоря (рис. 3.11).
Песочный якорь 4 изготавливается из НКТ диаметрами 76 и 89 мм, имеет фильтр с отверстиями диаметром 3 мм и накопитель 5, длина которого рассчитывается в зависимости от концентрации песка в добываемой продукции и желаемого межочистного периода.
Сборка ППО 'Тайберсон" и песочного якоря устанавливается на расчетной глубине (обычно 30 - 40 м ниже зоны подвески ЭЦН 7) полностью разобщая пласт и ЭЦН. Продукция скважины поступает в якорь 4 через отверстия фильтра, песок оседает в накопителе 5, пластовая жидкость через клапан-отсекатель 2 ППО 3 поступает в насос.
На восьми скважинах НК «РуссНефть» с низкой наработкой ЭЦН из-за пескопроявления были спущены комплекты песочного якоря с ППО "Тайберсон". В результате наработка на отказ ЭЦН по этим скважинам в среднем увеличилась в 3,7 раза, число текущих ремонтов за год снизилось с 17 до I.
3.3.3 Шарнирное устройство для работы ЭЦН в искривленных скважинах
По актам ремонтов скважин с УЭЦН установлено, что основной причиной остановки скважин в ремонт является падение установок на забой. Анализ причин обрывов ЭЦН в скважинах со сверхнормативным искривлением ствола показывает [2], что наибольшее число аварий обусловлено разрушением НКТ и соединительных элементов УЭЦН. Основной причиной разрушения соединительных элементов является их ослабление при прохождении ЭЦН участков максимального искривления. При этом на часть болтов нагрузка возрастает, и они разрушаются.
В настоящее время разработаны и внедрены устройства для повышения устойчивости работы УЭЦН в скважинах со сверхнормативным искривлением ствола. Устройства обеспечивают снятие изгибающих нагрузок, действующих на установку как при прохождении интервалов с интенсивным набором кривизны при спуске, так и в период ее эксплуатации в зоне с набором кривизны выше допустимого.
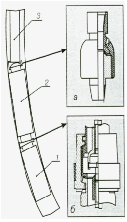
Для устранения изгибающего момента, передаваемого от НКТ к ЭЦН, разработано шарнирное устройство, размещаемое в точке подвеса погружного агрегата к НКТ (рис. 3.12).
Шарнирное устройство допускает перекос оси установки относительно оси НКТ до 5°. Особое внимание уделено совершенствованию узла соединения насоса с электродвигателем, как основного элемента, на долю которого приходится наибольшее число разрушений.
Рисунок 2.13- Шарнирное устройство ЭЦН
а – устройство шарнирное; б-шарнирно-кулачковая муфта; 1-погружной электродвигатель; 2-ЭЦН; 3-НКТ
Вместо стандартного соединения насоса с протектором предложена шарнирно-кулачковая муфта, состоящая из карданного и сферического шарниров, кулачковой муфты, объединенных в одну сбоку. повышается устойчивость его работы. Муфта допускает отклонение осей насоса и электродвигателя до 4°, что исключает возникновение изгибающих нагрузок. ЭЦН, оснащенный комплектом из шарнирного устройства и шарнирно-кулачковой муфты, свободно проходит по стволу искривленной скважины, в результате
3.3.4 Внедрение УЭЦН с адресной доставкой реагента посредством дозирования через гибкий трубопровод фирмы «ФЛЭК»
Эффективность предупреждения солеотложений и асфальто-смолисто-парафиновых отложений (АСПО) на нефтепромысловом оборудовании зависит не только от ингибиторов, но и от технологии их применения.
При выборе технологии учитывают геологические особенности разрабатываемого месторождения, состав попутно добываемых вод, причины и условия отложения солей, их состав, длительность межремонтного периода работы оборудования, климатические условия и т.д.
В основе технологии применения ингибиторов соле- и парафиноотложений лежит способ дозирования ингибитора. К выбору способа дозирования предъявляют следующие требования:
-
надежность и универсальность, т.е. возможность применения при различных способах эксплуатации скважин;
-
возможность защиты скважины и оборудования по всей технологической линии;
-
обеспечение стабильного дозирования реагента;
-
простота технологии и обслуживания;
-
минимальная трудоемкость и металлоемкость;
-
возможность применения при любых климатических условиях;
-
экономичность расходования реагента;
-
безопасность способа для обслуживающего персонала и удовлетворения требованиям охраны недр и окружающей среды.
На промыслах применяют следующие способы дозирования ингибитора солеотложений:
-
непрерывное дозирование в скважину с использованием поверхностных дозировочных насосов или глубинных дозаторов;
-
периодическая подача ингибитора в затрубное пространство скважины;
-
периодическое задавливание ингибитора в призабойную зону пласта (залповая подача реагента);
По принципу размещения применяемые типы дозаторов можно разделить на две группы:
-
наземные - подают реагент в затрубное пространство скважины;
-
скважинные - подают реагент непосредственно на прием насоса.
Обычно оценка эффективности их применения производится по признаку доступности для осмотра и обслуживания.
Проведенные исследования с целью оценки технологической эффективности различных способов подачи реагентов в скважину, позволяют считать метод затрубного дозирования малоэффективным. При дозировании в затрубное пространство химреагент, проходя столб газожидкостной смеси, достигающий сотни, а иногда и тысячи метров, срабатывает и к приему насосов или башмаку труб поступает лишенным активности.
С целью достижения эффекта приходится намеренно увеличивать дозу реагента, что при его высокой стоимости отражается на себестоимости добычи нефти и снижает экономичность дозатора. Следует иметь в виду еще один фактор: многие реагенты при снижении температуры окружающей среды увеличивают вязкость, а в зимнее время замерзают. Это затрудняет операции с ними.
В ОАО «Аганнефтегазгеология» НК «Русснефть» разработана программа проведения опытно-промышленных испытаний ингибитора солеотложения «ФЛЭК-ИСО-4». Согласно разработанной программы поставлено 2 наземных блока дозирования химического реагента через импульсную трубку на приём насоса (рис.3.13).
Рисунок 3.13 - Схема подачи ингибитора солеотложений в скважину с ЭЦН при помощи блока дозирования
Результаты применения наземного дозатора ингибитора солеотложения «ФЛЭК-ИСО-4»:
-
Куст № 1 скв. 1053 Э25-1700г/c - в работе 97 суток;
-
куст 6 скв. 2005 Э125-1700 отработала 40 суток, отказала по причине Rк-0.
Во время работы УЭЦН в дозировочном насосе было обнаружено затвердевание ингибитора. Таким образом, подача ингибитора фактически не осуществлялась. При дефектации ЭЦН на рабочих органах солевых отложений не было. По скважине 1049 куста 310 также выявлено затвердевание ингибитора и засорение гибкого трубопровода.
В настоящее время специалистами фирмы «ФЛЭК» в рамках опытно-промышленных испытаний ведется оптимальный подбор ингибитора солеотложений, применимого для данной технологии обработок глубинного насосного оборудования.
3.4 Вредное влияние АСПО на работу подземного оборудования добывающих скважин
Опыт механизированной эксплуатации скважин на нефтяных месторождениях показывает, что в течение некоторого времени, исчисляемого от 1 до 4 месяцев, на поверхности промыслового оборудования образуются отложения парафина и асфальто-смолистых веществ.
Поздняя стадия разработки, на которой находится в настоящее время большинство нефтяных и газовых месторождений, в силу ряда известных причин способствует росту доли осложнений, связанных с эмульсеобразованием, АСПО и отложениями неорганических солей, имеющих место по всей технологической цепочке добычи, транспорта и подготовки нефти и газа. Подъем скважинной жидкости, представляющей собой водогазонефтяную эмульсию, от продуктивного пласта к устью, связан с изменением давления, температуры, скорости движения потока.
Качественная оценка процессов, происходящих в скважине, свидетельствует о главенствующей роли скорости движения потока. При малых скоростях происходит образование АСПО и солеотложений, при высоких скоростях – образование эмульсий и повышение вязкости продукции.
Причины и условия образования АСПО
Известны две стадии образования и роста АСПО:
-
первой является зарождение центров кристаллизации и рост кристаллов парафина непосредственно на контактирующей с нефтью поверхности;
-
на второй стадии происходит осаждение на покрытую парафином поверхность более крупных кристаллов.
При насосном способе эксплуатации давление на приеме насоса может быть меньше, чем давление насыщения нефти газом. Это может привести к выпадению парафина в приемной части насоса и на стенках эксплуатационной колонны. В колонне НКТ, выше насоса, можно выделить две зоны: - непосредственно над насосом, где давление резко возрастает и становится больше давление насыщения. Вероятность АСПО в этой зоне минимальная; - зона снижения давления до давления насыщения и ниже, где начинается интенсивное выделение парафина.
















